TOP
|
特許
|
意匠
|
商標
特許ウォッチ
Twitter
他の特許を見る
10個以上の画像は省略されています。
公開番号
2025153608
公報種別
公開特許公報(A)
公開日
2025-10-10
出願番号
2024056164
出願日
2024-03-29
発明の名称
ヘリコプター搭載通信装置およびヘリコプター搭載通信装置における通信方法
出願人
三菱電機株式会社
代理人
弁理士法人深見特許事務所
主分類
H04B
7/08 20060101AFI20251002BHJP(電気通信技術)
要約
【課題】複数のアンテナ装置の中から選択するアンテナ装置を切り替えたときに、アンテナ装置から出力される信号との同期状態を確立するまでに要する時間を短くすることできるヘリコプター搭載通信装置およびヘリコプター搭載通信装置における通信方法を提供する。
【解決手段】変復調器24は、第1アンテナ装置21Aから出力された第1の受信信号の復調処理をするともに、第1の受信信号の品質を算出する。復調器25は、第2アンテナ装置21Bから出力された第2の受信信号の復調処理をするともに、第2の受信信号の品質を算出する。変復調器24は、変復調器24が第1の受信信号と同期状態でないときに、第2の受信信号の品質に基づいて、変復調器24の前方保護段数を設定する。復調器25は、復調器25が第2の受信信号と同期状態でないときに、第1の受信信号の品質に基づいて、復調器25の前方保護段数を設定する。
【選択図】図3
特許請求の範囲
【請求項1】
ヘリコプターに設置され信号を受信する第1アンテナ装置と、
前記第1アンテナ装置から出力される第1の受信信号の第1の復調処理をするともに、前記第1の受信信号の品質を算出する第1の復調器と、
前記ヘリコプターに設置され前記信号を受信する第2アンテナ装置と、
前記第2アンテナ装置から出力される第2の受信信号の第2の復調処理をするともに、前記第2の受信信号の品質を算出する第2の復調器と、を備え、
前記第1の復調処理は、前記第1の受信信号との同期処理を含み、前記第2の復調処理は、前記第2の受信信号との同期処理を含み、
前記第1の復調器は、前記第1の復調器が前記第1の受信信号と同期状態でないときに、前記第2の受信信号の品質に基づいて、前記第1の復調器の前方保護段数を設定し、前記第2の復調器は、前記第2の復調器が前記第2の受信信号と同期状態でないときに、前記第1の受信信号の品質に基づいて、前記第2の復調器の前方保護段数を設定する、ヘリコプター搭載通信装置。
続きを表示(約 3,100 文字)
【請求項2】
前記第1の受信信号の品質は、前記第1の受信信号の受信レベルであり、
前記第2の受信信号の品質は、前記第2の受信信号の受信レベルである、請求項1に記載のヘリコプター搭載通信装置。
【請求項3】
前記第1の復調器は、前記第1の受信信号と同期状態でないとき、かつ前記第2の受信信号の受信レベルが定められた基準値以上のときに、前記第1の復調器の前方保護段数を減少させ、前記第2の復調器は、前記第2の受信信号と同期状態でないとき、かつ前記第1の受信信号の受信レベルが定められた基準値以上のときに、前記第2の復調器の前方保護段数を減少させる、請求項2に記載のヘリコプター搭載通信装置。
【請求項4】
前記第1の復調器は、前記第1の復調器が前記第1の受信信号と同期状態でなく、かつ前記第2の復調器が前記第2の受信信号と同期状態のときに、前記第2の受信信号の受信レベルに基づいて、前記第1の復調器の前方保護段数を設定し、前記第2の復調器は、前記第2の復調器が前記第2の受信信号と同期状態でなく、かつ前記第1の復調器が前記第1の受信信号と同期状態のときに、前記第1の受信信号の受信レベルに基づいて、前記第2の復調器の前方保護段数を設定する、請求項3に記載のヘリコプター搭載通信装置。
【請求項5】
前記第1アンテナ装置は、搭載しているアンテナの向きを表わす第1方位角および第1高度角を検出し、
前記第2アンテナ装置は、搭載しているアンテナの向きを表わす第2方位角および第2高度角を検出し、
前記第1の復調器は、前記第1方位角および前記第1高度角に基づいて、前記第1アンテナ装置への前記信号が前記ヘリコプターの機体によって遮られた第1の機体ブロック状態であるか否かを判定し、
前記第1の復調器は、前記第1の復調器が前記第1の受信信号と同期状態でなく、かつ前記第2の復調器が前記第2の受信信号と同期状態であり、かつ前記第1アンテナ装置への前記信号が前記第1の機体ブロック状態でないときに、前記第2の受信信号の受信レベルに基づいて、前記第1の復調器の前方保護段数を設定し、
前記第2の復調器は、前記第2方位角および前記第2高度角に基づいて、前記第2アンテナ装置への前記信号が前記ヘリコプターの機体によって遮られた第2の機体ブロック状態であるか否かを判定し、
前記第2の復調器は、前記第2の復調器が前記第2の受信信号と同期状態でなく、かつ前記第1の復調器が前記第1の受信信号と同期状態であり、かつ前記第2アンテナ装置への前記信号が前記第2の機体ブロック状態でないときに、前記第1の受信信号の受信レベルに基づいて、前記第2の復調器の前方保護段数を設定する、請求項4に記載のヘリコプター搭載通信装置。
【請求項6】
前記第1アンテナ装置および前記第2アンテナ装置を制御するアンテナ制御装置をさらに備え、
前記第1アンテナ装置は、搭載しているアンテナの向きを表わす第1方位角および第1高度角を検出し、
前記第2アンテナ装置は、搭載しているアンテナの向きを表わす第2方位角および第2高度角を検出し、
前記アンテナ制御装置は、前記第1方位角および前記第1高度角に基づいて、前記第1アンテナ装置への前記信号が前記ヘリコプターの機体によって遮られた第1の機体ブロック状態であるか否かを判定するとともに、前記第1の復調器に前記第1の機体ブロック状態を通知し、
前記第1の復調器は、前記第1の復調器が前記第1の受信信号と同期状態でなく、かつ前記第2の復調器が前記第2の受信信号と同期状態であり、かつ前記第1アンテナ装置への前記信号が前記第1の機体ブロック状態でないときに、前記第2の受信信号の受信レベルに基づいて、前記第1の復調器の前方保護段数を設定し、
前記アンテナ制御装置は、前記第2方位角および前記第2高度角に基づいて、前記第2アンテナ装置への前記信号が前記ヘリコプターの機体によって遮られた第2の機体ブロック状態であるか否かを判定するとともに、前記第2の復調器に前記第2の機体ブロック状態を通知し、
前記第2の復調器は、前記第2の復調器が前記第2の受信信号と同期状態でなく、かつ前記第1の復調器が前記第1の受信信号と同期状態であり、かつ前記第2アンテナ装置への前記信号が前記第2の機体ブロック状態でないときに、前記第1の受信信号の受信レベルに基づいて、前記第2の復調器の前方保護段数を設定する、請求項4に記載のヘリコプター搭載通信装置。
【請求項7】
ヘリコプターに設置され、搭載しているアンテナの方位角および高度角を検出する第1アンテナ装置と、
前記第1アンテナ装置から出力された第1の受信信号の第1の復調処理をする第1の復調器と、
前記ヘリコプターに設置され、搭載しているアンテナの方位角および高度角を検出する第2アンテナ装置と、
前記第2アンテナ装置から出力された第2の受信信号の第2の復調処理をする第2の復調器と、を備え、
前記第1の復調処理は、前記第1の受信信号との同期処理を含み、前記第2の復調処理は、前記第2の受信信号との同期処理を含み、
前記第1の復調器は、前記第1の復調器が前記第1の受信信号と同期状態でないときに、前記第1アンテナ装置の方位角および高度角に基づいて、前記第1の復調器の前方保護段数を設定し、前記第2の復調器は、前記第2の復調器が前記第2の受信信号と同期状態でないときに、前記第2アンテナ装置の方位角および高度角に基づいて、前記第2の復調器の前方保護段数を設定する、ヘリコプター搭載通信装置。
【請求項8】
前記第1の復調器が前記第1の受信信号と同期状態であるか否か、および前記第2の復調器が前記第2の受信信号と同期状態であるか否かに基づいて、前記第1の復調器から出力されるデータと、前記第2の復調器から出力されるデータとのうち、いずれかを外部に出力する切替装置を備える、請求項1~7のいずれか1項に記載のヘリコプター搭載通信装置。
【請求項9】
ヘリコプターに設置された第1アンテナ装置および第2アンテナ装置を備えたヘリコプター搭載通信装置における通信方法であって、
前記第1アンテナ装置が、信号を受信することと、
前記第2アンテナ装置が、信号を受信することと、
第1の復調器が、前記第1アンテナ装置から出力された第1の受信信号との同期処理を含む前記第1の受信信号の復調処理をすることと、
前記第1の復調器が、前記第1の受信信号の品質を算出することと、
第2の復調器が、前記第2アンテナ装置から出力された第2の受信信号との同期処理を含む前記第2の受信信号の復調処理をすることと、
前記第2の復調器が、前記第2の受信信号の品質を算出することと、
前記第1の復調器が、前記第1の受信信号と同期状態でないときに、前記第2の受信信号の品質に基づいて、前記第1の復調器の前方保護段数を設定することと、
前記第2の復調器が、前記第2の受信信号と同期状態でないときに、前記第1の受信信号の品質に基づいて、前記第2の復調器の前方保護段数を設定することと、を備えたヘリコプター搭載通信装置の通信方法。
発明の詳細な説明
【技術分野】
【0001】
本開示は、ヘリコプター搭載通信装置およびヘリコプター搭載通信装置における通信方法に関する。
続きを表示(約 1,800 文字)
【背景技術】
【0002】
ヘリコプターに搭載されて、地上局から通信衛星を介して送信されてくる信号を受信するヘリコプター搭載通信装置が知られている。通信衛星とヘリコプター搭載通信装置のアンテナとの間の伝播路をヘリコプターの回転翼などが横切ることにより通信遮断が生じる場合がある。このような問題を解決するために、たとえば、特許文献1に記載の装置は、複数のアンテナを備え、地上局から通信衛星を介して送信された送信波を複数のアンテナを切り換えて時間ダイバシティ受信する。
【先行技術文献】
【特許文献】
【0003】
特開2011-24038号公報
【発明の概要】
【発明が解決しようとする課題】
【0004】
特許文献1に記載の装置では、たとえば、ヘリコプターが旋回することにより、ヘリコプターの機体が通信衛星とヘリコプター搭載通信装置のアンテナとの間の伝播路を遮り、通信が遮断された場合、複数のアンテナの中から選択するアンテナを切り替えると、アンテナから出力される信号との同期状態を確立するまでに時間を要する。その結果、通信の連続性が確保できなくなることがある。
【0005】
それゆえに、本開示の目的は、複数のアンテナ装置の中から選択するアンテナ装置を切り替えたときに、アンテナ装置から出力される信号との同期状態を確立するまでに要する時間を短くすることができるヘリコプター搭載通信装置およびヘリコプター搭載通信装置における通信方法を提供することである。
【課題を解決するための手段】
【0006】
本開示のヘリコプター搭載通信装置は、ヘリコプターに設置され信号を受信する第1アンテナ装置と、第1アンテナ装置から出力される第1の受信信号の第1の復調処理をするともに、第1の受信信号の品質を算出する第1の復調器と、ヘリコプターに設置され信号を受信する第2アンテナ装置と、第2アンテナ装置から出力される第2の受信信号の第2の復調処理をするともに、第2の受信信号の品質を算出する第2の復調器と、を備える。第1の復調処理は、第1の受信信号との同期処理を含み、第2の復調処理は、第2の受信信号との同期処理を含む。第1の復調器は、第1の復調器が第1の受信信号と同期状態でないときに、第2の受信信号の品質に基づいて、第1の復調器の前方保護段数を設定する。第2の復調器は、第2の復調器が第2の受信信号と同期状態でないときに、第1の受信信号の品質に基づいて、第2の復調器の前方保護段数を設定する。
【発明の効果】
【0007】
本開示によれば、複数のアンテナ装置の中から選択するアンテナ装置を切り替えたときに、アンテナ装置から出力される信号との同期状態を確立するまでに要する時間を短くすることできる。
【図面の簡単な説明】
【0008】
実施の形態1のヘリコプター衛星通信システムを表わす図である。
ヘリコプター搭載通信装置のアンテナ部分の搭載状態の一例を表す外観図である。
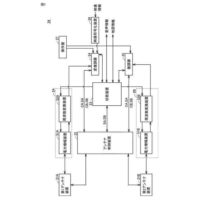
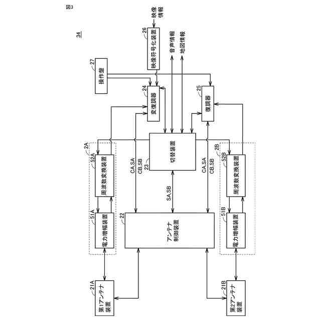
実施の形態1のヘリコプター搭載通信装置34の構成を表わす図である。
変復調器24の構成を表わす図である。
復調器25の構成を表わす図である。
第1の受信信号および第2の受信信号のフレームの構成を表わす図である。
変復調器24の状態遷移を表わす図である。
復調器25の状態遷移を表わす図である。
実施の形態1の第1の受信信号を処理する手順を表わすフローチャートである。
実施の形態2のヘリコプター搭載通信装置34Aの構成を表わす図である。
実施の形態2の第1の受信信号を処理する手順を表わすフローチャートである。
【発明を実施するための形態】
【0009】
以下、実施の形態について図面を参照して説明する。なお、図中同一または相当する部分には同じ符号を付し、その説明は原則として繰り返さない。
実施の形態1.
【0010】
図1は、実施の形態1のヘリコプター衛星通信システムを表わす図である。図2は、ヘリコプター搭載通信装置のアンテナ部分の搭載状態の一例を表す外観図である。ヘリコプター衛星通信システムは、地上局32、通信衛星33、およびヘリコプター1を有する。
(【0011】以降は省略されています)
この特許をJ-PlatPat(特許庁公式サイト)で参照する
関連特許
三菱電機株式会社
冷蔵庫
18日前
三菱電機株式会社
扇風機
16日前
三菱電機株式会社
増幅器
22日前
三菱電機株式会社
照明装置
9日前
三菱電機株式会社
収集装置
29日前
三菱電機株式会社
空気調和機
24日前
三菱電機株式会社
保護リレー
17日前
三菱電機株式会社
半導体装置
17日前
三菱電機株式会社
加熱調理器
3日前
三菱電機株式会社
回路遮断器
3日前
三菱電機株式会社
ねじ締め装置
22日前
三菱電機株式会社
点検管理装置
16日前
三菱電機株式会社
炊飯システム
18日前
三菱電機株式会社
貯湯式給湯機
18日前
三菱電機株式会社
調理システム
18日前
三菱電機株式会社
光源デバイス
9日前
三菱電機株式会社
貯湯式給湯機
9日前
三菱電機株式会社
空気清浄装置
3日前
三菱電機株式会社
空調システム
11日前
三菱電機株式会社
空調システム
22日前
三菱電機株式会社
制御システム
9日前
三菱電機株式会社
貯湯式給湯機
19日前
三菱電機株式会社
樹脂成形用金型
22日前
三菱電機株式会社
移動体監視装置
8日前
三菱電機株式会社
道路情報補正装置
24日前
三菱電機株式会社
運転支援システム
16日前
三菱電機株式会社
ヒートポンプ装置
25日前
三菱電機株式会社
加熱調理システム
8日前
三菱電機株式会社
レンズモジュール
29日前
三菱電機株式会社
空気調和システム
9日前
三菱電機株式会社
回転電機ユニット
8日前
三菱電機株式会社
全館空調システム
29日前
三菱電機株式会社
回転電機ユニット
8日前
三菱電機株式会社
空気調和機の室内機
3日前
三菱電機株式会社
電子機器の冷却装置
9日前
三菱電機株式会社
電池パック及び電池
24日前
続きを見る
他の特許を見る