TOP
|
特許
|
意匠
|
商標
特許ウォッチ
Twitter
他の特許を見る
10個以上の画像は省略されています。
公開番号
2025153227
公報種別
公開特許公報(A)
公開日
2025-10-10
出願番号
2024055592
出願日
2024-03-29
発明の名称
複合梁
出願人
ミサワホーム株式会社
,
学校法人明治大学
代理人
個人
主分類
E04C
3/292 20060101AFI20251002BHJP(建築物)
要約
【課題】中高層建築物に適した梁を提供する。
【解決手段】鋼材と木材とによって構成される複合梁100であって、ウエブ113を有する形鋼からなる鉄骨梁110と、鉄骨梁110の長さ方向に沿って設けられ、ウエブ113を挟む一対の木質補強材120と、鉄骨梁110と、一対の木質補強材120と、を一体的に連結する連結手段130と、を備えており、木質補強材120には、鉄骨梁110の幅方向に貫通する貫通孔121が形成されており、連結手段130は、ウエブ113との接触面である第一接触面と、木質補強材120の貫通孔121における側壁との接触面である第二接触面と、を有する金物(円錐台状金物140)と、一対の木質補強材120における貫通孔121同士に亘って設けられる高力ボルト150と、を備えており、高力ボルト150によって、金物(円錐台状金物140)と、ウエブ113と、が接合されている。
【選択図】図2
特許請求の範囲
【請求項1】
鋼材と木材とによって構成される複合梁であって、
ウエブを有する形鋼からなる鉄骨梁と、
前記鉄骨梁の長さ方向に沿って設けられ、前記ウエブを挟む一対の木質補強材と、
前記鉄骨梁と、前記一対の木質補強材と、を一体的に連結する連結手段と、を備えており、
前記木質補強材には、前記鉄骨梁の幅方向に貫通する貫通孔が形成されており、
前記連結手段は、
前記ウエブとの接触面である第一接触面と、前記木質補強材の前記貫通孔における側壁との接触面である第二接触面と、を有する金物と、
前記一対の木質補強材における前記貫通孔同士に亘って設けられる高力ボルトと、を備えており、
前記高力ボルトによって、前記金物と、前記ウエブと、が接合されていることを特徴とする複合梁。
続きを表示(約 1,400 文字)
【請求項2】
請求項1に記載の複合梁において、
前記第二接触面は、前記ウエブ側から当該ウエブとは反対側に向かって広がる円錐台面であることを特徴とする複合梁。
【請求項3】
請求項2に記載の複合梁において、
前記貫通孔は、円錐台状孔部を含み、
前記連結手段は、前記金物として、前記高力ボルトが挿入されるボルト孔が形成された天面部と、前記天面部よりも薄い側面部と、を有する円錐台状金物を備えており、
前記側面部の表面が、前記円錐台状孔部における側壁との接触面である前記第二接触面であり、
前記高力ボルトを締める前の状態において、前記側面部は、前記円錐台状孔部における側壁よりも傾斜角度が大きいことを特徴とする複合梁。
【請求項4】
請求項2に記載の複合梁において、
前記貫通孔は、円錐台状孔部を含み、
前記連結手段は、前記金物として、側面部と、前記高力ボルトが挿入されるボルト孔が形成された天面部と、を有する円錐台状金物を備えており、
前記側面部の表面が、前記円錐台状孔部における側壁との接触面である前記第二接触面であり、
前記高力ボルトを締める前の状態において、前記天面部の径は、前記円錐台状孔部における前記ウエブ側の径よりも大きいことを特徴とする複合梁。
【請求項5】
請求項3又は4に記載の複合梁において、
前記貫通孔は、前記円錐台状孔部と、当該円錐台状孔部よりも前記ウエブ側に形成され、当該円錐台状孔部に連通する円柱状孔部と、を含み、
前記連結手段は、前記金物として、前記円錐台状孔部内に設けられる前記円錐台状金物と、前記円柱状孔部に挿入される円筒状金物と、を備えており、
前記円柱状孔部の径は、前記円錐台状孔部における前記ウエブ側の径と一致することを特徴とする複合梁。
【請求項6】
請求項5に記載の複合梁において、
前記円筒状金物の長さ寸法は、
前記円柱状孔部の長さ寸法よりも長く設定されているとともに、
前記高力ボルトを締めた後の状態において、前記第二接触面が、前記円錐台状孔部における側壁と接触する寸法よりも短く設定されていることを特徴とすることを特徴とする複合梁。
【請求項7】
請求項2に記載の複合梁において、
前記貫通孔は、円錐台状孔部を含み、
前記連結手段は、前記金物として、中実の金属体に前記高力ボルトが挿入されるボルト孔を形成してなる円錐台状金物を備えており、
前記円錐台状金物における側面が、前記円錐台状孔部における側壁との接触面である前記第二接触面であり、
前記高力ボルトを締める前の状態において、前記円錐台状金物における側面は、前記円錐台状孔部における側壁よりも傾斜角度が大きいことを特徴とする複合梁。
【請求項8】
請求項1に記載の複合梁において、
前記第二接触面は、前記ウエブ側の径と、前記ウエブとは反対側の径と、が同一の円筒面であり、
前記連結手段は、前記金物と、前記高力ボルトと、第二ボルトと、を備えており、
前記第二ボルトによって、前記木質補強材と、前記ウエブと、が接合されていることを特徴とする複合梁。
発明の詳細な説明
【技術分野】
【0001】
本発明は、複合梁に関する。
続きを表示(約 2,300 文字)
【背景技術】
【0002】
特許文献1には、鉄骨造の軸組みを有する建物が開示されている。この建物では、梁として、H形鋼からなる鉄骨梁が使用されている。
【先行技術文献】
【特許文献】
【0003】
特開2021-14692号公報
【発明の概要】
【発明が解決しようとする課題】
【0004】
中高層建築物など、階数が多い建物の場合は特に、鉄骨梁よりも強度が高い梁を使用することが望まれている。
本発明は上記事情に鑑みてなされたものであり、その課題は、中高層建築物に適した梁を提供することである。
【課題を解決するための手段】
【0005】
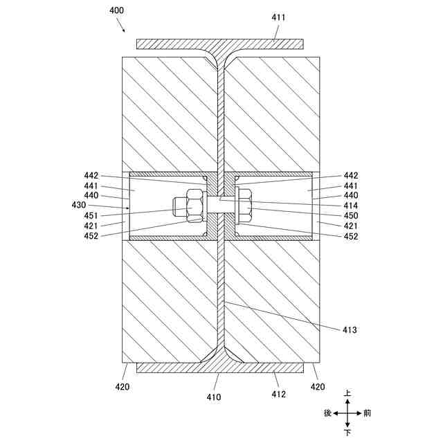
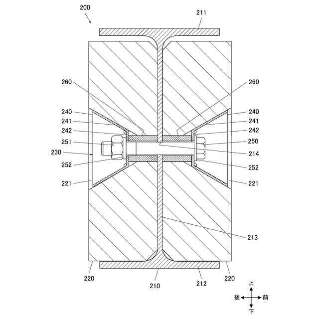
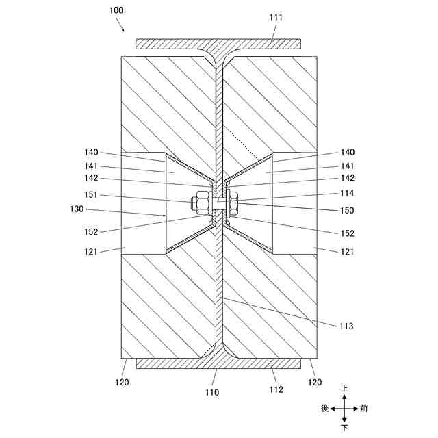
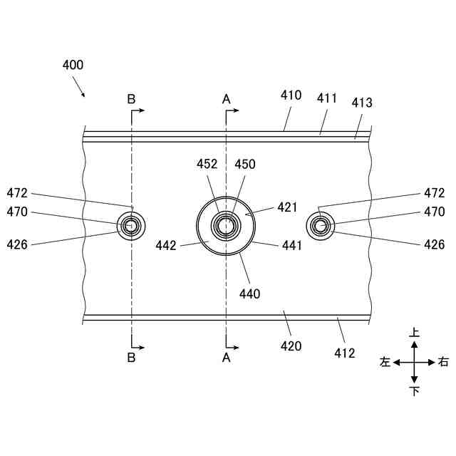
請求項1に記載の発明は、例えば図1~図12に示すように、鋼材と木材とによって構成される複合梁100,200,300,400であって、
ウエブ113,213,313,413を有する形鋼からなる鉄骨梁110,210,310,410と、
前記鉄骨梁110,210,310,410の長さ方向に沿って設けられ、前記ウエブ113,213,313,413を挟む一対の木質補強材120,220,320,420と、
前記鉄骨梁110,210,310,410と、前記一対の木質補強材120,220,320,420と、を一体的に連結する連結手段130,230,330,430と、を備えており、
前記木質補強材120,220,320,420には、前記鉄骨梁110,210,310,410の幅方向に貫通する貫通孔121,221,321,421が形成されており、
前記連結手段130,230,330,430は、
前記ウエブ113,213,313,413との接触面である第一接触面と、前記木質補強材120,220,320,420の前記貫通孔121,221,321,421における側壁との接触面である第二接触面と、を有する金物(円錐台状金物140,240,340、円筒状金物260,360、円柱状金物440)と、
前記一対の木質補強材120,220,320,420における前記貫通孔121,221,321,421同士に亘って設けられる高力ボルト150,250,350,450と、を備えており、
前記高力ボルト150,250,350,450によって、前記金物(円錐台状金物140、円筒状金物260,360、円柱状金物440)と、前記ウエブ113,213,313,413と、が接合されていることを特徴とする。
【0006】
請求項1に記載の発明によれば、複合梁100,200,300,400は、鉄骨梁110,210,310,410を、一対の木質補強材120,220,320,420によって補強したものであるので、鉄骨梁よりも強度が高く、中高層建築物に適している。
【0007】
請求項2に記載の発明は、例えば図1~図7に示すように、請求項1に記載の複合梁100,200,300において、
前記第二接触面は、前記ウエブ113,213,313側から当該ウエブ113,213,313とは反対側に向かって広がる円錐台面であることを特徴とする。
【0008】
請求項2に記載の発明によれば、金物(円錐台状金物140,240,340)の第二接触面が円錐台面であるので、高力ボルト150,250,350を締めることによって、木質補強材120,220,320が一定の位置に引き寄せられることとなる。すなわち、高力ボルト150,250,350を締めることによって、木質補強材120,220,320をウエブ113,213,313へと押し付けることが可能となる。したがって、接着剤等を用いることなく、連結手段130,230,330のみで、鉄骨梁110,210,310と木質補強材120,220,320とを一体化することが可能である。
【0009】
請求項3に記載の発明は、例えば図1~図5に示すように、請求項2に記載の複合梁100,200において、
前記貫通孔121,221は、円錐台状孔部122,222を含み、
前記連結手段130,230は、前記金物として、前記高力ボルト150,250が挿入されるボルト孔(第二ボルト孔143,243)が形成された天面部142,242と、前記天面部142,242よりも薄い側面部141,241と、を有する円錐台状金物140,240を備えており、
前記側面部141,241の表面が、前記円錐台状孔部122,222における側壁との接触面である前記第二接触面であり、
前記高力ボルト150,250を締める前の状態において、前記側面部141,241は、前記円錐台状孔部122,222における側壁よりも傾斜角度が大きいことを特徴とする。
【0010】
請求項3に記載の発明によれば、高力ボルト150,250を締めることによって、側面部141,241を変形させて、側面部141,241の傾斜角度を側壁の傾斜角度に一致させることが可能となる。したがって、高力ボルト150,250を締めることによって、木質補強材120,220を一定の位置に確実に引き寄せることができるので、第二接触面の機能(木質補強材120,220をウエブ113,213に押し付ける機能)を効果的に発揮させることが可能となる。
(【0011】以降は省略されています)
この特許をJ-PlatPat(特許庁公式サイト)で参照する
関連特許
ミサワホーム株式会社
玄関
1か月前
ミサワホーム株式会社
門扉の支持構造及びブラケット
10日前
ミサワホーム株式会社
事業所情報提供システム、事業所情報提供方法、事業所情報提供装置及びプログラム
18日前
個人
接合構造
2か月前
個人
タッチミー
2か月前
個人
屋台
2か月前
個人
野良猫ハウス
3か月前
個人
フェンス
3か月前
個人
転落防止用手摺
3か月前
個人
安心補助てすり
1か月前
ニチハ株式会社
建築板
3か月前
個人
筋交自動設定装置
2か月前
個人
居住車両用駐車場
3か月前
個人
ベンリナアングル
2か月前
積水樹脂株式会社
柵体
2か月前
個人
熱抵抗多層断熱建材
3か月前
個人
免震建築構造
3日前
個人
補強部材
3か月前
成友建設株式会社
建物
3か月前
株式会社フジタ
合成床
3日前
個人
防災建築物
1か月前
鹿島建設株式会社
壁体
3か月前
株式会社シンケン
住宅
1か月前
個人
身体用シェルター
2か月前
個人
身体用シェルター
2か月前
三協立山株式会社
構造体
2か月前
株式会社大林組
接合構造
1か月前
三協立山株式会社
構造体
2か月前
三協立山株式会社
構造体
2か月前
三協立山株式会社
構造体
2か月前
三協立山株式会社
構造体
1か月前
三協立山株式会社
構造体
1か月前
三協立山株式会社
構造体
2か月前
三協立山株式会社
構造体
2か月前
三協立山株式会社
構造体
26日前
イワブチ株式会社
組立柱
2か月前
続きを見る
他の特許を見る