TOP
|
特許
|
意匠
|
商標
特許ウォッチ
Twitter
他の特許を見る
公開番号
2025153029
公報種別
公開特許公報(A)
公開日
2025-10-10
出願番号
2024055287
出願日
2024-03-29
発明の名称
レーダエコーレベル校正システム
出願人
キーコム株式会社
代理人
個人
,
個人
主分類
G01S
7/40 20060101AFI20251002BHJP(測定;試験)
要約
【課題】
受信系のノイズレベルの測定値を用いて受信系全体の校正をすることにより、受信エコーの大きさを正確に定めることが可能なレーダエコーレベル校正システムを提供すること。
【解決手段】
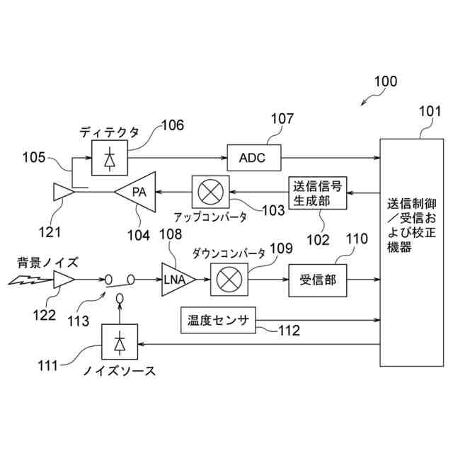
レーダエコーレベル校正システム100は、電波を送信および受信する観測時間と前記電波の送信および受信を行わない非観測時間とを設けるアンテナと、前記非観測時間中に、定期的または非定期的に温度差がある2つのノイズ温度を交互に発生させて、ノイズレベルを測定することにより、受信利得と雑音指数を測定する測定手段と、アンテナから電波の送信を停止している時間に受信したノイズを観測し、アンテナ雑音温度を求める雑音温度算出手段と、ノイズレベルを用いてデジタルレベルで校正し、ノイズレベルの電力値とターゲットエコー電力値との比からターゲットエコーの電力を算出する電力算出手段と、を備える。
【選択図】図1
特許請求の範囲
【請求項1】
電波を送信および受信する観測時間と前記電波の送信および受信を行わない非観測時間とを設けるアンテナと、
前記非観測時間中に、定期的または非定期的に温度差がある2つのノイズ温度を交互に発生させて、ノイズレベルを測定することにより、受信利得と雑音指数を測定する測定手段と、
前記アンテナから前記電波の送信を停止している時間に受信したノイズを観測し、アンテナ雑音温度を求める雑音温度算出手段と、
前記ノイズレベルを用いてデジタルレベルで校正し、前記ノイズレベルの電力値とターゲットエコー電力値との比からターゲットエコーの電力を算出する電力算出手段と、
を備えるレーダエコーレベル校正システム。
続きを表示(約 470 文字)
【請求項2】
前記電波を送信する送信回路と、
前記電波を受信する受信回路と、
前記電波の送信および受信を制御し、前記雑音温度算出手段および前記電力算出手段を有する送受信制御部と、
を備え、
前記送信回路が、前記電波の送信信号を生成する送信信号生成部を有し、
前記受信回路が、前記電波を受信し、受信した前記電波を受信波として前記送受信制御部に出力する受信部を有し、
前記測定手段が、前記送受信制御部および前記受信部に接続されるノイズソースを有する、請求項1に記載のレーダエコーレベル校正システム。
【請求項3】
前記受信回路の温度を測定する温度センサをさらに備える、請求項2に記載のレーダエコーレベル校正システム。
【請求項4】
前記送信回路が、カプラを介して前記送信回路の電力の一部を検出する検出部と、前記検出部および前記送受信制御部に接続されるアナログ・デジタル変換回路と、を有する、請求項2または3に記載のレーダエコーレベル校正システム。
発明の詳細な説明
【技術分野】
【0001】
本発明は、気象レーダ等のレーダ反射因子を正しく測定するためにノイズレベルや送信電力レベル等を校正するレーダエコーレベル校正システムに関する。
続きを表示(約 1,300 文字)
【背景技術】
【0002】
従来から、送信電力のモニタやノイズソースを用いて、受信系の利得や雑音指数(NF)を測定し校正するレーダは存在していた。また、パルスレーダ等で、送信系で作った疑似信号を受信系途中に注入することにより、校正を試みるレーダ等も存在していた。
【0003】
例えば、特許文献1では、ミリメートル波通信のためのアンテナ及びアンテナ構造体や、無線信号の通信のためにアンテナおよびアンテナ構造体を使用する無線通信デバイスの技術、が開示されている。
【先行技術文献】
【特許文献】
【0004】
特許第7441269号
【発明の概要】
【発明が解決しようとする課題】
【0005】
しかしながら、特許文献1の技術では、温度などにより変遷していくノイズレベルを校正することは行われていないため、気象レーダ等のレーダ反射因子を正しく測定することができない可能性がある。
【0006】
そこで、本発明では、前記課題に鑑みてなされ、受信系のノイズレベルの測定値を用いて受信系全体の校正をすることにより、受信エコーの大きさを正確に定めることが可能なレーダエコーレベル校正システムを提供することを主目的とする。
【課題を解決するための手段】
【0007】
上記課題を解決するため、本発明に係るレーダエコーレベル校正システムは、電波を送信および受信する観測時間と前記電波の送信および受信を行わない非観測時間とを設けるアンテナと、前記非観測時間中に、定期的または非定期的に温度差がある2つのノイズ温度を交互に発生させて、ノイズレベルを測定することにより、受信利得と雑音指数を測定する測定手段と、前記アンテナから前記電波の送信を停止している時間に受信したノイズを観測し、アンテナ雑音温度を求める雑音温度算出手段と、前記ノイズレベルを用いてデジタルレベルで校正し、前記ノイズレベルの電力値とターゲットエコー電力値との比からターゲットエコーの電力を算出する電力算出手段と、を備える。
【発明の効果】
【0008】
本発明に係るレーダエコーレベル校正システムによれば、受信系のノイズレベルの測定値を用いて受信系全体の校正をすることにより、受信エコーの大きさを正確に定めることができる。なお、ここに記載された効果は、必ずしもこの範囲に限定されるものではなく、本明細書中に記載されたいずれかの効果であってもよい。
【図面の簡単な説明】
【0009】
本発明の第1実施形態に係るレーダエコーレベル校正システムの構成例を示すブロック図である。
本発明の第2実施形態に係るレーダエコーレベル校正システムの構成例を示すブロック図である。
【発明を実施するための形態】
【0010】
以下、本発明を実施するための好適な実施形態について図面を参照して説明する。なお、以下に説明する実施形態は、本発明の代表的な実施形態の一例を示したものであり、これにより本発明の範囲が限定されることはなく、その要旨の範囲内で種々の組合せ、変形、および変更が可能である。
(【0011】以降は省略されています)
この特許をJ-PlatPat(特許庁公式サイト)で参照する
関連特許
キーコム株式会社
光伝送線路
1か月前
キーコム株式会社
画像作成システム
18日前
キーコム株式会社
レーダエコーレベル校正システム
1か月前
個人
視触覚センサ
3日前
個人
採尿及び採便具
1か月前
日本精機株式会社
検出装置
1か月前
個人
計量機能付き容器
28日前
個人
アクセサリー型テスター
1か月前
個人
高精度同時多点測定装置
1か月前
株式会社カクマル
境界杭
18日前
株式会社ミツトヨ
測定器
1か月前
甲神電機株式会社
電流検出装置
1か月前
日本精機株式会社
発光表示装置
11日前
ユニパルス株式会社
トルク変換器
3日前
ユニパルス株式会社
トルク変換器
3日前
ユニパルス株式会社
トルク変換器
3日前
株式会社トプコン
測量装置
10日前
アズビル株式会社
電磁流量計
1か月前
トヨタ自動車株式会社
監視装置
2か月前
大成建設株式会社
風洞実験装置
28日前
ダイキン工業株式会社
監視装置
1か月前
長崎県
形状計測方法
1か月前
個人
非接触による電磁パルスの測定方法
1か月前
個人
システム、装置及び実験方法
1か月前
日本信号株式会社
距離画像センサ
1か月前
日本特殊陶業株式会社
ガスセンサ
4日前
日本特殊陶業株式会社
ガスセンサ
26日前
個人
計量具及び計量機能付き容器
28日前
双庸電子株式会社
誤配線検査装置
1か月前
大和製衡株式会社
組合せ計量装置
1か月前
愛知電機株式会社
軸部材の外観検査装置
1か月前
TDK株式会社
磁気センサ
2か月前
ローム株式会社
半導体装置
1か月前
ローム株式会社
半導体装置
1か月前
大和製衡株式会社
組合せ計量装置
1か月前
日本特殊陶業株式会社
ガスセンサ
10日前
続きを見る
他の特許を見る