TOP
|
特許
|
意匠
|
商標
特許ウォッチ
Twitter
他の特許を見る
10個以上の画像は省略されています。
公開番号
2025152944
公報種別
公開特許公報(A)
公開日
2025-10-10
出願番号
2024055134
出願日
2024-03-29
発明の名称
モータ磁石、モータ部品、および、モータ
出願人
株式会社デンソー
代理人
個人
,
個人
主分類
H02K
1/2783 20220101AFI20251002BHJP(電力の発電,変換,配電)
要約
【課題】特定領域の磁束の増大が抑制されたモータ磁石、モータ部品、および、モータを提供する。
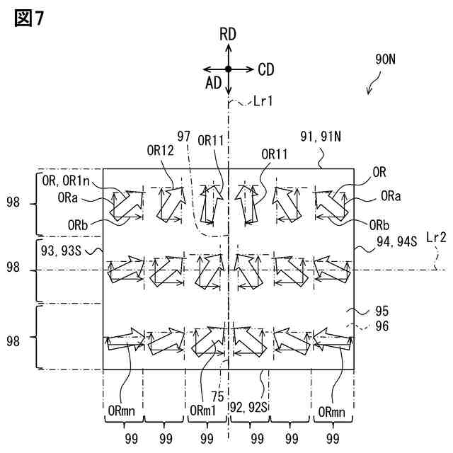
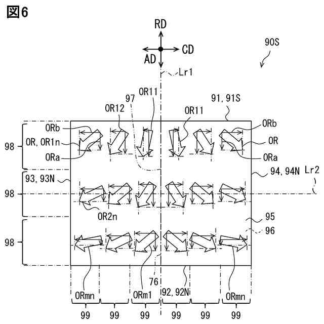
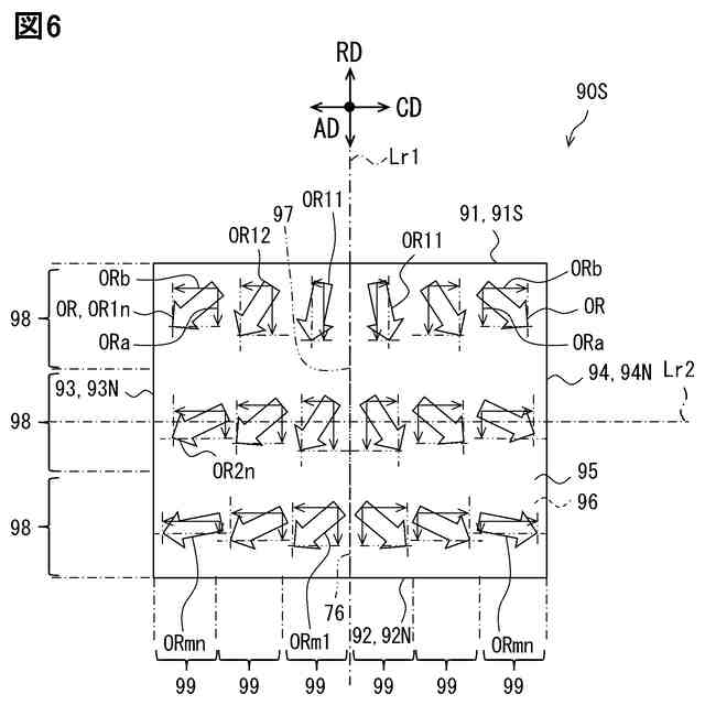
【解決手段】モータは、磁石90を有している。磁石90の外面には、第1対向面91、第2対向面92、第1端面93及び第2端面94が含まれている。第1対向面91と第2対向面92とは、径方向RDに並べられており、第1端面93と第2端面94とは、周方向CDに並べられている。磁石90には、複数の配向ORが分布している。複数の配向ORの少なくとも一部は、径方向RDに沿う第1配向成分ORaと、周方向CDに沿う第2配向成分ORbとを有している。第2配向成分ORbは、第1対向面91側よりも第2対向面92側の方が大きく、縦中央部97側よりも端面93,94側の方が大きい。第1配向成分ORaは、第1対向面91側よりも第2対向面92側の方が小さく、縦中央部97側よりも端面93,94側の方が小さい。
【選択図】図6
特許請求の範囲
【請求項1】
第1方向(RD;AD;RD)に並ぶ第1表面(91)および第2表面(92)と、
前記第1方向に交差する第2方向(CD;CD;AD)に並ぶ第1端部(93)および第2端部(94)と、
前記第1表面と前記第2表面との間、および、前記第1端部と前記第2端部との間で分布する複数の配向(OR)と、を備え、
複数の前記配向の少なくとも一部は、前記第1方向に沿う第1配向成分(ORa)、および、前記第2方向に沿う第2配向成分(ORb)を有し、
前記第1配向成分は、前記第1方向において、前記第1表面および前記第2表面の一方から他方に向かい、前記第1方向において、前記第1表面側よりも前記第2表面側の方が小さく、前記第2方向において、前記第1端部と前記第2端部との間の中央部(97)側よりも前記第1端部側と前記第2端部側それぞれの方が小さく、
前記第2配向成分は、前記第1方向において、前記第1表面側よりも前記第2表面側の方が大きく、前記第2方向において、前記中央部側よりも前記第1端部側と前記第2端部側それぞれの方が大きく、
前記中央部と前記第1端部との間と、前記中央部と前記第2端部との間とでは、前記第2配向成分が逆向きであるモータ磁石(90)。
続きを表示(約 1,500 文字)
【請求項2】
前記第2配向成分は、前記第2方向において、前記中央部側から前記第1端部側と前記第2端部側それぞれに向かうにしたがって徐々に大きくなる請求項1に記載のモータ磁石。
【請求項3】
前記第2配向成分は、前記第1方向において、前記第1表面側から前記第2表面側に向かうにしたがって徐々に大きくなる請求項1又は2に記載のモータ磁石。
【請求項4】
前記第1配向成分は、前記第2方向において、前記中央部側から前記第1端部側と前記第2端部側それぞれに向かうにしたがって徐々に小さくなる請求項1又は2に記載のモータ磁石。
【請求項5】
前記第2配向成分は、前記第1方向において、前記第1表面側から前記第2表面側に向かうにしたがって徐々に小さくなる請求項1又は2に記載のモータ磁石。
【請求項6】
モータ磁石(90)を有するモータ部品(40;140;240)であって、
前記モータ磁石は、
第1方向(RD;AD;RD)に並ぶ第1表面(91)および第2表面(92)と、
前記第1方向に交差する第2方向(CD;CD;AD)に並ぶ第1端部(93)および第2端部(94)と、
前記第1表面と前記第2表面との間、および、前記第1端部と前記第2端部との間で分布する複数の配向(OR)と、を備え、
複数の前記配向の少なくとも一部は、前記第1方向に沿う第1配向成分(ORa)、および、前記第2方向に沿う第2配向成分(ORb)を有し、
前記第1配向成分は、前記第1方向において、前記第1表面および前記第2表面の一方から他方に向かい、前記第1方向において、前記第1表面側よりも前記第2表面側の方が小さく、前記第2方向において、前記第1端部と前記第2端部との間の中央部(97)側よりも前記第1端部側と前記第2端部側それぞれの方が小さく、
前記第2配向成分は、前記第1方向において、前記第1表面側よりも前記第2表面側の方が大きく、前記第2方向において、前記中央部側よりも前記第1端部側と前記第2端部側それぞれの方が大きく、
前記中央部から前記第1端部までの間と、前記中央部から前記第2端部までの間とでは、前記第2配向成分が逆向きであるモータ部品。
【請求項7】
前記モータ磁石として、前記第1方向において前記第1表面から前記第2表面に向かう前記第1配向成分を有する複数の前記配向を備える第1モータ磁石(90S)と、前記第1方向において前記第2表面から前記第1表面に向かう前記第1配向成分を有する複数の前記配向を備える第2モータ磁石(90N)と、があり、
前記第1モータ磁石と前記第2モータ磁石それぞれを複数有し、
前記第1モータ磁石と前記第2モータ磁石とが、前記第2方向において交互に並んでいる請求項6に記載のモータ部品。
【請求項8】
軟磁性材料を含む支持部(51)を有し、
前記第1モータ磁石と前記第2モータ磁石それぞれの前記第2表面側が前記支持部に対向し、前記第1モータ磁石と前記第2モータ磁石それぞれが前記支持部に設けられている請求項7に記載のモータ部品。
【請求項9】
前記第2方向において隣り合って並ぶ前記第1モータ磁石と前記第2モータ磁石との間に設けられる介在部(55)を有し、
前記介在部には軟磁性材料が含まれている請求項8に記載のモータ部品。
【請求項10】
前記支持部と前記介在部とが連結されている請求項9に記載のモータ部品。
(【請求項11】以降は省略されています)
発明の詳細な説明
【技術分野】
【0001】
この明細書における開示は、モータ磁石、モータ部品、および、モータに関する。
続きを表示(約 1,800 文字)
【背景技術】
【0002】
特許文献1には、径方向で対向配置されたステータとロータとを備える永久磁石モータが記載されている。このロータは、周方向で並ぶ複数の永久磁石を有している。
【先行技術文献】
【特許文献】
【0003】
特開2011-217517号公報
【発明の概要】
【発明が解決しようとする課題】
【0004】
特許文献1に記載の永久磁石は径方向に着磁されている。そのため、永久磁石の磁束によって形成される磁路が径方向に形成されやすくなる。永久磁石を備えるロータにおけるステータとの対向領域とは反対側の磁束が増える虞がある。特定領域の磁束が増える虞がある。
【0005】
本開示の1つの目的は、特定領域の磁束の増大が抑制されたモータ磁石、モータ部品、および、モータを提供することである。
【課題を解決するための手段】
【0006】
この明細書に開示された複数の態様は、それぞれの目的を達成するために、互いに異なる技術的手段を採用する。また、特許請求の範囲及びこの項に記載した括弧内の符号は、一つの態様として後述する実施形態に記載の具体的手段との対応関係を示す一例であって、技術的範囲を限定するものではない。
【0007】
上記目的を達成するため、開示された態様は、
第1方向(RD;AD;RD)に並ぶ第1表面(91)および第2表面(92)と、
第1方向に交差する第2方向(CD;CD;AD)に並ぶ第1端部(93)および第2端部(94)と、
第1表面と第2表面との間、および、第1端部と第2端部との間で分布する複数の配向(OR)と、を備え、
複数の配向の少なくとも一部は、第1方向に沿う第1配向成分(ORa)、および、第2方向に沿う第2配向成分(ORb)を有し、
第1配向成分は、第1方向において、第1表面および第2表面の一方から他方に向かい、第1方向において、第1表面側よりも第2表面側の方が小さく、第2方向において、第1端部と第2端部との間の中央部(97)側よりも第1端部側と第2端部側それぞれの方が小さく、
第2配向成分は、第1方向において、第1表面側よりも第2表面側の方が大きく、第2方向において、中央部側よりも第1端部側と第2端部側それぞれの方が大きく、
中央部と第1端部との間と、中央部と第2端部との間とでは、第2配向成分が逆向きであるモータ磁石(90)である。
【0008】
これによれば、モータ磁石の第2表面側での磁路の形成が抑制される。モータ磁石がモータに組み込まれた構成において、モータ磁石の第2表面側(特定領域)で磁束が増大することが抑制される。
【0009】
開示された態様は、
モータ磁石(90)を有するモータ部品(40;140;240)であって、
モータ磁石は、
第1方向(RD;AD;RD)に並ぶ第1表面(91)および第2表面(92)と、
第1方向に交差する第2方向(CD;CD;AD)に並ぶ第1端部(93)および第2端部(94)と、
第1表面と第2表面との間、および、第1端部と第2端部との間で分布する複数の配向(OR)と、を備え、
複数の配向の少なくとも一部は、第1方向に沿う第1配向成分(ORa)、および、第2方向に沿う第2配向成分(ORb)を有し、
第1配向成分は、第1方向において、第1表面および第2表面の一方から他方に向かい、第1方向において、第1表面側よりも第2表面側の方が小さく、第2方向において、第1端部と第2端部との間の中央部(97)側よりも第1端部側と第2端部側それぞれの方が小さく、
第2配向成分は、第1方向において、第1表面側よりも第2表面側の方が大きく、第2方向において、中央部側よりも第1端部側と第2端部側それぞれの方が大きく、
中央部から第1端部までの間と、中央部から第2端部までの間とでは、第2配向成分が逆向きであるモータ部品である。
【0010】
上記モータ部品によれば、上記モータ磁石と同様の効果を奏することができる。
(【0011】以降は省略されています)
この特許をJ-PlatPat(特許庁公式サイト)で参照する
関連特許
個人
電気を重力で発電装置
10日前
キヤノン電子株式会社
モータ
9日前
キヤノン電子株式会社
モータ
17日前
日星電気株式会社
ケーブル組立体
25日前
コーセル株式会社
電源装置
18日前
トヨタ自動車株式会社
モータ
9日前
株式会社デンソー
回転機
1か月前
株式会社kaisei
発電システム
1か月前
個人
二次電池繰返パルス放電器用印刷基板
23日前
株式会社デンソー
電力変換装置
24日前
株式会社デンソー
電力変換装置
1か月前
株式会社ミツバ
回転電機
1か月前
株式会社デンソー
非接触受電装置
26日前
トヨタ自動車株式会社
固定子の加熱装置
20日前
株式会社ダイヘン
インバータ装置
1か月前
個人
非対称鏡像力を有する4層PWB電荷搬送体
4日前
日産自動車株式会社
ロータシャフト
4日前
ローム株式会社
モータドライバ回路
4日前
日産自動車株式会社
ロータシャフト
4日前
山洋電気株式会社
モータ
23日前
矢崎総業株式会社
ワイヤーハーネス
1か月前
トヨタ自動車株式会社
ステータの製造装置
10日前
株式会社デンソー
ステータ及びモータ
1か月前
トヨタ自動車株式会社
可変界磁ロータ
12日前
株式会社明治ゴム化成
ワイヤレス給電用部品
19日前
株式会社TMEIC
電力変換装置
1か月前
個人
電線盗難防止方法及び電線盗難防止装置
17日前
株式会社マキタ
電動作業機
17日前
株式会社アイシン
電力変換装置
9日前
トヨタ紡織株式会社
ロータの製造装置
18日前
ニデック株式会社
回転電機
9日前
株式会社豊田自動織機
電力供給システム
9日前
株式会社ダイフク
非接触給電設備
25日前
トヨタ自動車株式会社
車両照合システム
17日前
大阪瓦斯株式会社
充放電中継装置
10日前
豊田合成株式会社
車両用非接触充電装置
9日前
続きを見る
他の特許を見る