TOP
|
特許
|
意匠
|
商標
特許ウォッチ
Twitter
他の特許を見る
公開番号
2025152806
公報種別
公開特許公報(A)
公開日
2025-10-10
出願番号
2024054901
出願日
2024-03-28
発明の名称
吸音体及び音環境調整構造
出願人
大建工業株式会社
,
株式会社内田洋行
,
日本音響エンジニアリング株式会社
代理人
弁理士法人前田特許事務所
主分類
G10K
11/16 20060101AFI20251002BHJP(楽器;音響)
要約
【課題】室内の音環境を容易に変更できる意匠性に優れた吸音体を構成し、この吸音体を用いて室内の快適性を向上させる。
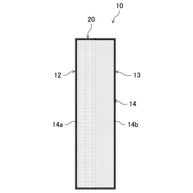
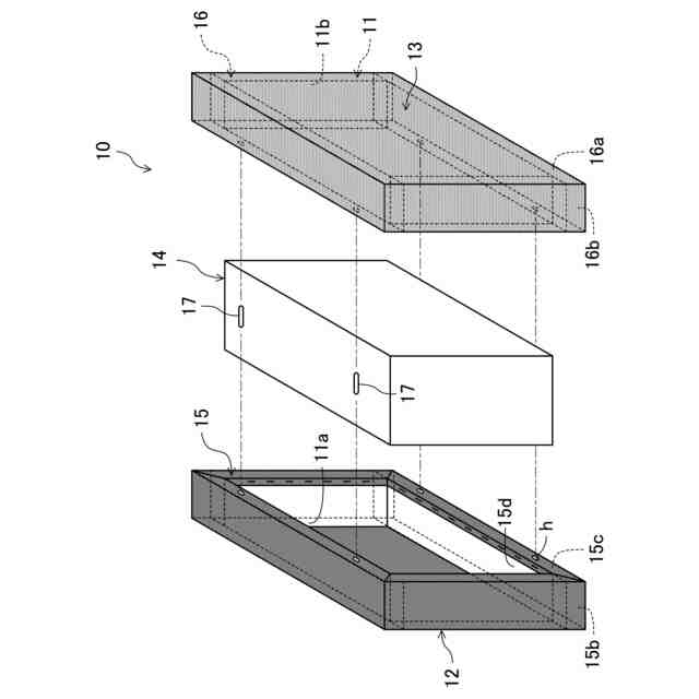
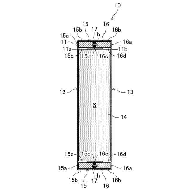
【解決手段】吸音体10は、外側面の一部が底部となって自立する矩形状に枠組みされた枠体11と、該枠体11の一端側の第1開口11aを閉塞する第1膜体12と、枠体11の他端側の第2開口11bを閉塞する第2膜体13と、枠体11の内側に配置される多孔質材料からなる吸音材14とを備える。第1膜体12と第2膜体13とは、異なる材料で構成されている。第1及び第2膜体12,13は、第1及び第2開口11a,11bと共に第1及び第2枠材15,16の表側端面15a,16aと外側面15b,16bとを一体的に覆い、周縁部が第1及び第2枠材15,16の内側面15d,16dまで延びて該内側面15d,16dに固定されている。
【選択図】図2
特許請求の範囲
【請求項1】
室内に設けられて該室内の音環境を調整する吸音体であって、
外側面の一部が底部となって自立する矩形状に枠組みされた枠体と、
上記枠体の奥行方向の一端側の第1開口を閉塞する第1膜体と、
上記枠体の奥行方向の他端側の第2開口を閉塞する第2膜体と、
上記枠体の内側に配置される多孔質材料からなる吸音材とを備え、
上記枠体は、上記第1開口を形成する筒状の第1枠材と、上記第2開口を形成する筒状の第2枠材とを備え、上記第1枠材と上記第2枠材とを接合してなるものであり、
上記第1膜体と上記第2膜体とは、異なる材料で構成され、
上記第1膜体は、上記第1開口と共に上記第1枠材の上記第1開口側の表側端面と外側面とを一体的に覆い、周縁部が上記第1枠材の裏側端面又は内側面に固定され、
上記第2膜体は、上記第2開口と共に上記第2枠材の上記第2開口側の表側端面と外側面とを一体的に覆い、周縁部が上記第2枠材の裏側端面又は内側面に固定されている
ことを特徴とする吸音体。
続きを表示(約 480 文字)
【請求項2】
室内に設けられて該室内の音環境を調整する吸音体であって、
多孔質材料からなる直方体状の吸音材と、
上記吸音体の第1側面を覆う第1膜体と、
上記吸音体の上記第1側面に対向する第2側面を覆う第2膜体とを備え、
上記第1膜体と上記第2膜体とは、異なる材料で構成され、上記吸音材を覆うように袋状に閉じられている
ことを特徴とする吸音体。
【請求項3】
請求項1又は2に記載の吸音体において、
上記第1膜体及び上記第2膜体は、識別可能に構成されている
ことを特徴とする吸音体。
【請求項4】
請求項1又は2に記載の吸音体において、
上記第1膜体は、織布で構成され、
上記第2膜体は、人工皮革で構成されている
ことを特徴とする吸音体。
【請求項5】
室内の音環境を調整するための音環境調整構造であって、
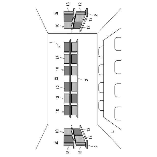
上記室内に設置された棚上に、請求項1又は2に記載の吸音体が複数設けられている
ことを特徴とする音環境調整構造。
発明の詳細な説明
【技術分野】
【0001】
本発明は、室内に用いられる吸音体及び音環境調整構造に関するものである。
続きを表示(約 1,900 文字)
【背景技術】
【0002】
従来、住宅やオフィス等において、室内の音環境を改善させるために、室内に吸音体を配置し、話し声や物音を吸音体に吸収させることとしている。(例えば、下記の特許文献1を参照)。
【0003】
特許文献1では、吸音材料により構成された板状又は塊状の複数の吸音体を、ブースの周囲を取り囲むように天井から吊り下げて、ブース内外への音漏れを軽減してブース内の音の響きを抑制することにより、ブース内において会話がし易くなるようにしている。
【先行技術文献】
【特許文献】
【0004】
特開2023-034006号公報
【発明の概要】
【発明が解決しようとする課題】
【0005】
しかしながら、特許文献1で用いる吸音体は、一種類の吸音材料により構成され、吸収できる周波数帯域が限られたものであるため、例えば、室内の用途変更(対面会議用の会議室をオンライン会議用の会議室に変更)等により、室内の音環境(吸収させたい音の周波数帯域等)を変更する必要がある場合に、天井から吊り下げられた吸音体を取り外し、吸音特性の異なる(周波数帯域ごとの吸音率が異なる)吸音体へ変更する必要があり、室内の音環境を容易に変更することができなかった。
【0006】
本発明は斯かる点に鑑みてなされたもので、その目的は、室内の音環境を容易に変更できる吸音体を構成し、この吸音体を用いて室内の快適性を向上させることにある。
【課題を解決するための手段】
【0007】
上記の目的を達成するために、本発明では、向きを変えるだけで発現する吸音特性が変わる吸音体を室内の音環境の調整に用いるようにした。
【0008】
具体的には、第1の発明は、室内に設けられて該室内の音環境を調整する吸音体であって、外側面の一部が底部となって自立する矩形状に枠組みされた枠体と、上記枠体の奥行方向の一端側の第1開口を閉塞する第1膜体と、上記枠体の奥行方向の他端側の第2開口を閉塞する第2膜体と、上記枠体の内側に配置される多孔質材料からなる吸音材とを備え、上記枠体は、上記第1開口を形成する筒状の第1枠材と、上記第2開口を形成する筒状の第2枠材とを備え、上記第1枠材と上記第2枠材とを接合してなるものであり、上記第1膜体と上記第2膜体とは、異なる材料で構成され、上記第1膜体は、上記第1開口と共に上記第1枠材の上記第1開口側の表側端面と外側面とを一体的に覆い、周縁部が上記第1枠材の裏側端面又は内側面に固定され、上記第2膜体は、上記第2開口と共に上記第2枠材の上記第2開口側の表側端面と外側面とを一体的に覆い、周縁部が第2枠材の上記裏側端面又は内側面に固定されていることを特徴とするものである。
【0009】
第1の発明では、吸音体を、矩形状に枠組みされた枠体が自立することにより、異なる材料で構成された第1膜体と第2膜体とが、互いの間に多孔質材料からなる吸音材を挟んで水平方向に対向して配置されるように構成している。このような構成の吸音体では、音が第1膜体側から入射するか第2膜体側から入射するかにより、発現する吸音特性が異なる。具体的には、異なる材料で構成された第1及び第2膜体は、音の透過率が異なる。そのため、音が透過し易い膜体側から入射した場合は、音が吸音体内に入り易く、吸音材による多孔質型の吸音効果が発揮されるが、音が透過し難い膜体側から入射した場合は、音が吸音体内に入り難く、吸音材による多孔質型の吸音効果がほとんど発揮されない一方、膜体の膜振動による膜振動型の吸音効果が発揮される。多孔質型吸音は、中低域から高域にかけて吸音率が高くなる傾向があり、膜振動型吸音は、中低域から中域にかけての狭い周波数帯域においてのみ吸音率が高くなる傾向がある。つまり、第1の発明に係る吸音体は、音が第1膜体側から入射するか第2膜体側から入射するかにより、周波数帯域ごとの吸音率が異なる(発現する吸音特性が異なる)ものとなる。このように、第1の発明によれば、向きを変えるだけで発現する吸音特性が変わる吸音体を構成することができるため、このような吸音体を室内に設け、その向きを変更するだけで容易に室内の音環境を調整することができる。
【0010】
ところで、枠体が矩形状に枠組みされた1つの枠材からなる場合、枠体の2つの開口を閉塞する2つの膜体の周縁部が人目に触れ易い枠体の外側面上に配置されることとなり、吸音体の意匠性を低下させる虞がある。
(【0011】以降は省略されています)
この特許をJ-PlatPat(特許庁公式サイト)で参照する
関連特許
大建工業株式会社
床材施工構造
1か月前
大建工業株式会社
音環境改善評価方法
1か月前
大建工業株式会社
音環境改善評価方法
1か月前
大建工業株式会社
音環境改善評価方法
1か月前
大建工業株式会社
階段用踏板及び階段
1か月前
大建工業株式会社
縦枠及び縦枠の継手部材
1か月前
大建工業株式会社
吸音体及び音環境調整構造
1か月前
大建工業株式会社
吸音体及び音環境調整構造
1か月前
大建工業株式会社
化粧板及び化粧板シリーズ
1か月前
大建工業株式会社
開口部構造及びカバー部材
1か月前
大建工業株式会社
化粧板及びそれを備えた収納家具
2か月前
個人
遮音材
22日前
個人
歌唱補助器具
1か月前
個人
管楽器用リガチャ-
1か月前
横浜ゴム株式会社
音響材
15日前
個人
音声出力装置
22日前
大和ハウス工業株式会社
音低減設備
1か月前
DIC株式会社
吸音材及び吸音部品
1か月前
個人
管楽器用音質改善留め具
9日前
NOK株式会社
吸音構造体
24日前
矢崎総業株式会社
車両用対話システム
23日前
横浜ゴム株式会社
多層空洞音響材
22日前
株式会社第一興商
カラオケ装置
23日前
ヤマハ株式会社
鍵盤装置
2日前
ヤマハ株式会社
音処理装置及び音処理方法
9日前
有限会社 宮脇工房
モーター挙動音発生装置
1か月前
株式会社デンソー
制御装置、制御方法、及び制御プログラム
15日前
株式会社第一興商
カラオケ装置、カラオケシステム
1日前
株式会社第一興商
カラオケ装置、カラオケシステム
17日前
株式会社コルグ
楽音信号変換装置、楽音信号変換方法、プログラム
25日前
固昌通訊股ふん有限公司
音響調整装置
1か月前
株式会社東芝
発話言語理解のためのシステムおよび方法
1か月前
株式会社枚方技研
方向付き楽器固定具
23日前
安克創新科技股フン有限公司
通話ノイズキャンセリング方法及びイヤホン
1か月前
株式会社デンソー
制御装置、ロボットシステム、制御方法、及び制御プログラム
1か月前
日本放送協会
エンコーダー・デコーダー装置、推論装置、およびプログラム
1か月前
続きを見る
他の特許を見る