TOP
|
特許
|
意匠
|
商標
特許ウォッチ
Twitter
他の特許を見る
10個以上の画像は省略されています。
公開番号
2025152754
公報種別
公開特許公報(A)
公開日
2025-10-10
出願番号
2024054809
出願日
2024-03-28
発明の名称
フィルムロールの製造装置及びフィルムロール
出願人
三菱ケミカル株式会社
代理人
弁理士法人酒井国際特許事務所
主分類
B65H
75/02 20060101AFI20251002BHJP(運搬;包装;貯蔵;薄板状または線条材料の取扱い)
要約
【課題】フィルムロールを支持する際の位置決めが容易なフィルムロールの製造装置及び当該製造装置によって製造されたフィルムロールを提供すること。
【解決手段】フィルムロールの製造装置は、第1の支持装置及び第2の支持装置と、切断装置と、を備える。2つの支持装置のそれぞれは、軸方向に移動可能な本体部と、径方向に拡縮可能な複数の支持部と、を有する。複数の支持部のそれぞれは、第1部位と、第2部位と、を有する。第1部位は、巻芯における軸方向の端部の内周面に当接して当該内周面を内周側から支持し、第2部位は、径方向に延び且つ巻芯における軸方向の端面に当接し端面を軸方向の外側から支持する。
【選択図】図5
特許請求の範囲
【請求項1】
中心軸の軸方向に延びる円筒状の巻芯と当該巻芯の外周に巻き付けられた樹脂フィルムとを有するフィルムロールを製造する、フィルムロールの製造装置であって、
前記巻芯における前記軸方向の中央に対して前記軸方向の一方側と他方側に配置され、且つ、前記巻芯における前記軸方向の一方側の端部と他方側の端部のそれぞれを支持する2つの支持装置と、
当該2つの支持装置に支持された前記フィルムロールにおける前記樹脂フィルムの前記軸方向の端部を切断する切断装置と、を備え、
前記2つの支持装置のそれぞれは、
前記軸方向に移動可能な本体部と、
当該本体部に取り付けられ且つ当該本体部に対して前記中心軸に直交する径方向に拡縮可能な複数の支持部と、を有し、
前記複数の支持部のそれぞれは、
前記巻芯における前記軸方向の端部の内周面に当接して当該内周面を内周側から支持する第1部位と、
前記径方向に延び且つ前記巻芯における前記軸方向の端面に当接し当該端面を前記軸方向の外側から支持する第2部位と、を有する、
フィルムロールの製造装置。
続きを表示(約 330 文字)
【請求項2】
前記第1部位と前記第2部位との交差部には、凹凸部が設けられる、
請求項1に記載のフィルムロールの製造装置。
【請求項3】
前記複数の支持部のそれぞれは、
前記第2部位における径方向外側の端から、当該径方向外側に行くに従って前記巻芯の前記端面から遠ざかるように湾曲する第3部位を有する、
請求項1又は2に記載のフィルムロールの製造装置。
【請求項4】
前記複数の支持部は、前記中心軸の周方向に沿って等間隔に複数設けられる、
請求項3に記載のフィルムロールの製造装置。
【請求項5】
請求項1又は2に記載のフィルムロールの製造装置によって製造されたフィルムロール。
発明の詳細な説明
【技術分野】
【0001】
本開示は、フィルムロールの製造装置及びフィルムロールに関する。
続きを表示(約 1,800 文字)
【背景技術】
【0002】
特許文献1に示すように、食品包装用フィルム等の包装用フィルム(以下、フィルムロールと称する)に対して加工をする装置が知られている。フィルムロールは、例えば、円筒状の巻芯と、巻芯の外周に巻き付けられた樹脂製フィルム(以下、樹脂フィルムと称する)と、を有する。
【0003】
ここで、樹脂フィルムは、巻芯の外周に巻き付けられた後に所定時間が経過すると、軸方向の外側にせり出したり、内側に収縮したりする。このような樹脂フィルムの幅変化に伴い、フィルムロールを製造する際に、樹脂フィルムの一部を切断する作業が発生する。具体的には、例えば、フィルムロールの軸方向の両端部を支持し、フィルムロールを回転させながら前記せり出し部をカッター等で切断する。
【先行技術文献】
【特許文献】
【0004】
特開2013-22905号公報
【発明の概要】
【発明が解決しようとする課題】
【0005】
しかし、フィルムロールの軸方向の両端部を、幅が変化した樹脂フィルムが覆う場合があり、支持部と巻芯の間に樹脂フィルムが巻き込まれるため、フィルムロールを支持する際の位置決めが困難になる可能性がある。
【0006】
本開示は、前記の課題に鑑みてなされたものであって、フィルムロールを支持する際の位置決めが容易なフィルムロールの製造装置及び当該製造装置によって製造されたフィルムロールを提供することを目的とする。
【課題を解決するための手段】
【0007】
前記の目的を達成するため、本開示の一態様のフィルムロールの製造装置は、中心軸の軸方向に延びる円筒状の巻芯と当該巻芯の外周に巻き付けられた樹脂フィルムとを有するフィルムロールを製造する、フィルムロールの製造装置であって、前記巻芯における前記軸方向の中央に対して前記軸方向の一方側と他方側に配置され、且つ、前記巻芯における前記軸方向の一方側の端部と他方側の端部のそれぞれを支持する2つの支持装置と、当該2つの支持装置に支持された前記フィルムロールにおける前記樹脂フィルムの前記軸方向の端部を切断する切断装置と、を備え、前記2つの支持装置のそれぞれは、前記軸方向に移動可能な本体部と、当該本体部に取り付けられ且つ当該本体部に対して前記中心軸に直交する径方向に拡縮可能な複数の支持部と、を有し、前記複数の支持部のそれぞれは、前記巻芯における前記軸方向の端部の内周面に当接して当該内周面を内周側から支持する第1部位と、前記径方向に延び且つ前記巻芯における前記軸方向の端面に当接し当該端面を前記軸方向の外側から支持する第2部位と、を有する。
【発明の効果】
【0008】
本開示によれば、フィルムロールを支持する際の位置決めが容易なフィルムロールの製造装置及び当該製造装置によって製造されたフィルムロールを提供することが可能となる。
【図面の簡単な説明】
【0009】
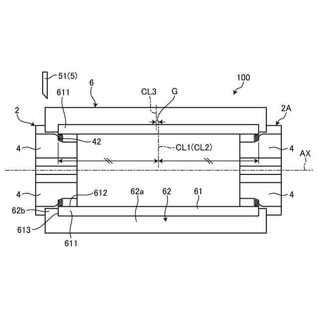
図1は、本実施形態のフィルムロールの製造装置の模式的な側面図である。
図2は、本実施形態の支持装置の斜視図である。
図3は、図2の一部を拡大した模式図である。
図4は、図3のIV-IV線による断面図である。
図5は、フィルムロールの製造装置とフィルムロールとを含む模式図である。
図6は、支持装置でフィルムロールを支持する手順を示す模式図である。
図7は、支持装置に対するフィルムロールの巻芯の位置の変化を示す模式図である。
図8は、支持部の変形例を示す模式図である。
図9は、樹脂フィルムの端部を切断する手順を示す模式図である。
【発明を実施するための形態】
【0010】
本発明を実施するための形態(実施形態)につき、図面を参照しつつ詳細に説明する。以下の実施形態に記載した内容により本発明が限定されるものではない。また、以下に記載した構成要素には、当業者が容易に想定できるもの、実質的に同一のものが含まれる。さらに、以下に記載した構成要素は適宜組み合わせることが可能である。さらに、同一構造の部位には同一符号を付けて、説明を省略する。なお、図面において、X1側は軸方向の一方側を示し、X2側は軸方向の他方側を示す。
(【0011】以降は省略されています)
この特許をJ-PlatPat(特許庁公式サイト)で参照する
関連特許
三菱ケミカル株式会社
樹脂ペレット群
19日前
三菱ケミカル株式会社
成形品の製造方法
23日前
三菱ケミカル株式会社
精製ガスの製造方法
23日前
三菱ケミカル株式会社
加工食品用粉体静菌剤
19日前
三菱ケミカル株式会社
樹脂組成物、および成形品
23日前
三菱ケミカル株式会社
構造発色用水系分散液組成物
19日前
三菱ケミカル株式会社
コロイド結晶層を含む積層体
19日前
三菱ケミカル株式会社
熱可塑性樹脂組成物及び成形品
19日前
三菱ケミカル株式会社
重合体および重合体の製造方法
9日前
三菱ケミカル株式会社
ポリアミド系樹脂フィルム、包装体
19日前
三菱ケミカル株式会社
有機電界発光素子、表示装置、照明装置
23日前
三菱ケミカル株式会社
樹脂組成物、ペレット、および、成形品
23日前
三菱ケミカル株式会社
共振シート部材、およびこれを備えた構造体
19日前
三菱ケミカル株式会社
建材用金属酸化物層被覆体、及びその製造方法
23日前
三菱ケミカル株式会社
離型フィルム、離型フィルムロール及び粘着体
23日前
三菱ケミカル株式会社
離型フィルム、離型フィルムロール及び粘着体
23日前
三菱ケミカル株式会社
重合体、樹脂用添加剤、樹脂組成物およびその成形体
19日前
三菱ケミカル株式会社
熱電変換材料、熱電変換モジュール、および熱流センサ
3日前
三菱ケミカル株式会社
フィルム、深絞り包装用フィルム、及びリサイクルフィルム
23日前
三菱ケミカル株式会社
活性エネルギー線硬化性剥離型粘着剤組成物および粘着シート
5日前
三菱ケミカル株式会社
共重合体、共重合体の製造方法、及び低分子量化合物含浸粒子
16日前
三菱ケミカル株式会社
ポリエチレンナフタレート樹脂組成物及びポリエステルフィルム
19日前
三菱ケミカル株式会社
有機電界発光素子、並びに、これを備える表示装置及び照明装置
23日前
三菱ケミカル株式会社
熱可塑性樹脂成形体の製造方法、および、熱可塑性樹脂フィルム
23日前
三菱ケミカル株式会社
電子写真感光体、電子写真感光体カートリッジ及び画像形成装置
23日前
三菱ケミカル株式会社
電子写真感光体、電子写真感光体カートリッジ及び画像形成装置
23日前
三菱ケミカル株式会社
プレススルーパッケージ蓋材フィルム及びプレススルーパッケージ
19日前
三菱ケミカル株式会社
感光性樹脂組成物、硬化物、隔壁、有機電界発光素子及び画像表示装置
23日前
三菱ケミカル株式会社
感光性樹脂組成物、硬化物、隔壁、有機電界発光素子及び画像表示装置
23日前
三菱ケミカル株式会社
コーティング組成物、コーティング層を有する構造体、及びその製造方法
6日前
三菱ケミカル株式会社
樹脂、感光性樹脂組成物、硬化物、隔壁、有機電界発光素子及び画像表示装置
23日前
三菱ケミカル株式会社
有機電界発光素子用の組成物、有機電界発光素子とその製造方法、及び表示装置
23日前
三菱ケミカル株式会社
不飽和カルボン酸合成用触媒の製造方法、および、不飽和カルボン酸合成用触媒
23日前
三菱ケミカル株式会社
不飽和カルボン酸合成用触媒の製造方法、および、不飽和カルボン酸合成用触媒
23日前
三菱ケミカル株式会社
不飽和カルボン酸合成用触媒の製造方法、および、不飽和カルボン酸合成用触媒
23日前
国立大学法人 東京大学
熱電変換材料、熱電変換モジュール、および熱流センサ
3日前
続きを見る
他の特許を見る