TOP
|
特許
|
意匠
|
商標
特許ウォッチ
Twitter
他の特許を見る
10個以上の画像は省略されています。
公開番号
2025152492
公報種別
公開特許公報(A)
公開日
2025-10-10
出願番号
2024045824
出願日
2024-03-28
発明の名称
遊技機
出願人
株式会社三共
代理人
個人
,
個人
,
個人
,
個人
主分類
A63F
7/02 20060101AFI20251002BHJP(スポーツ;ゲーム;娯楽)
要約
【課題】結果として好適な遊技機を提供すること。
【解決手段】有利状態に制御可能な遊技機であって、遊技制御手段と、演出制御手段と、を備え、第1演出モードと、第2演出モードと、を備え、演出制御手段は、対応する発光を開始した後、対応する表示を開始する特定演出を実行可能であり、第1演出モードにおける特定演出の実行割合と、第2演出モードにおける特定演出の実行割合と、が異なる。
【選択図】図245
特許請求の範囲
【請求項1】
有利状態に制御可能な遊技機であって、
遊技制御手段と、
演出制御手段と、
を備え、
通常状態と、通常状態よりも有利な特別状態と、備え、
第1演出モードと、第2演出モードと、を備え、
前記第1演出モードおよび前記第2演出モードにおいて、前記特別状態の残り回数に対応する残回数表示を表示可能であり、
前記演出制御手段は、残回数表示が更新される以降に開始される特定演出を実行可能であり、
前記第1演出モードにおいて実行可能な前記特定演出の種類数と、前記第2演出モードにおいて実行可能な前記特定演出の種類数と、が異なる、遊技機。
発明の詳細な説明
【技術分野】
【0001】
本発明は、有利状態に制御可能な遊技機に関する。
続きを表示(約 5,700 文字)
【背景技術】
【0002】
従来の遊技機は、複数の演出モードに切り替え可能であって、それぞれの演出モードにおいてブランク図柄の動作態様を異ならせることによってこれら演出モードの相違を遊技者に印象付けているものがある(例えば、特許文献1参照)。
【先行技術文献】
【特許文献】
【0003】
特開2018-139689号公報
【発明の概要】
【発明が解決しようとする課題】
【0004】
しかしながら、特許文献1にあっては、演出モード毎にブランク図柄の動作態様が異なるのみであり遊技者の興趣を向上させ難く遊技機として好適ではないという問題がある。
【0005】
本発明は、このような問題点に着目してなされたもので、結果として好適な遊技機を提供することを目的とする。
【課題を解決するための手段】
【0006】
有利状態に制御可能な遊技機であって、
遊技制御手段と、
演出制御手段と、
を備え、
通常状態と、通常状態よりも有利な特別状態と、備え、
第1演出モードと、第2演出モードと、を備え、
前記第1演出モードおよび前記第2演出モードにおいて、前記特別状態の残り回数に対応する残回数表示を表示可能であり、
前記演出制御手段は、残回数表示が更新される以降に開始される特定演出を実行可能であり、
前記第1演出モードにおいて実行可能な前記特定演出の種類数と、前記第2演出モードにおいて実行可能な前記特定演出の種類数と、が異なる、
ことを特徴としている。
この特徴によれば、残回数表示が更新される以降に開始される特定演出の種類数が演出モードによって異なることにより、演出モードによって演出の趣向を異ならせることができ、結果として好適な遊技機を提供することができる。
対応図面:図210、図249
【0007】
尚、本発明は、本発明の請求項に記載された発明特定事項のみを有するものであって良いし、本発明の請求項に記載された発明特定事項とともに該発明特定事項以外の構成を有するものであっても良い。
【図面の簡単な説明】
【0008】
実施例における遊技機を示す正面図である。
パチンコ遊技機に搭載された各種の制御基板などを示す構成図である。
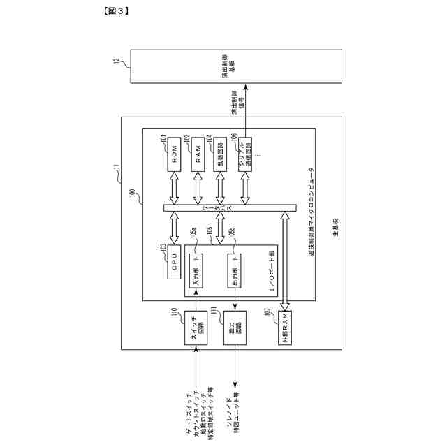
主基板の回路構成を示すブロック図である。
VRAMの内容を示す説明図である。
各描画領域の説明図である。
(A)、(B)は、演出制御コマンドを例示する図である。
各乱数を示す説明図である。
表示結果判定テーブルを示す説明図である。
(A)は大当り種別判定テーブルを示す説明図であり、(B)は大当り種別の説明図である。
はずれ演出判定テーブルを示す説明図である。
変動パターン種別判定テーブルを示す説明図である。
(A)は通常状態における変動パターンの説明図、(B)は時短状態における変動パターンの説明図、(C)は確変状態における変動パターンの説明図である。
(A)~(F)ははずれ用変動パターン判定テーブルの説明図である。
(A)~(D)ははずれ用変動パターン判定テーブルの説明図である。
(A)~(C)ははずれ用変動パターン判定テーブルの説明図である。
(A)~(C)は大当り用変動パターン判定テーブルの説明図である。
各遊技状態の説明図である。
(A)は特図ユニットの説明図であり、(B)は特別図柄の可変表示の説明図であり、(C)は演出用表示ユニットの説明図であり、(D)はサブ図柄の可変表示の説明図である。
遊技制御用データ保持エリアを示す説明図である。
入力ポートを示す説明図である。
出力ポートを示す説明図である。
(A)は演出制御用データ保持エリアを示す説明図であり、(B)は始動入賞時受信コマンドバッファを示す説明図である。
遊技制御メイン処理の一例を示すフローチャートである。
遊技制御用タイマ割込み処理の一例を示すフローチャートである。
スイッチ処理で使用されるRAMに形成される各2バイトのバッファを示す説明図である。
スイッチ処理の一例を示すフローチャートである。
乱数更新処理の一例を示すフローチャートである。
特別図柄プロセス処理の一例を示すフローチャートである。
始動口スイッチ通過処理の一例を示すフローチャートである。
始動口スイッチ通過処理において抽出した乱数値を格納するときの説明図である。
入賞時演出処理の一例を示すフローチャートである。
特別図柄通常処理の一例を示すフローチャートである。
特別図柄判定処理の一例を示すフローチャートである。
特別図柄バッファシフト処理の一例を示すフローチャートである。
特別バッファシフト処理の説明図である。
特別バッファシフト処理の説明図である。
変動パターン設定処理の一例を示すフローチャートである。
特別図柄変動処理の一例を示すフローチャートである。
特別図柄停止処理の一例を示すフローチャートである。
大当り終了処理の一例を示すフローチャートである。
表示処理の一例を示すフローチャートである。
各保留表示器の点灯制御態様の説明図である。
特別図柄表示制御処理の一例を示すフローチャートである。
表示制御処理の一例を示すフローチャートである。
(A)は始動入賞発生によるコマンド送信タイミングと保留表示器の発光制御開始タイミングの説明図であり、(B)は可変表示開始時におけるコマンド送信タイミングと保留表示器の保留記憶数減算後態様での発光制御開始タイミングの説明図であり、(C)は可変表示開始時における特別図柄の発光制御開始タイミングとか変表示時間の減算開始タイミングの説明図である。
演出制御メイン処理の一例を示すフローチャートである。
演出制御プロセス処理の一例を示すフローチャートである。
演出モード決定処理における演出モード変更契機の説明図である。
演出モード毎の背景画像及び飾り図柄の可変表示態様の説明図である。
飾り図柄の可変表示に伴う画像の表示態様、ランプの発光態様、スピーカからの音出力態様の説明図である。
リーチ前演出の実行決定割合及び演出種別決定割合の説明図である。
リーチ前演出の実行決定割合及び演出種別決定割合の説明図である。
リーチ前演出の演出種別毎の説明図である。
リーチ前演出の演出種別毎の開始タイミング及び音に関する比較の説明図である。
リーチ前演出の演出種別毎の背景に関する比較の説明図である。
リーチ前演出の演出種別毎の背景に関する比較の説明図である。
リーチ前演出の演出種別毎の背景に関する比較の説明図である。
リーチ前演出の演出種別毎の背景に関する比較の説明図である。
ステップアップ演出の説明図である。
ステップアップ演出の説明図である。
セリフ演出の説明図である。
パワフルの...演出の説明図である。
パワフルの...演出の説明図である。
夢夢ファッション演出の説明図である。
夢夢ファッション演出の説明図である。
夢夢仕事演出の説明図である。
夢夢格言演出の説明図である。
夢夢遊技説明演出の説明図である。
ジャム料理演出の説明図である。
ジャム料理演出の説明図である。
ジャム電話演出の説明図である。
ジャム〇〇ガール演出の説明図である。
ナナ想像演出の説明図である。
ナナ想像演出の説明図である。
ナナ月夜演出の説明図である。
飾り図柄の透過率が100%となる前から開始されるリーチ前演出の説明図である。
飾り図柄の透過率が100%となった後から開始されるリーチ前演出の説明図である。
各演出と背景画像との関係の説明図である。
ミニキャラ予告演出の説明図である。
特別図柄表示装置とリーチ前演出の開始タイミングの関係を示す説明図である。
特別図柄表示装置とリーチ前演出の開始タイミングの関係を示す説明図である。
BGMとリーチ前演出の演出音の関係を示す説明図である。
(A)はパチンコ遊技機におけるランプの配置位置を示す図、(B)は(A)の概略図である。
LEDドライバへの出力の仕組みを説明するための図である。
輝度データテーブルを用いたランプ制御の一例を説明するための図である。
子テーブルのタイマ管理による孫テーブルを用いたランプ制御の一例を説明するための図である。
輝度データテーブルを構成する親テーブルの一例を示す図である。
輝度データテーブルを構成する子テーブルの一例を示す図である。
輝度データテーブルを構成する孫テーブルの一例を示す図である。
輝度データテーブルを構成する孫テーブルの一例を示す図である。
輝度データテーブルを構成する孫テーブルの一例を示す図である。
(A)、(B)は同系色を説明するための図である。
可変表示中背景用及びリーチ前演出に対応する輝度データテーブルの設定内容の比較図である。
輝度データテーブル:通常変動_第1演出モード背景の親テーブルの設定内容を示す図である。
輝度データテーブル:通常変動_第1演出モード背景の子テーブルの設定内容を示す図である。
輝度データテーブル:通常変動_第1演出モード背景の孫テーブルの設定内容を示す図である。
輝度データテーブル:通常変動_第2演出モード背景の親テーブルの設定内容を示す図である。
輝度データテーブル:通常変動_第2演出モード背景の子テーブルの設定内容を示す図である。
輝度データテーブル:通常変動_第2演出モード背景の孫テーブルの設定内容を示す図である。
輝度データテーブル:通常変動_第2演出モード背景の孫テーブルの設定内容を示す図である。
【発明を実施するための形態】
【0009】
[特徴1](特定識別情報の点灯周期が1周期終了した後に開始される)
特徴1の遊技機は、
有利状態に制御可能な遊技機であって、
遊技制御手段と、
演出制御手段と、
前記遊技制御手段により制御される遊技制御手段側発光手段と、
を備え、
前記遊技制御手段は、特定識別情報の可変表示を実行するときに前記遊技制御手段側発光手段の態様を初期態様から最終態様まで切り替え可能であるとともに、該切り替えを複数回実行させることが可能であり、
第1演出モードと、第2演出モードと、第3演出モードと、を備え、
前記演出制御手段は、前記遊技制御手段側発光手段の態様を初期態様から最終態様まで切り替える最初の切り替えの期間が終了した以降に開始される特定演出を実行可能であり、
前記第1演出モードにおける前記特定演出の実行割合と、前記第2演出モードにおける前記特定演出の実行割合と、前記第3演出モードにおける前記特定演出の実行割合と、が異なる、
ことを特徴としている。
この特徴によれば、遊技制御手段側発光手段の態様を初期態様から最終態様まで切り替える最初の切り替えの期間が終了した以降に開始される特定演出の実行割合が演出モードによって異なることにより、演出モードによって演出の趣向を異ならせることができ、結果として好適な遊技機を提供することができる。
対応図面:図18、図80、図81、図176
【0010】
[特徴2](特定識別情報の点灯周期が1周期終了した後に開始される)
特徴2の遊技機は、
有利状態に制御可能な遊技機であって、
遊技制御手段と、
演出制御手段と、
前記遊技制御手段により制御される遊技制御手段側発光手段と、
を備え、
前記遊技制御手段は、特定識別情報の可変表示を実行するときに前記遊技制御手段側発光手段の態様を初期態様から最終態様まで切り替え可能であるとともに、該切り替えを複数回実行させることが可能であり、
第1演出モードと、第2演出モードと、第3演出モードと、を備え、
前記演出制御手段は、前記遊技制御手段側発光手段の態様を初期態様から最終態様まで切り替える最初の切り替えの期間が終了した以降に開始される特定演出を実行可能であり、
前記第1演出モードにおいて実行可能な前記特定演出の種類数と、前記第2演出モードにおいて実行可能な前記特定演出の種類数と、前記第3演出モードにおいて実行可能な前記特定演出の種類数と、が異なる、
ことを特徴としている。
この特徴によれば、遊技制御手段側発光手段の態様を初期態様から最終態様まで切り替える最初の切り替えの期間が終了した以降に開始される特定演出の種類数が演出モードによって異なることにより、演出モードによって演出の趣向を異ならせることができ、結果として好適な遊技機を提供することができる。
対応図面:図18、図80、図81、図176
(【0011】以降は省略されています)
この特許をJ-PlatPat(特許庁公式サイト)で参照する
関連特許
株式会社三共
遊技機
4か月前
株式会社三共
遊技機
1か月前
株式会社三共
遊技機
1か月前
株式会社三共
遊技機
1か月前
株式会社三共
遊技機
1か月前
株式会社三共
遊技機
1か月前
株式会社三共
遊技機
1か月前
株式会社三共
遊技機
1か月前
株式会社三共
遊技機
1か月前
株式会社三共
遊技機
1か月前
株式会社三共
遊技機
1か月前
株式会社三共
遊技機
1か月前
株式会社三共
遊技機
1か月前
株式会社三共
遊技機
1か月前
株式会社三共
遊技機
1か月前
株式会社三共
遊技機
1か月前
株式会社三共
遊技機
1か月前
株式会社三共
遊技機
1か月前
株式会社三共
遊技機
1か月前
株式会社三共
遊技機
1か月前
株式会社三共
遊技機
1か月前
株式会社三共
遊技機
1か月前
株式会社三共
遊技機
1か月前
株式会社三共
遊技機
1か月前
株式会社三共
遊技機
1か月前
株式会社三共
遊技機
1か月前
株式会社三共
遊技機
1か月前
株式会社三共
遊技機
1か月前
株式会社三共
遊技機
1か月前
株式会社三共
遊技機
1か月前
株式会社三共
遊技機
1か月前
株式会社三共
遊技機
1か月前
株式会社三共
遊技機
1か月前
株式会社三共
遊技機
1か月前
株式会社三共
遊技機
1か月前
株式会社三共
遊技機
1か月前
続きを見る
他の特許を見る