TOP
|
特許
|
意匠
|
商標
特許ウォッチ
Twitter
他の特許を見る
公開番号
2025152446
公報種別
公開特許公報(A)
公開日
2025-10-09
出願番号
2024054346
出願日
2024-03-28
発明の名称
作業ステージ及び作業システム
出願人
大和ハウス工業株式会社
代理人
個人
,
個人
主分類
B29C
64/245 20170101AFI20251002BHJP(プラスチックの加工;可塑状態の物質の加工一般)
要約
【課題】造形作業及び加工作業で作業スペースを兼用でき、様々な形状の三次元造形物を安定して保持できる作業ステージ及び作業システムを提供する。
【解決手段】作業ステージ2は、三次元造形装置による造形作業及び切削装置による加工作業に用いられる。作業ステージ2は、三次元造形物Mを造形及び加工するための載置台10と、三次元造形物Mを保持する複数の保持部材20と、を備える。載置台10は、造形材料を積層させる載置部11と、保持部材20を案内する長尺な案内部12と、を有する。保持部材20は、載置部11に沿って移動するベース部21と、案内部12に対して移動可能に取り付けられる取付部と、ベース部21に接続される接続部23と、載置台10に造形された三次元造形物Mを支持する支持部24と、を有する。支持部24は、ボールジョイントを介して、接続部23に取り付けられる。
【選択図】図5
特許請求の範囲
【請求項1】
三次元造形装置による造形作業及び切削装置による加工作業に用いられる作業ステージであって、
三次元造形物を造形及び加工するための載置台と、
前記載置台に対して移動可能に取り付けられ、前記三次元造形物を保持する複数の保持部材と、を備え、
前記載置台は、
造形材料を積層させる載置部と、
前記載置部の上面に設けられ、前記保持部材を案内する長尺な案内部と、を有し、
複数の前記保持部材のそれぞれは、
前記載置部に沿って移動するベース部と、
前記ベース部に設けられ、前記案内部に対して移動可能に取り付けられる取付部と、
前記ベース部に接続される接続部と、
前記接続部に接続され、前記載置台に造形された前記三次元造形物を支持する支持部と、を有し、
前記支持部は、ボールジョイント又は複数の軸を回転中心とする回転ジョイントを介して、前記接続部に取り付けられることを特徴とする作業ステージ。
続きを表示(約 1,200 文字)
【請求項2】
前記載置部の前記上面には、複数の前記案内部が形成され、
複数の前記案内部には、それぞれ複数の前記保持部材が取り付けられ、
複数の前記保持部材は、それぞれ前記取付部が前記案内部に沿って移動することで、前記三次元造形物を囲むように配置されることを特徴とする請求項1に記載の作業ステージ。
【請求項3】
前記案内部は、前記載置部の前記上面に形成された複数の溝であって、
前記載置台は、前記溝に前記三次元造形物の一部が入り込むことで、前記三次元造形物を固定することを特徴とする請求項1又は2に記載の作業ステージ。
【請求項4】
前記接続部は、前記案内部の長さ方向に沿って延びるネジ部を有し、
前記ベース部の上方部分には、前記ネジ部と螺合するネジ孔が形成され、
前記接続部は、前記ネジ部が前記ネジ孔に対して回転することで、前記案内部の前記長さ方向における前記支持部の位置を調整可能であることを特徴とする請求項1又は2に記載の作業ステージ。
【請求項5】
前記案内部は、前記載置部の前記上面に形成された溝であって、
前記取付部は、上下方向に延びる固定ネジ部を有し、
前記ベース部の下方部分には、前記固定ネジ部と螺合する固定ネジ孔が形成され、
前記取付部の下端は、前記固定ネジ部が前記固定ネジ孔に対して回転することで、前記溝の底面に当接し、
前記ベース部は、前記取付部の前記下端が前記溝の底面に当接することで、前記載置部に固定されることを特徴とする請求項1又は2に記載の作業ステージ。
【請求項6】
請求項1又は2に記載の前記作業ステージと、
前記造形材料を前記作業ステージに積層する前記三次元造形装置と、
前記三次元造形装置によって造形された前記三次元造形物を前記作業ステージ上で切削する前記切削装置と、を備えた作業システムであって、
複数の前記保持部材は、
前記案内部の端部に配置される通常位置と前記三次元造形物を保持する保持位置とに切り替え可能であって、
前記三次元造形物が前記作業ステージ上で切削されるとき、前記通常位置から前記保持位置に切り替えられることを特徴とする作業システム。
【請求項7】
前記三次元造形装置及び前記切削装置のいずれか一方を取り付け可能であり、前記三次元造形装置又は前記切削装置を移動させるマニピュレータと、
前記マニピュレータに設けられ、前記三次元造形装置と前記切削装置とを付け替え可能なアタッチメントと、
前記三次元造形装置を収容するための第一収容ラックと、
前記切削装置を収容するための第二収容ラックと、を備え、
前記作業ステージは、前記第一収容ラック、前記第二収容ラック、及び前記マニピュレータに隣接した位置に配置されることを特徴とする請求項6に記載の作業システム。
発明の詳細な説明
【技術分野】
【0001】
本発明は、作業ステージ及び作業システムに係り、特に、三次元造形装置による造形作業及び切削装置による加工作業に用いられる作業ステージ及び作業ステージを備えた作業システムに関する。
続きを表示(約 2,200 文字)
【背景技術】
【0002】
従来、コンピュータ上で作成した3D-CAD(Computer Aided Design)データを設計図として、三次元造形材料を三次元上に積層配置することで三次元造形物を造形することが可能な3Dプリンタ技術が知られている。
例えば、三次元造形材料となる熱可塑性樹脂を熱溶解して押出機のノズル部から押し出し、作業ステージ上に積層させながら造形する熱溶解積層方式(Fused Deposition Modeling、FDM方式)による3Dプリンタ技術が広く知られている。
【0003】
特許文献1には、押出機のノズル部から押し出された造形材料を積層する作業ステージが開示されている。特許文献1に記載の三次元造形装置用の作業ステージは、非極性樹脂材料からなるプラットフォームシートを有し、プラットフォームシートに造形材料を融着させることで三次元造形物を保持している。
【先行技術文献】
【特許文献】
【0004】
特開2020-104373号公報
【発明の概要】
【発明が解決しようとする課題】
【0005】
一般に、三次元造形装置によって作業ステージ上に造形された三次元造形物は、研磨や穴あけ加工が施され、より精度の高い製品に仕上げられる。三次元造形装置用の作業ステージで、そのまま切削加工が施される場合、三次元造形物の位置ズレを抑止する必要がある。しかしながら、特許文献1に記載のようなプラットフォームシートでは、三次元造形物の保持力が低く、位置ズレが発生するおそれがあった。
また、三次元造形物の保持力を向上させるために、例えば板状クランプ部材で押圧保持することが考えられるが、三次元造形物は曲面を多く伴う複雑な形状を有する場合が多い。そのため、板状のクランプ部材では様々な形状の三次元造形物を十分に保持できないおそれもあった。
【0006】
本発明は、上記の課題に鑑みてなされたものであり、本発明の目的は、造形作業及び加工作業で作業スペースを兼用でき、様々な形状の三次元造形物を安定して保持できる作業ステージ及び作業システムを提供することにある。
【課題を解決するための手段】
【0007】
前記課題は、本発明の作業ステージによれば、三次元造形装置による造形作業及び切削装置による加工作業に用いられる作業ステージであって、三次元造形物を造形及び加工するための載置台と、前記載置台に対して移動可能に取り付けられ、前記三次元造形物を保持する複数の保持部材と、を備え、前記載置台は、造形材料を積層させる載置部と、前記載置部の上面に設けられ、前記保持部材を案内する長尺な案内部と、を有し、複数の前記保持部材のそれぞれは、前記載置部に沿って移動するベース部と、前記ベース部に設けられ、前記案内部に対して移動可能に取り付けられる取付部と、前記ベース部に接続される接続部と、前記接続部に接続され、前記載置台に造形された前記三次元造形物を支持する支持部と、を有し、前記支持部は、ボールジョイント又は複数の軸を回転中心とする回転ジョイントを介して、前記接続部に取り付けられることにより解決される。
【0008】
上記構成により、造形作業から加工作業に移行するときには、保持部材を移動させて三次元造形物を保持することで、作業の用途に合わせて作業ステージを変化させることができる。したがって、作業場所を移動することなく、作業の用途に合わせて三次元造形物を保持できるため、作業効率が向上する。
また、ボールジョイント又は回転ジョイントによって支持部の位置を調整できるため、複雑な曲面を有する三次元造形物であっても、三次元造形物を安定して保持できる。
したがって、造形作業及び加工作業で作業スペースを兼用でき、様々な形状の三次元造形物を安定して保持できる。
【0009】
このとき、前記載置部の前記上面には、複数の前記案内部が形成され、複数の前記案内部には、それぞれ複数の前記保持部材が取り付けられ、複数の前記保持部材は、それぞれ前記取付部が前記案内部に沿って移動することで、前記三次元造形物を囲むように配置されるとよい。
上記構成により、複数の保持部材が三次元造形物を囲むように配置されるため、複雑な曲面を有する三次元造形物であっても、三次元造形物をより一層安定して保持できる。
【0010】
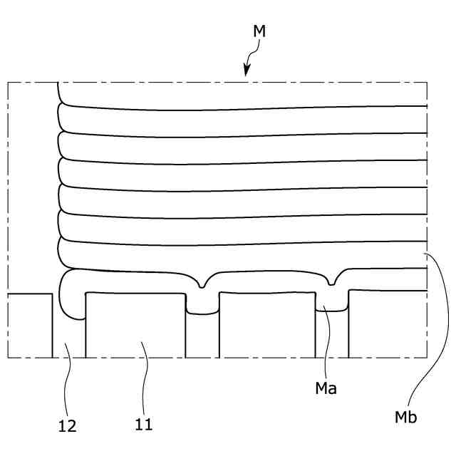
このとき、前記案内部は、前記載置部の前記上面に形成された複数の溝であって、前記載置台は、前記溝に前記三次元造形物の一部が入り込むことで、前記三次元造形物を固定するとよい。
上記構成により、造形材料が入り込むように形成された溝部によって、造形材料が溝部に入り込んで三次元造形物を載置台に固定することができる。そのため、造形作業時にも三次元造形物を安定させることができる。また、固定するための溝を利用して保持部材を移動させるため、造形作業時と加工作業時の構成部材を兼用できる。したがって、作業ステージの製造コストを低減することができる。
(【0011】以降は省略されています)
この特許をJ-PlatPat(特許庁公式サイト)で参照する
関連特許
他の特許を見る