TOP
|
特許
|
意匠
|
商標
特許ウォッチ
Twitter
他の特許を見る
公開番号
2025151844
公報種別
公開特許公報(A)
公開日
2025-10-09
出願番号
2024053445
出願日
2024-03-28
発明の名称
開閉体の吊元構造
出願人
文化シヤッター株式会社
代理人
個人
,
個人
主分類
E06B
9/171 20060101AFI20251002BHJP(戸,窓,シャッタまたはローラブラインド一般;はしご)
要約
【課題】開閉体の開閉時に生じる異音や動作不良を抑制できる開閉体の吊元構造を提供する。
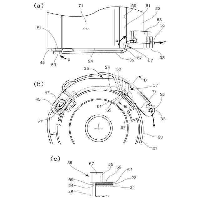
【解決手段】開閉体25の上端から突出する吊元リンク35が巻取ドラムに支持される開閉体の吊元構造であって、巻取ドラムの両端外周には吊元ドラム23が固定され、吊元ドラム23には軸線に沿う方向の取付穴43が端面24に開口して形成され、吊元リンク35は、吊元ドラム23の端面24に平行な先端板部45に連結穴47が穿設されるとともに、連結穴47が連結部材で取付穴43に支持され、先端板部45と反対側の基端板部55が枢支ピンで開閉体25の端部に連結され、先端板部45と基端板部55の間に、端面24の外側から吊元ドラム23の外周面71側に突出して基端板部55を外周面71側にオフセットさせるクランク曲げ部57が形成され、吊元ドラム23は、クランク曲げ部57が接触する外周面71に、軸線に沿う溝59を有する。
【選択図】 図4
特許請求の範囲
【請求項1】
開閉体の上端から突出する吊元リンクが巻取ドラムに支持される開閉体の吊元構造であって、
前記巻取ドラムの両端外周には吊元ドラムが固定され、
前記吊元ドラムには軸線に沿う方向の取付穴が端面に開口して形成され、
前記吊元リンクは、前記吊元ドラムの端面に平行な先端板部に連結穴が穿設されるとともに、前記連結穴が連結部材で前記取付穴に支持され、前記先端板部と反対側の基端板部が枢支ピンで前記開閉体の端部に連結され、前記先端板部と前記基端板部の間に、前記端面の外側から前記吊元ドラムの外周面側に突出して前記基端板部を前記外周面側にオフセットさせるクランク曲げ部が形成され、
前記吊元ドラムは、前記クランク曲げ部が接触する外周面に、軸線に沿う溝を有することを特徴とする開閉体の吊元構造。
続きを表示(約 950 文字)
【請求項2】
開閉体の上端から突出する吊元リンクが巻取ドラムに支持される開閉体の吊元構造であって、
前記巻取ドラムの両端外周には吊元ドラムが固定され、
前記吊元ドラムには軸線に沿う方向の取付穴が端面に開口して形成され、
前記吊元リンクは、前記吊元ドラムの端面に平行な先端板部に連結穴が穿設されるとともに、前記連結穴が連結部材で前記取付穴に支持され、前記先端板部と反対側の基端板部が枢支ピンで前記開閉体の端部に連結され、前記先端板部と前記基端板部の間に、前記端面の外側から前記吊元ドラムの外周面側に突出して前記基端板部を前記外周面側にオフセットさせるクランク曲げ部が形成され、
前記吊元ドラムは、前記クランク曲げ部が接触する外周面に、緩衝材を有することを特徴とする開閉体の吊元構造。
【請求項3】
開閉体の上端から突出する吊元リンクが巻取ドラムに支持される開閉体の吊元構造であって、
前記巻取ドラムの両端外周には吊元ドラムが固定され、
前記吊元ドラムには軸線に沿う方向の取付穴が端面に開口して形成され、
前記吊元リンクは、前記吊元ドラムの端面に平行な先端板部に連結穴が穿設されるとともに、前記連結穴が連結部材で前記取付穴に支持され、前記先端板部と反対側の基端板部が枢支ピンで前記開閉体の端部に連結され、前記先端板部と前記基端板部の間に、前記端面の外側から前記吊元ドラムの外周面側に突出して前記基端板部を前記外周面側にオフセットさせるクランク曲げ部が形成され、
前記吊元ドラムは、前記クランク曲げ部が接触する外周面に、軸線に沿う溝を有し、前記溝に緩衝材が設けられることを特徴とする開閉体の吊元構造。
【請求項4】
前記緩衝材が、グリスであることを特徴とする請求項2または請求項3に記載の開閉体の吊元構造。
【請求項5】
前記緩衝材が、滑る表面を持つ素材よりなる滑部材であることを特徴とする請求項2または請求項3に記載の開閉体の吊元構造。
【請求項6】
前記緩衝材が、柔軟性を持つ素材よりなる弾性部材であることを特徴とする請求項2または請求項3に記載の開閉体の吊元構造。
発明の詳細な説明
【技術分野】
【0001】
本発明は、開閉体の吊元構造に関する。
続きを表示(約 4,200 文字)
【背景技術】
【0002】
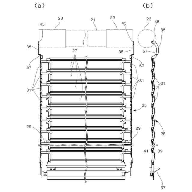
シャッターカーテンなどの開閉体は、巻取式の場合、開閉体の上縁が巻取ドラムに連結される。従来、開閉体の上縁は、巻取ドラムの外周面にボルト止めなどで固定されていた(例えば特許文献1参照)。一方、開閉体には、スラット同士の連結構成として、スラットの両端から枢支ピンが突出して設けられ、その枢支ピン同士がリンクによって連結されるものがある。このような構成の開閉体では、巻取ドラムの両端よりも内側にリンクが巻かれていく。このため、リンクを巻取ドラムに連結する最上端の吊元リンクは、上端側の先端板部が巻取ドラムの端よりも外側から巻取ドラムの端に連結され、開閉体と繋がる下端の基端板部が巻取ドラムの端よりも内側、つまり外周面側へオフセットしてリンクに接続される。
【先行技術文献】
【特許文献】
【0003】
特開2013-83100号公報
【発明の概要】
【発明が解決しようとする課題】
【0004】
しかしながら、吊元リンクは、吊元ドラムの端面から吊元ドラムの外周面へオフセットするために、外周面へ乗り上げる部分が必要となる。この乗り上げる部分は、吊元リンクの先端板部と基端板部との間に、クランク曲げ部を形成することにより、先端板部と基端板部とをオフセットさせている。ここで、先端板部と基端板部とは、いずれも巻取ドラムの端面と平行な板部となる。この端面と平行な板部をクランク曲げすると、端面と平行な先端板部と基端板部との間に、端面と直交する軸線平行板部が形成されることになる。この軸線平行板部は、巻取ドラムの外周面に位置する。開閉体は、リンクが巻取ドラムの外周面に巻かれていく際、このクランク曲げ部における軸線平行板部のエッジ(稜線部)が、軸線に平行な向きとなって外周面に接触する。シャッター装置では、開口部を開放した際、開閉体が巻取ドラムの外周面に巻き取られるが、この開閉体が巻き締められることがある。すると、アルミ製の巻取ドラム(或いは吊元ドラム)の外周面に、スチール製の吊元リンクにおける軸線平行板部のエッジが接触し、巻き締めが増すごとに食い込むことになって、互いの素材の硬度の差から吊元ドラムが削れて傷がつき、そこに軸線平行板部が噛み込むようになり、吊元リンクが引っ掛かることとなって、特に開閉体を閉鎖動作させる繰り出し動作時に、吊元リンクのエッジが食い込んだ状態から急激に離脱するような動作となって、音鳴りや引っ掛かりの動作が発生して問題となる場合があった。
【0005】
本発明は上記状況に鑑みてなされたもので、その目的は、開閉体の開閉時に生じる異音や動作不良を抑制できる開閉体の吊元構造を提供することにある。
【課題を解決するための手段】
【0006】
次に、上記の課題を解決するための手段を、実施の形態に対応する図面を参照して説明する。
本発明の請求項1記載の開閉体の吊元構造は、開閉体25の上端から突出する吊元リンク35が巻取ドラム21に支持される開閉体の吊元構造であって、
前記巻取ドラム21の両端外周には吊元ドラム23が固定され、
前記吊元ドラム23には軸線に沿う方向の取付穴43が端面24に開口して形成され、
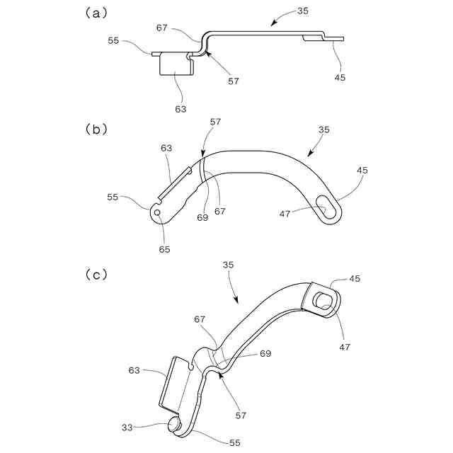
前記吊元リンク35は、前記吊元ドラム23の端面24に平行な先端板部45に連結穴47が穿設されるとともに、前記連結穴47が連結部材49で前記取付穴43に支持され、前記先端板部45と反対側の基端板部55が枢支ピン33で前記開閉体25の端部に連結され、前記先端板部45と前記基端板部55の間に、前記端面24の外側から前記吊元ドラム23の外周面71側に突出して前記基端板部55を前記外周面71側にオフセットさせるクランク曲げ部57が形成され、
前記吊元ドラム23は、前記クランク曲げ部57が接触する外周面71に、軸線に沿う溝59を有することを特徴とする。
【0007】
この開閉体の吊元構造では、吊元リンク35が、吊元ドラム23の端面24から外周面71側にオフセットしてリンク31を巻いていく。吊元ドラム23には、吊元リンク35の次のリンク31およびスラット27が外周面71に乗って巻かれていく。開閉体25を巻き取っていくと、吊元リンク35の上にはリンク31が重なって巻き取られ、順に積み重なる。
吊元リンク35は、リンク31をオフセットさせるため、途中が曲がったクランク曲げ部57を有している。吊元リンク35は、次のリンク31とスラット27が吊元ドラム23の外周面71に乗って巻かれていくと、開閉体25が巻き締められることで、クランク曲げ部57が吊元ドラム23の外周面71に押しつけられる。
開閉体の吊元構造では、クランク曲げ部57が接触する吊元ドラム23の外周面71に、溝59が形成される。吊元リンク35は、開閉体25が巻き締められても、この溝59によって、吊元ドラム23の外周面71にクランク曲げ部57が直接接触しないようになる。
クランク曲げ部57には、軸線平行板部67を有する。溝59は、少なくともこの軸線平行板部67のエッジ69が接触しない溝幅で設けられる。吊元リンク35は、外周面71を削るもっとも大きな要因となる軸線平行板部67やその両端に繋がる曲げ部が、外周面71に非接触となるので、外周面71に傷をつけなくなり、その傷への引っ掛かりも生じなくなる。
このように開閉体の吊元構造では、クランク曲げ部57が吊元ドラム23に直接接触しないので、経時的に、アルミ製である吊元ドラム23の外周面71に、スチール製である吊元リンク35のエッジ69が接触して、外周面71を削って傷をつけることが抑制される。これにより、想定した位置で吊元リンク35が吊元ドラム23からスムースに離れるようになり、引っ掛かりによる音鳴りや動作不良が発生しなくなる。
【0008】
本発明の請求項2記載の開閉体の吊元構造は、開閉体25の上端から突出する吊元リンク35が巻取ドラム21に支持される開閉体の吊元構造であって、
前記巻取ドラム21の両端外周には吊元ドラム23が固定され、
前記吊元ドラム23には軸線に沿う方向の取付穴43が端面24に開口して形成され、
前記吊元リンク35は、前記吊元ドラム23の端面24に平行な先端板部45に連結穴47が穿設されるとともに、前記連結穴47が連結部材49で前記取付穴43に支持され、前記先端板部45と反対側の基端板部55が枢支ピン33で前記開閉体25の端部に連結され、前記先端板部45と前記基端板部55の間に、前記端面24の外側から前記吊元ドラム23の外周面71側に突出して前記基端板部55を前記外周面71側にオフセットさせるクランク曲げ部57が形成され、
前記吊元ドラム23は、前記クランク曲げ部57が接触する外周面71に、緩衝材61を有することを特徴とする。
【0009】
この開閉体の吊元構造では、吊元リンク35が、吊元ドラム23の端面24から外周面71側にオフセットしてリンク31を巻いていく。吊元ドラム23には、吊元リンク35の次のリンク31およびスラット27が外周面71に乗って巻かれていく。開閉体25を巻き取っていくと、吊元リンク35の上にはリンク31が重なって巻き取られ、順に積み重なる。
吊元リンク35は、リンク31をオフセットさせるため、途中が曲がったクランク曲げ部57を有している。吊元リンク35は、次のリンク31とスラット27が吊元ドラム23の外周面71に乗って巻かれていくと、開閉体25が巻き締められることで、クランク曲げ部57が吊元ドラム23の外周面71に押しつけられる。
開閉体の吊元構造では、クランク曲げ部57が接触する吊元ドラム23の外周面71に、緩衝材61が設けられる。吊元リンク35は、開閉体25が巻き締められても、この緩衝材61によって、吊元ドラム23の外周面71にクランク曲げ部57が直接接触しないようになる。
クランク曲げ部57には、軸線平行板部67を有する。緩衝材61は、少なくともこの軸線平行板部67のエッジ69が接触しない面積で設けられる。吊元リンク35は、外周面71を削るもっとも大きな要因となる軸線平行板部67やその両端に繋がる曲げ部が、外周面71に非接触となるので、外周面71に傷をつけなくなり、その傷への引っ掛かりも生じなくなる。
このように開閉体の吊元構造では、クランク曲げ部57が吊元ドラム23に直接接触しないので、経時的に、アルミ製である吊元ドラム23の外周面71に、スチール製である吊元リンク35のエッジ69が接触して、外周面71を削って傷をつけることが抑制される。これにより、想定した位置で吊元リンク35が吊元ドラム23からスムースに離れるようになり、引っ掛かりによる音鳴りや動作不良が発生しなくなる。
【0010】
本発明の請求項3記載の開閉体の吊元構造は、開閉体25の上端から突出する吊元リンク35が巻取ドラム21に支持される開閉体の吊元構造であって、
前記巻取ドラム21の両端外周には吊元ドラム23が固定され、
前記吊元ドラム23には軸線に沿う方向の取付穴43が端面24に開口して形成され、
前記吊元リンク35は、前記吊元ドラム23の端面24に平行な先端板部45に連結穴47が穿設されるとともに、前記連結穴47が連結部材49で前記取付穴43に支持され、前記先端板部45と反対側の基端板部55が枢支ピン33で前記開閉体25の端部に連結され、前記先端板部45と前記基端板部55の間に、前記端面24の外側から前記吊元ドラム23の外周面71側に突出して前記基端板部55を前記外周面71側にオフセットさせるクランク曲げ部57が形成され、
前記吊元ドラム23は、前記クランク曲げ部57が接触する外周面71に、軸線に沿う溝59を有し、前記溝59に緩衝材61が設けられることを特徴とする。
(【0011】以降は省略されています)
この特許をJ-PlatPat(特許庁公式サイト)で参照する
関連特許
他の特許を見る