TOP
|
特許
|
意匠
|
商標
特許ウォッチ
Twitter
他の特許を見る
公開番号
2025151577
公報種別
公開特許公報(A)
公開日
2025-10-09
出願番号
2024053083
出願日
2024-03-28
発明の名称
積層セラミックコンデンサー製造用積層ポリエステルフィルム及びその応用
出願人
三菱ケミカル株式会社
代理人
弁理士法人特許事務所サイクス
主分類
B32B
27/36 20060101AFI20251002BHJP(積層体)
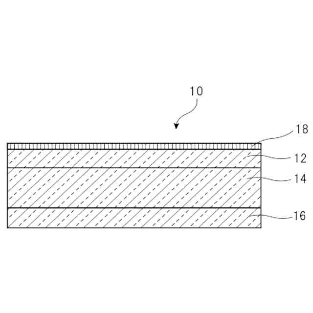
要約
【課題】本発明は、積層セラミックコンデンサーの製造工程において成形されたセラミックグリーンシートの剥離性を高めることができる支持体(ポリエステルフィルム)を提供することを課題とする。
【解決手段】本発明は、表面層、中間層及び裏面層を有する積層ポリエステルフィルムであって、中間層は再生ポリエステル樹脂を含み、積層セラミックコンデンサーの製造工程に用いられる、積層セラミックコンデンサー製造用積層ポリエステルフィルムに関する。
【選択図】図1
特許請求の範囲
【請求項1】
表面層、中間層及び裏面層を有する積層ポリエステルフィルムであって、
前記中間層は再生ポリエステル樹脂を含み、
積層セラミックコンデンサーの製造工程に用いられる、積層セラミックコンデンサー製造用積層ポリエステルフィルム。
続きを表示(約 630 文字)
【請求項2】
積層セラミックコンデンサーの製造工程において、セラミックグリーンシートの支持体として用いられる、請求項1に記載の積層ポリエステルフィルム。
【請求項3】
前記表面層の最大山高さ(Sp)が90nm以下である、請求項1に記載の積層ポリエステルフィルム。
【請求項4】
前記表面層の最大山高さ(Sp)を前記表面層の算術平均高さ(Sa)で除した値(Sp/Sa)が83以下である、請求項1に記載の積層ポリエステルフィルム。
【請求項5】
前記表面層の算術平均高さ(Sa)が0.9~15nmである、請求項1に記載の積層ポリエステルフィルム。
【請求項6】
前記表面層の厚みが2μm超である、請求項1に記載の積層ポリエステルフィルム。
【請求項7】
前記表面層上に塗布層をさらに有する、請求項1に記載の積層ポリエステルフィルム。
【請求項8】
前記表面層及び前記塗布層の合計厚みが2μm超である、請求項7に記載の積層ポリエステルフィルム。
【請求項9】
前記裏面層の最大山高さ(Sp)が10~700nm以下である、請求項1に記載の積層ポリエステルフィルム。
【請求項10】
前記裏面層の算術平均高さ(Sa)が1~35nm以下である、請求項1に記載の積層ポリエステルフィルム。
(【請求項11】以降は省略されています)
発明の詳細な説明
【技術分野】
【0001】
本発明は、積層セラミックコンデンサー製造用積層ポリエステルフィルム、離型フィルム、セラミックグリーンシート付き積層ポリエステルフィルム、セラミックグリーンシートの支持体としての使用及びセラミックグリーンシートの製造方法に関する。
続きを表示(約 1,700 文字)
【背景技術】
【0002】
ポリエチレンテレフタレートフィルムやポリエチレンナフタレートフィルムに代表されるポリエステルフィルムは、機械的特性、寸法安定性、平坦性、耐熱性、耐薬品性、光学特性等において優れた特性を有し、コストパフォーマンスに優れるため、各種用途に使用されている。例えば、ポリエステルフィルムは、フィルム表面の平滑性を利用して、積層セラミックコンデンサーのグリーンシートを成形するための離型フィルムや、層間絶縁樹脂離型用基材、ドライフィルムレジスト用基材など、各種用途に好適に用いられている。
【0003】
近年、自動車の電装化やスマートフォンの高機能化等に伴い、積層セラミックコンデンサー(Multi-Layered-Ceramic-Capacitor;MLCC)の小型化及び高容量化が進んでいる。
【0004】
積層セラミックコンデンサーは、次のようにして製造される。まず、離型フィルム上に、セラミック成分及びバインダー樹脂を含むセラミックスラリーを塗工し、乾燥することでセラミックグリーンシート(誘電体シート)を作製する。これに電極をスクリーン印刷法等により印刷して内部電極とし、乾燥した後に印刷済のセラミックグリーンシートを離型フィルムから剥離し、このようなグリーンシートを多数積層させる。積層させたグリーンシートをプレスして一体化させた後、個々のチップに切断する。その後、焼成炉で内部電極及び誘電体層を焼結させ、積層セラミックコンデンサーが製造される。
【0005】
積層セラミックコンデンサーの小型及び高容量化に際して、セラミックグリーンシートの薄膜化が進んでいる。セラミックグリーンシートの薄膜化が0.5μm(乾燥後の厚み)以下とさらに進行すると、キャリアフィルムとしての離型フィルムの表面に微小な突起があれば、これに起因して、セラミックグリーンシートにピンホール等が発生する。このためセラミックグリーンシート製造用の離型フィルムには、高度な表面平滑性が求められている。
【0006】
従来、この種の離型フィルムの支持体として、特許文献1には、第1の面と第2の面とを有する基材と、基材の第1の面側に設けられた平滑化層と、平滑化層の基材と反対の面側に設けられた剥離剤層とを有し、平滑化層は、重量平均分子量が950以下の熱硬化性化合物を含む平滑化層形成用組成物を加熱して硬化させることにより形成されており、剥離剤層の外表面の算術平均粗さRa
1
が8nm以下であり、かつ、剥離剤層の外表面の最大突起高さRp
1
が50nm以下であることを特徴とするセラミックグリーンシート製造用剥離フィルムが開示されている。
【0007】
また、特許文献2には、表面の平滑性に優れ、特にフィルム表面の微細な欠点が少ない離型用ポリエステルフィルムとして、深さ0.5μm以上の窪み欠点数が5個/m
2
以下であり、少なくとも片面の表面の中心線平均粗さSRaが15~35nm、十点平均粗さSRzが1000nm以下である離型用ポリエステルフィルムが開示されている。
【0008】
また、特許文献3には、ポリエステルフィルムを巻き取ってなるポリエステルフィルムロールであって、ポリエステルフィルムに存在するスラック欠点が、100m
2
あたり5個未満である、ポリエステルフィルムが開示されている。
【先行技術文献】
【特許文献】
【0009】
特開2014-177093号公報
特開2013-7054号公報
特開2018-90803号公報
【発明の概要】
【発明が解決しようとする課題】
【0010】
近年は、積層セラミックコンデンサーの小型及び高容量化に際して、セラミックグリーンシートの薄膜化が進んでいる。しかしながら、セラミックグリーンシートの薄膜化が進むほど、支持体(基材)からセラミックグリーンシートを剥離することが難しいという課題があった。
(【0011】以降は省略されています)
この特許をJ-PlatPat(特許庁公式サイト)で参照する
関連特許
他の特許を見る