TOP
|
特許
|
意匠
|
商標
特許ウォッチ
Twitter
他の特許を見る
公開番号
2025151576
公報種別
公開特許公報(A)
公開日
2025-10-09
出願番号
2024053082
出願日
2024-03-28
発明の名称
積層ポリエステルフィルム及びその応用
出願人
三菱ケミカル株式会社
代理人
弁理士法人特許事務所サイクス
主分類
B32B
27/36 20060101AFI20251002BHJP(積層体)
要約
【課題】本発明は、再生ポリエステル樹脂を含み、かつ優れた表面平滑性を有するポリエステルフィルムを提供することを課題とする。
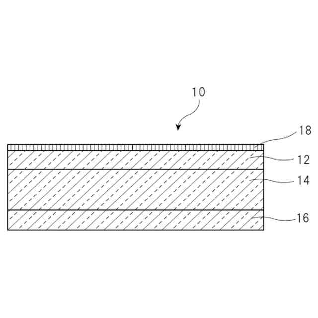
【解決手段】本発明は、表面層、中間層及び裏面層を有する積層ポリエステルフィルムであって、中間層は再生ポリエステル樹脂を含み、表面層の最大山高さ(Sp)が90nm以下である、積層ポリエステルフィルムに関する。
【選択図】図1
特許請求の範囲
【請求項1】
表面層、中間層及び裏面層を有する積層ポリエステルフィルムであって、
前記中間層は再生ポリエステル樹脂を含み、
前記表面層の最大山高さ(Sp)が90nm以下である、積層ポリエステルフィルム。
続きを表示(約 590 文字)
【請求項2】
前記表面層の最大山高さ(Sp)を前記表面層の算術平均高さ(Sa)で除した値(Sp/Sa)が83以下である、請求項1に記載の積層ポリエステルフィルム。
【請求項3】
前記表面層の算術平均高さ(Sa)が0.9~15nmである、請求項1に記載の積層ポリエステルフィルム。
【請求項4】
前記表面層の厚みが2μm超である、請求項1に記載の積層ポリエステルフィルム。
【請求項5】
前記表面層上に塗布層をさらに有する、請求項1に記載の積層ポリエステルフィルム。
【請求項6】
前記表面層及び前記塗布層の合計厚みが2μm超である、請求項5に記載の積層ポリエステルフィルム。
【請求項7】
前記裏面層の最大山高さ(Sp)が10~700nm以下である、請求項1に記載の積層ポリエステルフィルム。
【請求項8】
前記裏面層の算術平均高さ(Sa)が1~35nm以下である、請求項1に記載の積層ポリエステルフィルム。
【請求項9】
前記表面層の弾性変形仕事が51%以上である、請求項1に記載の積層ポリエステルフィルム。
【請求項10】
空気漏れ指数が6800秒以下である、請求項1に記載の積層ポリエステルフィルム。
(【請求項11】以降は省略されています)
発明の詳細な説明
【技術分野】
【0001】
本発明は、積層ポリエステルフィルム、離型フィルム、セラミックグリーンシート付き積層ポリエステルフィルム、セラミックグリーンシートの支持体としての使用及びセラミックグリーンシートの製造方法に関する。
続きを表示(約 1,700 文字)
【背景技術】
【0002】
ポリエチレンテレフタレートフィルムやポリエチレンナフタレートフィルムに代表されるポリエステルフィルムは、機械的特性、寸法安定性、平坦性、耐熱性、耐薬品性、光学特性等において優れた特性を有し、コストパフォーマンスに優れるため、各種用途に使用されている。例えば、ポリエステルフィルムは、フィルム表面の平滑性を利用して、積層セラミックコンデンサーのグリーンシートを成形するための離型フィルムや、層間絶縁樹脂離型用基材、ドライフィルムレジスト用基材など、各種用途に好適に用いられている。
【0003】
例えば、ポリエステルフィルムは積層セラミックコンデンサーのグリーンシートを成形するための離型フィルムの支持体として用いられる。近年、積層セラミックコンデンサーについては小型及び高容量化が進められており、セラミックグリーンシートの薄膜化が進んでいる。セラミックグリーンシートの薄膜化が0.5μm(乾燥後の厚み)以下とさらに進行すると、キャリアフィルムとしての離型フィルムの表面に微小な突起があれば、これに起因して、セラミックグリーンシートにピンホール等が発生する。このためセラミックグリーンシート製造用の離型フィルムには、高度な表面平滑性が求められている。
【0004】
従来、この種の離型フィルムの支持体として、特許文献1には、第1の面と第2の面とを有する基材と、基材の第1の面側に設けられた平滑化層と、平滑化層の基材と反対の面側に設けられた剥離剤層とを有し、平滑化層は、重量平均分子量が950以下の熱硬化性化合物を含む平滑化層形成用組成物を加熱して硬化させることにより形成されており、剥離剤層の外表面の算術平均粗さRa
1
が8nm以下であり、かつ、剥離剤層の外表面の最大突起高さRp
1
が50nm以下であることを特徴とするセラミックグリーンシート製造用剥離フィルムが開示されている。
【0005】
また、特許文献2には、表面の平滑性に優れ、特にフィルム表面の微細な欠点が少ない離型用ポリエステルフィルムとして、深さ0.5μm以上の窪み欠点数が5個/m
2
以下であり、少なくとも片面の表面の中心線平均粗さSRaが15~35nm、十点平均粗さSRzが1000nm以下である離型用ポリエステルフィルムが開示されている。
【0006】
また、特許文献3には、ポリエステルフィルムを巻き取ってなるポリエステルフィルムロールであって、ポリエステルフィルムに存在するスラック欠点が、100m
2
あたり5個未満である、ポリエステルフィルムが開示されている。
【先行技術文献】
【特許文献】
【0007】
特開2014-177093号公報
特開2013-7054号公報
特開2018-90803号公報
【発明の概要】
【発明が解決しようとする課題】
【0008】
ところで、近年は、環境問題の高まり及び省資源の面から、使用済みのPETボトル等のPET容器のリサイクルが行われており、その活用方法が注目されている。しかしながら、PET容器をリサイクルするということは市場に出てゴミとなった物を回収して再生原料とすることであるため、化石燃料由来のPET原料(バージンPET原料)と比較して、原料中に含まれる異物量が多くなる。このため、とりわけ優れた表面平滑性が要求されるセラミックグリーンシート製造用のポリエステルフィルム基材には、リサイクルポリエステル原料を使用し難いという課題があった。
【0009】
そこで本発明者らは、このような従来技術の課題を解決するために、再生ポリエステル樹脂を含み、かつ優れた表面平滑性を有するポリエステルフィルムを提供することを目的として検討を進めた。
【課題を解決するための手段】
【0010】
本発明の具体的な態様の例を以下に示す。
(【0011】以降は省略されています)
この特許をJ-PlatPat(特許庁公式サイト)で参照する
関連特許
三菱ケミカル株式会社
積層体
26日前
三菱ケミカル株式会社
積層体
25日前
三菱ケミカル株式会社
積層体
24日前
三菱ケミカル株式会社
粘着剤組成物
26日前
三菱ケミカル株式会社
樹脂ペレット群
19日前
三菱ケミカル株式会社
成形品の製造方法
23日前
三菱ケミカル株式会社
精製ガスの製造方法
23日前
三菱ケミカル株式会社
精製ガスの製造方法
23日前
三菱ケミカル株式会社
重合体及び樹脂組成物
24日前
三菱ケミカル株式会社
加工食品用粉体静菌剤
19日前
三菱ケミカル株式会社
オルガノポリシロキサン
24日前
三菱ケミカル株式会社
ポリエステル樹脂組成物
24日前
三菱ケミカル株式会社
ポリウレタンエラストマー
25日前
三菱ケミカル株式会社
樹脂組成物、および成形品
23日前
三菱ケミカル株式会社
コロイド結晶層を含む積層体
19日前
三菱ケミカル株式会社
構造発色用水系分散液組成物
19日前
三菱ケミカル株式会社
重合体および重合体の製造方法
9日前
三菱ケミカル株式会社
熱可塑性樹脂組成物及び成形品
19日前
三菱ケミカル株式会社
ポリウレタン樹脂及びその成形品
25日前
三菱ケミカル株式会社
ケイ素及びヘテロ原子含有化合物
25日前
三菱ケミカル株式会社
プログラム、方法、情報処理装置
24日前
三菱ケミカル株式会社
ポリアミド系樹脂フィルム、包装体
19日前
三菱ケミカル株式会社
槽の洗浄方法及びシリカ粒子の製造方法
24日前
三菱ケミカル株式会社
樹脂組成物、ペレット、および、成形品
23日前
三菱ケミカル株式会社
積層ポリエステルフィルム及びその応用
24日前
三菱ケミカル株式会社
有機電界発光素子、表示装置、照明装置
23日前
三菱ケミカル株式会社
ポリエステル系樹脂組成物、及び成形品
24日前
三菱ケミカル株式会社
コンポスト袋及び有機廃棄物の処理方法
26日前
三菱ケミカル株式会社
有機電界発光素子、表示装置及び照明装置
24日前
三菱ケミカル株式会社
有機電界発光素子、表示装置及び照明装置
24日前
三菱ケミカル株式会社
有機電界発光素子、表示装置及び照明装置
24日前
三菱ケミカル株式会社
化合物、並びにその製造方法及びその使用
24日前
三菱ケミカル株式会社
ポリウレタン又はそのコポリマーの製造方法
25日前
三菱ケミカル株式会社
プログラム、方法、情報処理装置、システム
24日前
三菱ケミカル株式会社
共振シート部材、およびこれを備えた構造体
19日前
三菱ケミカル株式会社
離型フィルム、離型フィルムロール及び粘着体
23日前
続きを見る
他の特許を見る