TOP
|
特許
|
意匠
|
商標
特許ウォッチ
Twitter
他の特許を見る
公開番号
2025151075
公報種別
公開特許公報(A)
公開日
2025-10-09
出願番号
2024052311
出願日
2024-03-27
発明の名称
基板、及び通信デバイス
出願人
TDK株式会社
代理人
個人
,
個人
,
個人
主分類
H05K
1/02 20060101AFI20251002BHJP(他に分類されない電気技術)
要約
【課題】アンテナの利得への影響を抑制できる基板、及び通信デバイスを提供することを目的とする。
【解決手段】スルーホール導体10の周囲には、スルーホール導体10と導体パターン22とを隔離するクリアランス領域26が配置される。このクリアランス領域は、樹脂組成物で覆われることなく、表面露出する表面露出部29を有する。この場合、スルーホール導体上にアンテナモジュール3をハンダ33を介して実装した場合、アンテナの利得への影響を抑制することができる。
【選択図】図3
特許請求の範囲
【請求項1】
誘電体層と、
厚さ方向に、前記誘電体層を貫通するスルーホール導体と、
前記厚さ方向における前記誘電体層の一方側の表面上に設けられ、基準電位に接続される導体パターンと、
前記導体パターン上に積層され、樹脂組成物を含む樹脂層と、
前記厚さ方向における前記誘電体層の一方側において、前記スルーホール導体の周囲に配置され、前記スルーホール導体と前記導体パターンとを隔離するクリアランス領域と、を備え、
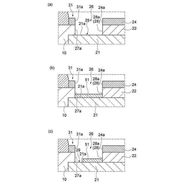
前記誘電体層は、前記クリアランス領域において、表面露出する表面露出部を有する、基板。
続きを表示(約 1,000 文字)
【請求項2】
前記厚さ方向から見て、前記表面露出部は前記クリアランス領域の内縁、及び外縁の少なくとも一方に接するように配置される、請求項1に記載の基板。
【請求項3】
前記厚さ方向から見て、前記表面露出部は前記クリアランス領域の前記外縁に接するように配置される、請求項2に記載の基板。
【請求項4】
前記表面露出部は、前記クリアランス領域の全体を占めている、請求項1に記載の基板。
【請求項5】
前記スルーホール導体の厚さ方向における一方側の端部は、
導体中央部と、
前記導体中央部を囲む樹脂組成物で覆われた被覆部と、
前記被覆部と前記クリアランス領域との境界に位置する前記スルーホール導体の一部が表面露出した第1の導体露出部と、を有する、請求項1に記載の基板。
【請求項6】
前記導体パターンは、前記クリアランス領域との境界に位置する縁部において、前記導体パターンが表面露出した第2の導体露出部を有する、請求項1に記載の基板。
【請求項7】
誘電体層と、
前記誘電体層の厚さ方向に、前記誘電体層を貫通するスルーホール導体と、
前記厚さ方向における前記誘電体層の一方側の表面上に設けられ、基準電位に接続される導体パターンと、
前記導体パターン上に積層され、樹脂組成物を含む第1の樹脂層と、
前記厚さ方向における前記誘電体層の一方側において、前記スルーホール導体の周囲に配置され、前記スルーホール導体と前記導体パターンとを隔離するクリアランス領域と、
前記クリアランス領域において、前記誘電体層の前記表面上に積層され、樹脂組成物を含む第2の樹脂層と、を備え、
前記第2の樹脂層の厚さは、前記導体パターンの厚さより小さい、基板。
【請求項8】
前記第2の樹脂層の厚さは、前記第1の樹脂層の厚さより小さい、請求項7に記載の基板。
【請求項9】
前記誘電体層は、前記クリアランス領域において、前記第2の樹脂層から表面露出する表面露出部を有する、請求項7に記載の基板。
【請求項10】
請求項1~9の何れか一項に記載の基板を備え、
前記基板は、前記スルーホール導体の周囲をグランドピラーで囲むことで形成されるキャビティと、
前記キャビティに連結される基板集積導波路と、を有する、通信デバイス。
(【請求項11】以降は省略されています)
発明の詳細な説明
【技術分野】
【0001】
本開示は、基板、及び通信デバイスに関する。
続きを表示(約 1,500 文字)
【背景技術】
【0002】
従来、高周波信号の伝送損失低減のため、擬似的な同軸構造のスルーホールを用いて高周波信号を伝送する基板が知られている。例えば、特許文献1では、部品実装基板の第1面から第2面に至る高周波信号を伝送するための擬似同軸構造スルーホールが形成されている。この擬似同軸構造のスルーホールは、高周波信号スルーホールと、併設されたグランドスルーホールから構成されている。
【先行技術文献】
【特許文献】
【0003】
国際公開第2021/145015号
【発明の概要】
【発明が解決しようとする課題】
【0004】
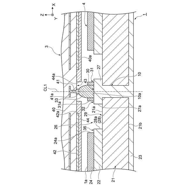
上述のような基板において、スルーホール導体の周囲に、スルーホール導体とグランド電位の導体パターンとを隔離するクリアランス領域が設けられる場合がある。このような基板にアンテナモジュールを実装した場合に、クリアランス領域の構造がアンテナの利得へ影響を与えることを抑制することが求められる。
【0005】
そこで、本開示は、アンテナの利得への影響を抑制できる基板、及び通信デバイスを提供することを目的とする。
【課題を解決するための手段】
【0006】
本開示の一側面に係る基板は、誘電体層と、厚さ方向に、誘電体層を貫通するスルーホール導体と、厚さ方向における誘電体層の一方側の表面上に設けられ、基準電位に接続される導体パターンと、導体パターン上に積層され、樹脂組成物を含む樹脂層と、厚さ方向における誘電体層の一方側において、スルーホール導体の周囲に配置され、スルーホール導体と導体パターンとを隔離するクリアランス領域と、を備え、誘電体層は、クリアランス領域において、表面露出する表面露出部を有する。
【0007】
本開示の一側面に係る基板は、誘電体層と、誘電体層の厚さ方向に、誘電体層を貫通するスルーホール導体と、厚さ方向における誘電体層の一方側の表面上に設けられ、基準電位に接続される導体パターンと、前記導体パターン上に積層され、樹脂組成物を含む第1の樹脂層と、厚さ方向における誘電体層の一方側において、スルーホール導体の周囲に配置され、スルーホール導体と導体パターンとを隔離するクリアランス領域と、クリアランス領域において、誘電体層の表面上に積層され、樹脂組成物を含む第2の樹脂層と、第2の樹脂層の厚みは、導体パターンの厚みより小さい。
【0008】
本開示の一側面に係る通信デバイスは、上述の基板を備え、基板は、スルーホール導体の周囲をグランドピラーで囲むことで形成されるキャビティと、キャビティに連結される基板集積導波路と、を有する。
【0009】
本開示の一側面に係る通信デバイスは、上述の基板を備え、基板のスルーホール導体の厚さ方向の一方側の端部に実装されるアンテナモジュールと、を備え、アンテナモジュールは、スルーホール導体に接続される信号スルーホール導体と、信号スルーホール導体の周囲を囲み、基準電位に接続される基準電位導体パターンと、信号スルーホール導体と基準電位導体パターンとを隔離するアンテナクリアランス領域と、を有し、アンテナクリアランス領域は、基板のクリアランス領域よりも面積が小さく、基準電位導体パターンとアンテナクリアランス領域の一部は、樹脂組成物によって覆われる。
【発明の効果】
【0010】
本開示の一側面によれば、アンテナの利得への影響を抑制できる基板、及び通信デバイスを提供することができる。
【図面の簡単な説明】
(【0011】以降は省略されています)
この特許をJ-PlatPat(特許庁公式サイト)で参照する
関連特許
TDK株式会社
電子部品
4日前
TDK株式会社
電子部品
1か月前
TDK株式会社
接合構造
9日前
TDK株式会社
電子部品
17日前
TDK株式会社
電子部品
1か月前
TDK株式会社
コイル装置
1か月前
TDK株式会社
コイル装置
1か月前
TDK株式会社
コイル装置
1か月前
TDK株式会社
熱処理容器
1か月前
TDK株式会社
コイル部品
1か月前
TDK株式会社
電力変換装置
17日前
TDK株式会社
積層コイル部品
1か月前
TDK株式会社
アンテナモジュール
1か月前
TDK株式会社
コモンモードフィルタ
10日前
TDK株式会社
配線体、及び表示装置
1か月前
TDK株式会社
積層セラミック電子部品
1か月前
TDK株式会社
積層セラミック電子部品
1か月前
TDK株式会社
磁気センサおよびその製造方法
17日前
TDK株式会社
入力装置及び入力装置の制御方法
1か月前
TDK株式会社
入力装置及び入力装置の制御方法
23日前
TDK株式会社
電子部品及び電子部品の製造方法
1か月前
TDK株式会社
物理レザバー素子及び物理レザバー
1か月前
TDK株式会社
非可逆回路素子及び量子コンピュータ
1か月前
TDK株式会社
インダクタおよびDC-DCコンバータ
1か月前
TDK株式会社
磁気センサおよび磁気センサの製造方法
9日前
TDK株式会社
軟磁性粉末、磁性体コア、および磁性部品
1か月前
TDK株式会社
磁性シート及びこれを備えるコイルモジュール
1か月前
TDK株式会社
誘電体組成物、積層電子部品およびその製造方法
1か月前
TDK株式会社
圧電薄膜、圧電薄膜素子、及び圧電トランスデューサ
1か月前
TDK株式会社
圧電薄膜、圧電薄膜素子、及び圧電トランスデューサ
1か月前
TDK株式会社
固体電解コンデンサ及び固体電解コンデンサの製造方法
1か月前
TDK株式会社
軟磁性合金粒子、軟磁性粉末、圧粉磁芯および電子部品
1か月前
TDK株式会社
電子部品、電子部品の製造方法および電子部品の製造装置
1か月前
TDK株式会社
接合構造
2日前
TDK株式会社
コイル部品
23日前
TDK株式会社
振動デバイス
1か月前
続きを見る
他の特許を見る