TOP
|
特許
|
意匠
|
商標
特許ウォッチ
Twitter
他の特許を見る
10個以上の画像は省略されています。
公開番号
2025150984
公報種別
公開特許公報(A)
公開日
2025-10-09
出願番号
2024052177
出願日
2024-03-27
発明の名称
運転整理支援装置、運転整理支援システム、運転整理支援方法および運転整理支援プログラム
出願人
三菱電機株式会社
代理人
個人
主分類
B61L
27/12 20220101AFI20251002BHJP(鉄道)
要約
【課題】遅延が発生した場合だけではなく、これから高い確率で遅延が発生すると予測される場合にも列車の運転整理支援を行うことができる運転整理支援装置を得ること。
【解決手段】運転整理支援装置は、記憶部22と、データ取得部21と、ルール解析部23と、運転整理判定部24と、を備える。記憶部22は、列車51の運行計画を示す運行ダイヤ情報および過去に実施された運転整理の内容を含む運転整理履歴情報を記憶する。データ取得部21は、列車51または駅52を利用する利用者の利用者利用情報および列車51の運行情報を取得する。ルール解析部23は、運行情報、運行ダイヤ情報および運転整理履歴情報に基づいて、列車51の運転整理ルールを抽出する。運転整理判定部24は、運転整理ルール、運行情報および利用者利用情報に基づいて、列車51の運転整理の指示に用いられる運転整理ルール候補情報を生成する。
【選択図】図1
特許請求の範囲
【請求項1】
列車の運行計画を示す運行ダイヤ情報および過去に実施された運転整理の内容を含む運転整理履歴情報を記憶する記憶部と、
前記列車または駅を利用する利用者の利用者利用情報および前記列車の運行情報を取得するデータ取得部と、
前記運行情報、前記運行ダイヤ情報および前記運転整理履歴情報に基づいて、前記列車の運転整理ルールを抽出するルール解析部と、
前記運転整理ルール、前記運行情報および前記利用者利用情報に基づいて、前記列車の運転整理の指示に用いられる運転整理ルール候補情報を生成する運転整理判定部と、
を備えることを特徴とする運転整理支援装置。
続きを表示(約 1,600 文字)
【請求項2】
前記運転整理ルール候補情報を表示する表示装置をさらに備えることを特徴とする請求項1に記載の運転整理支援装置。
【請求項3】
前記列車の運行を管理する運行管理装置または指令員が操作する情報処理端末に前記運転整理ルール候補情報を出力する出力処理部をさらに備えることを特徴とする請求項1に記載の運転整理支援装置。
【請求項4】
前記データ取得部は、前記運転整理が行われた場合に、前記運転整理の操作内容を示す運転整理データを取得し、前記運転整理履歴情報に保存することを特徴とする請求項1に記載の運転整理支援装置。
【請求項5】
前記ルール解析部は、データマイニング手法によって前記利用者利用情報、前記運行情報および前記運行ダイヤ情報と、前記運転整理履歴情報と、の間の運転整理操作に関する相関ルールを前記運転整理ルールとして抽出することを特徴とする請求項1に記載の運転整理支援装置。
【請求項6】
前記ルール解析部は、
前記利用者利用情報、前記運行情報、前記運行ダイヤ情報および前記運転整理履歴情報から、値が真または偽となるように予め決められた項目とこの項目に対応する値の算出方法とが定義された項目定義情報にしたがってルール抽出用データベースを生成するとともに、前記ルール抽出用データベースから、前記運転整理履歴情報に対応する項目で値が真となるレコードのみを抽出した運転整理内容含有ルール抽出用データベースを生成するルール抽出用データベース生成部と、
前記ルール抽出用データベースと前記運転整理内容含有ルール抽出用データベースとを用いて前記データマイニング手法によって前記運転整理ルールの抽出を行う運転整理ルール抽出部と、
を有することを特徴とする請求項5に記載の運転整理支援装置。
【請求項7】
前記運転整理ルール抽出部は、
前記運転整理内容含有ルール抽出用データベースを用いて、関連性を示す指標が定められた基準値以上となる前記利用者利用情報、前記運行情報および前記運行ダイヤ情報に対応する1つ以上の項目である前提条件と、前記運転整理履歴情報に対応する1つ以上の項目である運転整理内容と、の組み合わせである前記運転整理ルールを抽出し、
抽出した前記運転整理ルールの前記前提条件の発生回数を前記ルール抽出用データベースから抽出し、
抽出した前記運転整理ルールの実施回数を前記運転整理内容含有ルール抽出用データベースから抽出し、
抽出した前記運転整理ルールの前記前提条件の前記発生回数に対する抽出した前記運転整理ルールの前記実施回数の割合である実施率を算出し、
抽出した前記運転整理ルールの前記前提条件および前記運転整理内容、前記前提条件の前記発生回数並びに前記実施率を含む運転整理ルール情報を生成することを特徴とする請求項6に記載の運転整理支援装置。
【請求項8】
前記運転整理判定部は、該当する前記運転整理ルールのうち前記実施率が決められた第1閾値以上のものを含むように前記運転整理ルール候補情報を生成することを特徴とする請求項7に記載の運転整理支援装置。
【請求項9】
前記運転整理判定部は、前記実施率が決められた第2閾値以上の前記運転整理ルール情報を他とは異なる方法で表示するように指示した前記運転整理ルール候補情報を生成することを特徴とする請求項7に記載の運転整理支援装置。
【請求項10】
前記ルール解析部は、前記運転整理ルールの抽出を営業運転時間外に実施し、
前記運転整理判定部は、前記運転整理ルール候補情報の生成を営業運転時間内に実施することを特徴とする請求項1に記載の運転整理支援装置。
(【請求項11】以降は省略されています)
発明の詳細な説明
【技術分野】
【0001】
本開示は、列車の運転整理を支援する運転整理支援装置、運転整理支援システム、運転整理支援方法および運転整理支援プログラムに関する。
続きを表示(約 2,300 文字)
【背景技術】
【0002】
特許文献1には、天候、地震、事故等が原因で発生した列車の遅れによって生じたダイヤの乱れを正常な状態に戻す運転整理作業を支援する運転整理支援装置が開示されている。特許文献1に記載の運転整理支援装置では、過去の各列車遅れデータと、各列車遅れデータに対してそれぞれ実施した各運転整理案とを対応付けた運転整理履歴データを運転整理履歴記憶部に格納しておく。そして、特許文献1に記載の運転整理支援装置では、実際に発生した列車の遅れである実列車遅れ情報とこの実列車遅れ情報から予測されるダイヤ全体の予測列車遅れ情報とを含む列車遅れ情報に基づいて運転整理履歴データを検索し、検索した列車遅れデータに対応付けられた運転整理案を提示する。
【先行技術文献】
【特許文献】
【0003】
特開2011-111058号公報
【発明の概要】
【発明が解決しようとする課題】
【0004】
しかしながら、上記従来の技術によれば、実際に発生した遅延に基づいて運転整理案を検討するため、遅延が目に見える形になってからの対応、すなわち遅延が増大した後の対応になってしまうというという問題があった。つまり、上記従来の技術では、運転整理案を提示するトリガーが運行遅延であったため、運転遅延よりも前広かつ広範な運転整理提案はできないという問題があった。
【0005】
本開示は、上記に鑑みてなされたものであって、遅延が発生した場合だけではなく、これから高い確率で遅延が発生すると予測される場合にも列車の運転整理支援を行うことができる運転整理支援装置を得ることを目的とする。
【課題を解決するための手段】
【0006】
上述した課題を解決し、目的を達成するために、本開示に係る運転整理支援装置は、記憶部と、データ取得部と、ルール解析部と、運転整理判定部と、を備える。記憶部は、列車の運行計画を示す運行ダイヤ情報および過去に実施された運転整理の内容を含む運転整理履歴情報を記憶する。データ取得部は、列車または駅を利用する利用者の利用者利用情報および列車の運行情報を取得する。ルール解析部は、運行情報、運行ダイヤ情報および運転整理履歴情報に基づいて、列車の運転整理ルールを抽出する。運転整理判定部は、運転整理ルール、運行情報および利用者利用情報に基づいて、列車の運転整理の指示に用いられる運転整理ルール候補情報を生成する。
【発明の効果】
【0007】
本開示に係る運転整理支援装置は、遅延が発生した場合だけではなく、これから高い確率で遅延が発生すると予測される場合にも列車の運転整理支援を行うことができるという効果を奏する。
【図面の簡単な説明】
【0008】
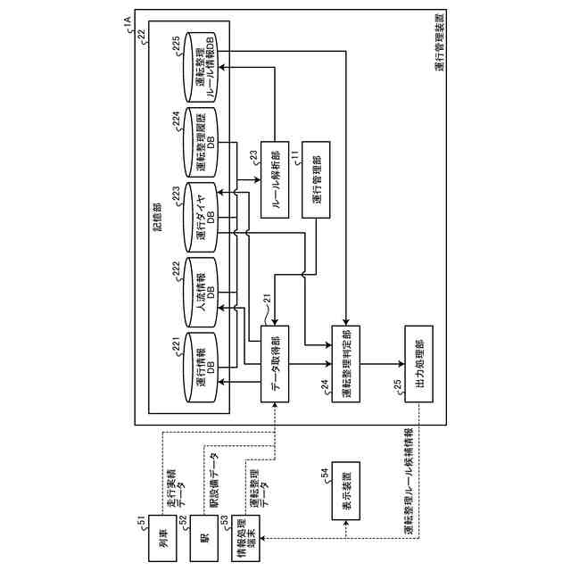
実施の形態1に係る運転整理支援装置を備える運行管理装置の構成の一例を模式的に示す図
運行情報の一例を示す図
人流情報の一例を示す図
運行ダイヤ情報の一例を示す図
運転整理履歴情報の一例を示す図
実施の形態1に係る運行管理装置におけるルール解析部でのルール抽出処理の概要を示す図
ルール抽出用データベースの一例を示す図
運転整理内容含有ルール抽出用データベースの一例を示す図
運転整理ルール情報の一例を示す図
指令員に提示される運転整理ルール候補情報画面の一例を示す図
実施の形態1に係る運転整理支援方法の手順の一例を示すフローチャート
運転整理ルール抽出方法の手順の一例を示すフローチャート
運転整理ルール情報生成方法の処理手順の一例を示すフローチャート
運転整理判定方法の手順の一例を示すフローチャート
運転整理判定方法の手順の一例を示すフローチャート
実施の形態2に係る運転整理支援システムの構成の一例を模式的に示す図
実施の形態3に係る運転整理支援システムの構成の一例を模式的に示す図
運行情報の一例を示す図
実施の形態4に係る運転整理支援装置を備える運行管理装置の構成の一例を模式的に示す図
実施の形態5に係る運転整理支援装置を備える運行管理装置の構成の一例を模式的に示す図
実施の形態1から5にかかる運行管理装置および運転整理支援装置を実現するハードウェア構成の一例を示す図
【発明を実施するための形態】
【0009】
以下に、本開示の実施の形態に係る運転整理支援装置、運転整理支援システム、運転整理支援方法および運転整理支援プログラムを図面に基づいて詳細に説明する。
【0010】
実施の形態1.
図1は、実施の形態1に係る運転整理支援装置を備える運行管理装置の構成の一例を模式的に示す図である。運行管理装置1Aは、鉄道における複数の列車51の運行を管理する。また、運行管理装置1Aは、天候、地震、事故等が原因で発生した列車51の遅れ、あるいは列車51の混雑の度合いまたは駅52の利用者の利用状況によって発生した列車51の遅れによるダイヤの乱れを正常な状態に戻す運転整理作業を支援する。なお、運転整理作業は、列車51の混雑の度合いまたは駅52の利用者の利用状況によって発生した列車51の遅れによって発生する可能性のあるダイヤの乱れを抑制するもの、すなわちダイヤの乱れの発生を未然に抑制するものであってもよい。また、図1には、複数の列車51のうちの1つが示されており、複数の駅52のうちの1つが示されている。
(【0011】以降は省略されています)
この特許をJ-PlatPat(特許庁公式サイト)で参照する
関連特許
三菱電機株式会社
換気扇
25日前
三菱電機株式会社
換気扇
25日前
三菱電機株式会社
冷蔵庫
12日前
三菱電機株式会社
増幅器
16日前
三菱電機株式会社
換気扇
25日前
三菱電機株式会社
扇風機
10日前
三菱電機株式会社
換気装置
2か月前
三菱電機株式会社
照明装置
3日前
三菱電機株式会社
照明装置
1か月前
三菱電機株式会社
照明器具
2か月前
三菱電機株式会社
回転電機
1か月前
三菱電機株式会社
収集装置
23日前
三菱電機株式会社
電子機器
26日前
三菱電機株式会社
回転電機
2か月前
三菱電機株式会社
照明装置
2か月前
三菱電機株式会社
回転電機
1か月前
三菱電機株式会社
加熱調理器
1か月前
三菱電機株式会社
空気調和機
18日前
三菱電機株式会社
半導体装置
2か月前
三菱電機株式会社
半導体装置
1か月前
三菱電機株式会社
半導体装置
2か月前
三菱電機株式会社
保護リレー
11日前
三菱電機株式会社
半導体装置
11日前
三菱電機株式会社
半導体装置
1か月前
三菱電機株式会社
半導体装置
1か月前
三菱電機株式会社
半導体装置
2か月前
三菱電機株式会社
調理システム
12日前
三菱電機株式会社
点検管理装置
10日前
三菱電機株式会社
貯湯式給湯機
13日前
三菱電機株式会社
電力変換装置
2か月前
三菱電機株式会社
貯湯式給湯機
12日前
三菱電機株式会社
炊飯システム
12日前
三菱電機株式会社
空調システム
16日前
三菱電機株式会社
照明システム
1か月前
三菱電機株式会社
貯湯式給湯機
3日前
三菱電機株式会社
貯湯式給湯機
1か月前
続きを見る
他の特許を見る