TOP
|
特許
|
意匠
|
商標
特許ウォッチ
Twitter
他の特許を見る
公開番号
2025150799
公報種別
公開特許公報(A)
公開日
2025-10-09
出願番号
2024051897
出願日
2024-03-27
発明の名称
画像形成装置及び画像形成装置の制御方法
出願人
シャープ株式会社
代理人
個人
,
個人
,
個人
,
個人
主分類
H02P
8/12 20060101AFI20251002BHJP(電力の発電,変換,配電)
要約
【課題】周囲の熱影響を受ける部位に設けられたステッピングモータの温度上昇を抑えられる画像形成装置等を提供する。
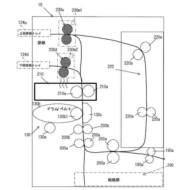
【解決手段】電子写真方式で記録用紙に形成されたトナー画像に熱を加えて定着させる定着部(210)と、定着部の周辺に設置された、記録用紙搬送用のステッピングモータ(230m1)、(230m2)と、前記記録用紙の種類に応じて、前記ステッピングモータの電流減衰設定を制御する制御部(100)とを備えたことを特徴とする画像形成装置。
【選択図】図2
特許請求の範囲
【請求項1】
電子写真方式で記録用紙に形成されたトナー画像に熱を加えて定着させる定着部と、
前記定着部の周辺に設置された、記録用紙搬送用のステッピングモータと、
前記記録用紙の種類に応じて、前記ステッピングモータの電流減衰設定を制御する制御部と、
を備えたことを特徴とする画像形成装置。
続きを表示(約 670 文字)
【請求項2】
前記ステッピングモータは、前記定着部の上方であって当該定着部の熱影響を受ける部位に設置されていることを特徴とする請求項1に記載の画像形成装置。
【請求項3】
前記記録用紙について、厚紙、普通紙、薄紙等の用紙種をユーザが設定する設定部を備え、
前記制御部は、前記記録用紙に普通紙よりも厚い用紙種が設定された場合、高速の電流減衰設定にし、一方、前記記録用紙に普通紙又は厚さが普通紙よりも薄い用紙種が設定された場合、低速の電流減衰設定に切り替えることを特徴とする請求項1又は2に記載の画像形成装置。
【請求項4】
前記記録用紙について、厚紙、普通紙、薄紙等の用紙種をユーザが設定する設定部を備え、
前記制御部は、前記記録用紙に普通紙よりも厚い用紙種が設定された場合、排紙スピードを低速回転領域とし、かつ、高速の電流減衰設定にし、一方、前記記録用紙に普通紙又は普通紙よりも薄い用紙種が設定された場合、排紙スピードを高速回転領域とし、かつ、低速の電流減衰設定とすることを特徴とする請求項1又は2に記載の画像形成装置。
【請求項5】
電子写真方式で記録用紙に形成されたトナー画像に熱を加えて定着部により定着させる定着工程と、
前記定着部の周辺に設置された、記録用紙搬送用のステッピングモータを駆動する工程と、
前記記録用紙の種類に応じて、前記ステッピングモータの電流減衰設定を制御する制御工程と、
を含むことを特徴とする画像形成装置の制御方法。
発明の詳細な説明
【技術分野】
【0001】
本開示は画像形成装置等に関する。
続きを表示(約 1,100 文字)
【背景技術】
【0002】
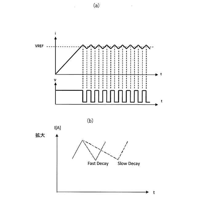
従来、画像形成装置には、印刷に関する部材をステッピングモータにより駆動するものにおいて、複数の減衰モードを設けて、ステッピングモータの加速・減速のような回転速度の変化に応じ、適切な電流減衰モードを設定し、振動や損失を軽減するものが提案されている(例えば、特許文献1参照)。
【0003】
また、最適な駆動方法を模索するために適した、複数設けられた電流減衰モードを電流の増減率によって変えることができる定電流方式のモータドライバを有する記録装置が提案されている(例えば、特許文献2参照)。
【0004】
特許文献1、2は、加速・減速の回転速度の変化に応じた電流の増減率によって電流減衰(Decay)設定を随時切り替えるものであると考えられる。
【先行技術文献】
【特許文献】
【0005】
特開2016-127630号公報
特開2000-125593号公報
【発明の概要】
【発明が解決しようとする課題】
【0006】
しかしながら、ステッピングモータにおいては、ドライバIC(Integrated Circuit)やモータ が定着部の周囲等の熱影響をうける部位に設置されている場合、モータ自身の発熱に加えて熱影響による温度上昇で問題が発生する可能性がある。
【0007】
本開示は、周囲の熱影響を受ける部位に設けられたステッピングモータの温度上昇を抑えられる画像形成装置等を提供しようとするものである。
【課題を解決するための手段】
【0008】
本開示は、電子写真方式で記録用紙に形成されたトナー画像に熱を加えて定着させる定着部と、定着部の周辺に設置された、記録用紙搬送用のステッピングモータと、前記記録用紙の種類に応じて、前記ステッピングモータの電流減衰設定を制御する制御部とを備えたことを特徴とする画像形成装置に係るものである。
【0009】
また、本開示は、電子写真方式で記録用紙に形成されたトナー画像に熱を加えて定着させる定着工程と、定着部の周辺に設置された、記録用紙搬送用のステッピングモータを駆動する工程と、前記記録用紙の種類に応じて、前記ステッピングモータの電流減衰設定を制御する制御工程と、を含むことを特徴とする画像形成装置の制御方法である。
【発明の効果】
【0010】
本開示の画像形成装置によれば、熱影響を受ける部位に設けられたステッピングモータの温度上昇を抑えられるという優れた効果を奏し得る。
【図面の簡単な説明】
(【0011】以降は省略されています)
この特許をJ-PlatPat(特許庁公式サイト)で参照する
関連特許
シャープ株式会社
通信端末
18日前
シャープ株式会社
筐体構造
9日前
シャープ株式会社
走行装置
16日前
シャープ株式会社
端末装置
16日前
シャープ株式会社
表示装置
10日前
シャープ株式会社
加熱機器
9日前
シャープ株式会社
端末装置
11日前
シャープ株式会社
画像形成装置
4日前
シャープ株式会社
画像形成装置
11日前
シャープ株式会社
アンテナ装置
10日前
シャープ株式会社
画像形成装置
4日前
シャープ株式会社
イオン発生装置
16日前
シャープ株式会社
緩衝材及び梱包体
11日前
シャープ株式会社
端末装置および測定方法
6日前
シャープ株式会社
端末装置および通信方法
17日前
シャープ株式会社
情報処理装置及び設定方法
9日前
シャープ株式会社
決済システム及び決済方法
12日前
シャープ株式会社
動画像符号化装置、復号装置
12日前
シャープ株式会社
動画像符号化装置、復号装置
9日前
シャープ株式会社
定着装置および画像形成装置
17日前
シャープ株式会社
給紙装置および画像形成装置
17日前
シャープ株式会社
端末装置、および、基地局装置
17日前
シャープ株式会社
端末装置、および、基地局装置
11日前
シャープ株式会社
給油管理装置、及び給油システム
9日前
シャープ株式会社
端末装置、方法、および、集積回路
11日前
シャープ株式会社
UE(User Equipment)
11日前
シャープ株式会社
端末装置、基地局装置、および、通信方法
16日前
シャープ株式会社
端末装置、基地局装置、および、通信方法
17日前
シャープ株式会社
端末装置、基地局装置、および、通信方法
16日前
シャープ株式会社
画像形成装置の定着装置及び画像形成装置
6日前
シャープ株式会社
画像処理装置及び画像処理装置の制御方法
9日前
シャープ株式会社
3Dデータ復号装置および3Dデータ符号化装置
9日前
シャープ株式会社
3Dデータ復号装置および3Dデータ符号化装置
9日前
シャープ株式会社
表示装置、電源制御方法、及び電源制御プログラム
3日前
シャープ株式会社
ジョブ処理装置、画像処理装置、およびジョブ処理方法
3日前
シャープ株式会社
加湿装置、当該加湿装置の制御方法及び当該加湿装置を備える空気清浄装置
9日前
続きを見る
他の特許を見る