TOP
|
特許
|
意匠
|
商標
特許ウォッチ
Twitter
他の特許を見る
10個以上の画像は省略されています。
公開番号
2025150627
公報種別
公開特許公報(A)
公開日
2025-10-09
出願番号
2024051619
出願日
2024-03-27
発明の名称
変状抽出装置、地形状況監視システム、地形状況監視方法および地形状況監視プログラム
出願人
三菱電機株式会社
代理人
個人
,
個人
,
個人
主分類
G01V
8/10 20060101AFI20251002BHJP(測定;試験)
要約
【課題】地形の変化を検知する変状抽出装置、地形状況監視システム、地形状況監視方法および地形状況監視プログラムを提供する。
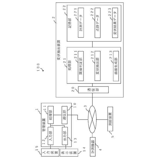
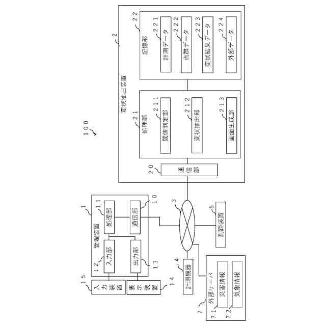
【解決手段】変状抽出装置2は、計測機器4によって取得された環境情報の計測データ221および測距装置5によって取得された対象物の点群データ222を取得する通信部20と、取得した計測データ221および点群データ222を記憶する記憶部22と、計測データ221および点群データ222に基づいて、対象物の点群データ222のうち少なくとも2つの点群データ222における体積変化量を算出し、算出した体積変化量が閾値を超過するか否かを判定する処理部21と、を備えるものである。
【選択図】図1
特許請求の範囲
【請求項1】
計測機器によって取得された環境情報の計測データおよび測距装置によって取得された対象物の点群データを取得する通信部と、
取得した前記計測データおよび前記点群データを記憶する記憶部と、
前記計測データおよび前記点群データに基づいて、前記対象物の前記点群データのうち少なくとも2つの前記点群データにおける体積変化量を算出し、算出した前記体積変化量が閾値を超過するか否かを判定する処理部と、
を備える変状抽出装置。
続きを表示(約 1,300 文字)
【請求項2】
前記処理部は、
前記通信部によって取得された前記計測データが閾値を超過した場合に、前記測距装置から前記点群データを取得し、取得した前記点群データに基づいて前記体積変化量を算出する
ことを特徴とする請求項1に記載の変状抽出装置。
【請求項3】
前記処理部は、
前記通信部によって取得された前記計測データが閾値を超過した場合に、超過した前記計測データに基づいて、前記測距装置の設定を自動更新した上で前記点群データを取得する
ことを特徴とする請求項1または2に記載の変状抽出装置。
【請求項4】
前記処理部は、
取得した前記計測データに基づいて、自動更新した前記測距装置の設定を自動更新前の設定に再度自動更新する処理を行う
ことを特徴とする請求項3に記載の変状抽出装置。
【請求項5】
前記処理部は、
算出した前記体積変化量が閾値を超過した場合に、警報を発報する
ことを特徴とする請求項1または2に記載の変状抽出装置。
【請求項6】
前記処理部は
算出した前記体積変化量を変状抽出結果として示す画面を生成する
ことを特徴とする請求項1または2に記載の変状抽出装置。
【請求項7】
前記通信部は、
外部サーバから災害情報または気象情報の少なくとも一方である外部データを取得し、
前記処理部は、
前記通信部によって取得された前記外部データが閾値を超過した場合に、前記測距装置から前記点群データを取得し、取得した前記点群データに基づいて前記体積変化量を算出する
ことを特徴とする請求項1または2に記載の変状抽出装置。
【請求項8】
前記処理部は、
前記計測データおよび前記体積変化量に基づいて作成される変状結果データを学習させた学習済モデル生成し、前記学習済モデルを用いて前記計測データの閾値または前記体積変化量の閾値を推論する
ことを特徴とする請求項1または2に記載の変状抽出装置。
【請求項9】
前記処理部は、
前記学習済モデルと新たに取得した前記計測データである推論用データとに基づいて、前記計測データの閾値を推論する
ことを特徴とする請求項8に記載の変状抽出装置。
【請求項10】
環境情報の計測データを取得する計測機器と、
対象物の点群データを取得する測距装置と、
前記対象物の体積変化量を
前記計測データおよび前記点群データを取得する通信部と、取得した前記計測データおよび前記点群データを記憶する記憶部と、前記計測データおよび前記点群データに基づいて、前記対象物の前記点群データのうち少なくとも2つの前記点群データにおける体積変化量を算出し、算出した前記体積変化量が閾値を超過するか否かを判定する処理部と、を有する変状抽出装置と、
を備える地形状況監視システム。
(【請求項11】以降は省略されています)
発明の詳細な説明
【技術分野】
【0001】
本開示は、地形の変化を検知する変状抽出装置、地形状況監視システム、地形状況監視方法および地形状況監視プログラムに関する。
続きを表示(約 1,900 文字)
【背景技術】
【0002】
近年の気候変動や自然災害の多発などを踏まえ、気象状況や地形形状の変化に応じて、各地域における災害予測または災害検知を行うことがより重要になってきている。災害予測を行うことで、災害の発生前に避難誘導を行うことや、各地域における危険源の把握および修繕作業の計画策定が可能となり、災害による被害の抑制が期待できる。また、正確な災害検知を基に、災害が発生した現場の状況を把握することで、災害規模の把握や復旧作業に必要な経費などを考慮した修繕計画の策定が可能となり、適切な災害対応を行うことができる。
【0003】
例えば、下記特許文献1には、カメラやレーザスキャナ等の複数の計測手段を用いて地表面の状態変化を検出し、計測した箇所の土砂災害発生の危険度を予測することで、土砂災害の予測または検知を正確に行う技術について開示されている。
【先行技術文献】
【特許文献】
【0004】
特開2021―174013
【発明の概要】
【発明が解決しようとする課題】
【0005】
従来の技術では、カメラやレーザスキャナ等の複数の計測手段が取得する測定データに基づいて、対象地域における地表面形状の変化量を算出する。そして算出した地表面形状と事前に設定しておいた危険度とを比較して当該対象地域における危険度を予測することが可能である。その結果、地表面形状の変化量に基づいて、土砂災害発生の予測および検知を実施することが出来る。しかし、地表面の変化量から対象地域の土砂災害の危険度を予測および検知することは出来ても、対象地域における体積の変化量を考慮することは出来なかった。そのため、例えば、対象物のうち体積が少なく地形が削れやすい箇所を検出することや、地形を整える掘削作業や災害現場の復旧作業時などに搬出される土砂量などを推定することが困難であった。
【0006】
本開示は、上記のような課題を解決するためになされたものであり、地形の変化を検知する変状抽出装置、地形状況監視システム、地形状況監視方法および地形状況監視プログラムを提供することを目的とする。
【課題を解決するための手段】
【0007】
本開示に係る変状抽出装置は、計測機器によって取得された環境情報の計測データおよび測距装置によって取得された対象物の点群データを取得する通信部と、 取得した計測データおよび点群データを記憶する記憶部と、計測データおよび点群データに基づいて、対象物の点群データのうち少なくとも2つの点群データにおける体積変化量を算出し、算出した体積変化量が閾値を超過するか否かを判定する処理部と、を備えるものである。
【0008】
本開示に係る地形状況監視システムは、環境情報の計測データを取得する計測機器と、対象物の点群データを取得する測距装置と、対象物の体積変化量を計測データおよび点群データを取得する通信部と、取得した計測データおよび点群データを記憶する記憶部と、計測データおよび点群データに基づいて、対象物の点群データのうち少なくとも2つの点群データにおける体積変化量を算出し、算出した体積変化量が閾値を超過するか否かを判定する処理部と、を有する変状抽出装置と、を備えるものである。
【0009】
本開示に係る地形状況監視方法は、計測機器によって取得された環境情報の計測データを取得する工程と、測距装置によって取得された対象物の点群データを取得する工程と、取得した計測データおよび点群データを記憶する工程と、計測データおよび点群データに基づいて、対象物の点群データのうち少なくとも2つの点群データにおける体積変化量を算出する工程と、算出した体積変化量が閾値を超過するか否かを判定する工程と、を備えるものである。
【0010】
本開示に係る地形状況監視プログラムは、コンピュータに計測機器によって取得された環境情報の計測データを取得する工程と、測距装置によって取得された対象物の点群データを取得する工程と、取得した計測データおよび点群データを記憶する工程と、計測データおよび点群データに基づいて、対象物の点群データのうち少なくとも2つの点群データにおける体積変化量を算出する工程と、算出した体積変化量が閾値を超過するか否かを判定する工程と、を実行させるものである。
【発明の効果】
(【0011】以降は省略されています)
この特許をJ-PlatPat(特許庁公式サイト)で参照する
関連特許
三菱電機株式会社
増幅器
22日前
三菱電機株式会社
扇風機
16日前
三菱電機株式会社
換気扇
1か月前
三菱電機株式会社
冷蔵庫
18日前
三菱電機株式会社
換気扇
1か月前
三菱電機株式会社
換気扇
1か月前
三菱電機株式会社
照明装置
2か月前
三菱電機株式会社
回転電機
1か月前
三菱電機株式会社
収集装置
29日前
三菱電機株式会社
照明装置
9日前
三菱電機株式会社
照明装置
1か月前
三菱電機株式会社
回転電機
1か月前
三菱電機株式会社
回転電機
2か月前
三菱電機株式会社
電子機器
1か月前
三菱電機株式会社
半導体装置
1か月前
三菱電機株式会社
半導体装置
1か月前
三菱電機株式会社
加熱調理器
1か月前
三菱電機株式会社
半導体装置
1か月前
三菱電機株式会社
半導体装置
17日前
三菱電機株式会社
半導体装置
2か月前
三菱電機株式会社
保護リレー
17日前
三菱電機株式会社
空気調和機
24日前
三菱電機株式会社
回路遮断器
3日前
三菱電機株式会社
加熱調理器
3日前
三菱電機株式会社
点検管理装置
16日前
三菱電機株式会社
ネジ取出機構
1か月前
三菱電機株式会社
空気調和装置
1か月前
三菱電機株式会社
炊飯システム
18日前
三菱電機株式会社
貯湯式給湯機
18日前
三菱電機株式会社
照明システム
1か月前
三菱電機株式会社
調理システム
18日前
三菱電機株式会社
回転電機装置
2か月前
三菱電機株式会社
車両制御装置
1か月前
三菱電機株式会社
空気清浄装置
3日前
三菱電機株式会社
電力変換装置
1か月前
三菱電機株式会社
空調システム
11日前
続きを見る
他の特許を見る