TOP
|
特許
|
意匠
|
商標
特許ウォッチ
Twitter
他の特許を見る
公開番号
2025150604
公報種別
公開特許公報(A)
公開日
2025-10-09
出願番号
2024051587
出願日
2024-03-27
発明の名称
情報処理装置、表示装置、および情報処理プログラム
出願人
株式会社デンソーテン
代理人
弁理士法人酒井国際特許事務所
主分類
G06Q
50/10 20120101AFI20251002BHJP(計算;計数)
要約
【課題】電動車両を貸し出す事業者が守ることができる充電計画を提供することができる情報処理装置、表示装置、および情報処理プログラムを提供する。
【解決手段】実施形態に係る情報処理装置は、貸し出される複数の電動車両に搭載された車載器から電動車両の走行距離または電池残量を取得する。情報処理装置は、取得された走行距離から算出する電池残量または取得された電池残量に基づいて電動車両の予測充電時間を算出する。情報処理装置は、算出された予測充電時間と、電動車両の位置、返却予定時刻、および貸出予定時刻とから電動車両の充電計画を立案する。
【選択図】図1
特許請求の範囲
【請求項1】
貸し出される複数の電動車両に搭載された車載器から前記電動車両の走行距離または電池残量を取得し、
取得された前記走行距離から算出する前記電池残量または取得された前記電池残量に基づいて前記電動車両の予測充電時間を算出し、
算出された前記予測充電時間と、前記電動車両の位置、返却予定時刻、および貸出予定時刻とから前記電動車両の充電計画を立案する、
情報処理装置。
続きを表示(約 920 文字)
【請求項2】
前記走行距離から前記電池残量を算出する場合、気象条件およびエアコンの使用状況に応じて前記電池残量を補正する、
請求項1に記載の情報処理装置。
【請求項3】
前記電動車両の稼動状況の変化に応じて前記充電計画を更新する、
請求項1に記載の情報処理装置。
【請求項4】
前記稼動状況の変化は、前記電動車両の状況が貸出中から返却済みになることを含む、
請求項3に記載の情報処理装置。
【請求項5】
返却される前記電動車両に対して指定する駐車位置を含む前記充電計画を立案する、
請求項1に記載の情報処理装置。
【請求項6】
前記駐車位置を前記電動車両の運転者に通知する、
請求項5に記載の情報処理装置。
【請求項7】
前記駐車位置に駐車された前記電動車両に対して指定する前記駐車位置から充電位置まで、および、充電位置から充電後の待機位置までの移動スケジュールおよび移動経路を含む前記充電計画を立案する、
請求項5に記載の情報処理装置。
【請求項8】
前記移動スケジュールおよび前記移動経路を前記電動車両の運転者に通知する、
請求項7に記載の情報処理装置。
【請求項9】
充電作業者の勤務開始時刻、勤務終了時刻、休憩開始時刻、休憩終了時刻を含む勤務時間を変更して前記充電計画を立案する、
請求項1~8のいずれか一つに記載の情報処理装置。
【請求項10】
貸し出される複数の電動車両に搭載された車載器から前記電動車両の走行距離または電池残量を取得し、
取得された前記走行距離から算出する前記電池残量または取得された前記電池残量に基づいて前記電動車両の予測充電時間を算出し、
算出された前記予測充電時間と、前記電動車両の位置、返却予定時刻、および貸出予定時刻とから前記電動車両の充電計画を立案する、
情報処理装置から前記充電計画を受信して表示する、
表示装置。
(【請求項11】以降は省略されています)
発明の詳細な説明
【技術分野】
【0001】
開示の実施形態は、情報処理装置、表示装置、および情報処理プログラムに関する。
続きを表示(約 1,600 文字)
【背景技術】
【0002】
レンタカーやレンタルバイクとしては、これまでエンジン車両が一般的であったが、近年では電気自動車や電動バイクなどの電動車両の数が増加している。エンジン車両を借りた場合、給油を済ませてから事業者に車両を返却することが一般的である。一方、電動車両を借りた場合には、車両の返却後に事業者が車両を充電することが一般的である。
【0003】
また、電動車両の充電には、エンジン車両の給油に要する時間よりも長い時間が必要である。事業者が電動車両の運用効率を向上させるためには、車両を効率的に充電できるような充電計画を立案し、充電計画に従って車両を充電することが望ましい。このため、充電すべき車両の返却予定時刻と、貸出予定時刻と、充電器の数とから、各車両の充電計画を立案する技術が考案されている(特許文献1参照)。
【先行技術文献】
【特許文献】
【0004】
特開2021-78248号公報
【発明の概要】
【発明が解決しようとする課題】
【0005】
しかしながら、事業者は、先行技術によって立案される充電計画の場合、充電対象車両を充電する際に、充電対象車両の駐車位置および他車両の駐車位置によっては、充電対象車両および他車両の移動に予想以上の手間と時間が掛かることがある。この場合、事業者は、充電計画を守ることができないおそれがある。
【0006】
実施形態の一態様は、上記に鑑みてなされたものであって、電動車両を貸し出す事業者が守ることができる充電計画を提供することができる情報処理装置、表示装置、および情報処理プログラムを提供することを目的とする。
【課題を解決するための手段】
【0007】
実施形態の一態様に係る情報処理装置は、貸し出される複数の電動車両に搭載された車載器から前記電動車両の走行距離または電池残量を取得する。前記情報処理装置は、取得された前記走行距離から算出する前記電池残量または取得された前記電池残量に基づいて前記電動車両の予測充電時間を算出する。前記情報処理装置は、算出された前記予測充電時間と、前記電動車両の位置、返却予定時刻、および貸出予定時刻とから前記電動車両の充電計画を立案する。
【発明の効果】
【0008】
実施形態の一態様に係る情報処理装置、表示装置、および情報処理プログラムは、取得した電動車両の位置を使用して充電計画を立案するので、電動車両の位置情報を考慮した充電計画を提供できる。これにより、電動車両を貸し出す事業者は、充電計画を守ることができる。
【図面の簡単な説明】
【0009】
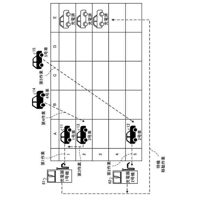
図1は、実施形態に係る情報処理装置が実行する情報処理の概要を示す説明図である。
図2は、実施形態に係る情報処理装置の構成例を示すブロック図である。
図3は、実施形態に係る電動車両の稼働状態の一例を示す説明図である。
図4は、実施形態に係る充電計画表の一例を示す説明図である。
図5は、実施形態に係る充電計画表の一例を示す説明図である。
図6は、実施形態に係る充電計画表の一例を示す説明図である。
図7は、実施形態に係る情報処理装置が実行する処理の一例を示すフローチャートである。
【発明を実施するための形態】
【0010】
以下、添付図面を参照して、情報処理装置、表示装置、および情報処理プログラムの実施形態を詳細に説明する。なお、以下に示す実施形態によりこの発明が限定されるものではない。実施形態に係る情報処理装置は、電動車両を顧客に貸し出すレンタカー事業者(以下、単に「事業者」と記載する場合がある)に対して、複数の電動車両を効率的に充電できるような充電計画を立案して提供する情報処理装置である。
(【0011】以降は省略されています)
この特許をJ-PlatPat(特許庁公式サイト)で参照する
関連特許
株式会社デンソーテン
インバータ
9日前
株式会社デンソーテン
電源制御装置および電源制御システム
11日前
株式会社デンソーテン
情報処理装置、表示装置、および情報処理プログラム
9日前
株式会社デンソーテン
車載装置、車載システム、車両及び車両用プログラム
9日前
株式会社デンソーテン
車両用警報装置、車両用警報システム及びメータユニット
9日前
株式会社デンソーテン
軌道予測装置、車載システム、車両及び軌道予測プログラム
9日前
株式会社デンソーテン
通話処理装置、通話処理プログラム、通話処理方法及び通話処理システム
9日前
株式会社デンソーテン
情報提供方法、情報提供装置、情報提供プログラム、及び情報提供システム
9日前
個人
詐欺保険
4日前
個人
縁伊達ポイン
4日前
個人
工程設計支援装置
2か月前
個人
地球保全システム
17日前
個人
QRコードの彩色
8日前
個人
為替ポイント伊達夢貯
1か月前
個人
冷凍食品輸出支援構造
1か月前
個人
農作物用途分配システム
3日前
個人
携帯情報端末装置
2か月前
個人
表変換編集支援システム
1か月前
個人
残土処理システム
10日前
個人
知的財産出願支援システム
11日前
個人
知財出願支援AIシステム
1か月前
個人
結婚相手紹介支援システム
2か月前
個人
行動時間管理システム
1か月前
個人
パスワード管理支援システム
1か月前
個人
AIによる情報の売買の仲介
1か月前
個人
パスポートレス入出国システム
1か月前
個人
海外支援型農作物活用システム
29日前
株式会社キーエンス
受発注システム
16日前
株式会社キーエンス
受発注システム
16日前
株式会社アジラ
進入判定装置
1か月前
個人
システム及びプログラム
1か月前
株式会社キーエンス
受発注システム
16日前
個人
食品レシピ生成システム
16日前
日本精機株式会社
施工管理システム
1か月前
個人
AIキャラクター制御システム
1か月前
個人
音声・通知・再配達UX制御構造
11日前
続きを見る
他の特許を見る