TOP
|
特許
|
意匠
|
商標
特許ウォッチ
Twitter
他の特許を見る
公開番号
2025150534
公報種別
公開特許公報(A)
公開日
2025-10-09
出願番号
2024051449
出願日
2024-03-27
発明の名称
プリント基板および電子制御装置
出願人
株式会社デンソー
代理人
名古屋国際弁理士法人
主分類
H05K
3/46 20060101AFI20251002BHJP(他に分類されない電気技術)
要約
【課題】プリント基板の信頼性を向上させる。
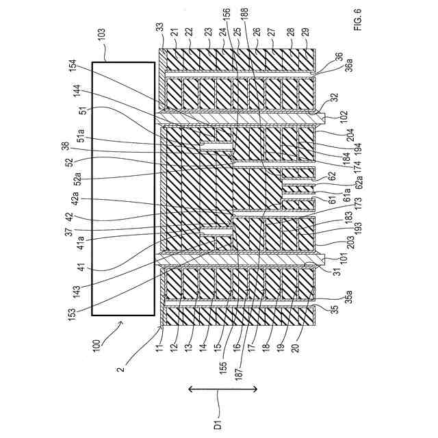
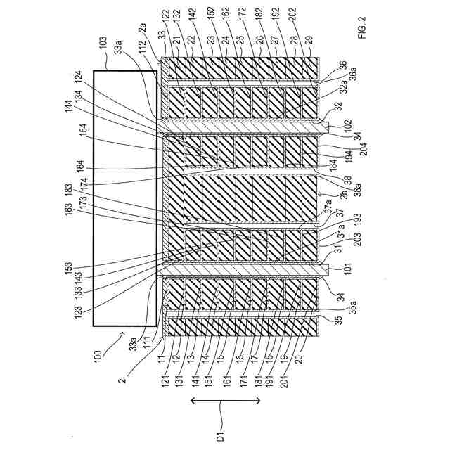
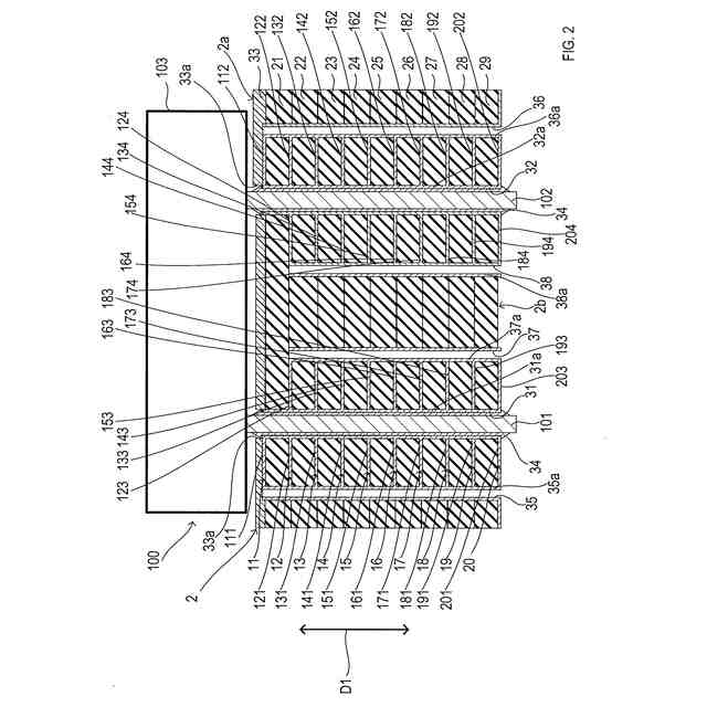
【解決手段】プリント基板2は、誘電体層21~29と導体パターン層11~20と正極端子スルーホール31と負極端子スルーホール32と正極内層ビア37および負極内層ビア38とを備える。正極内層ビア37および負極内層ビア38はそれぞれ、第2層から第9層の誘電体層22~29までで誘電体層22~29のそれぞれを貫通し、内周面に正極内層ビア導体37aおよび負極内層ビア38が形成され、少なくとも一部が内層ビア配置領域内に含まれる。第2層から第10層までの導体パターン層12~20のうち少なくとも1層により、正極端子スルーホール31と正極内層ビア37とが接続され、負極端子スルーホール32と負極内層ビア38とが接続される。
【選択図】図2
特許請求の範囲
【請求項1】
Nを3以上の整数として、第1層から第(N-1)層までの複数の誘電体層(21~29)と、
複数の前記誘電体層と交互に積層される第1層から第N層までの複数の導体パターン層(11~20)と、
第1層から第(N-1)層までの複数の前記誘電体層を貫通し、内周面に第1スルーホール導体(31a)が形成され、コンデンサ(100)の正極端子(101)が挿入される第1スルーホール(31)と、
第1層から第(N-1)層までの複数の前記誘電体層を貫通し、内周面に第2スルーホール導体(32a)が形成され、前記コンデンサの負極端子(102)が挿入される第2スルーホール(32)と、
前記第1スルーホールと前記第2スルーホールとの間の間隔であるスルーホール間隔(TD)を隔てて互いに平行に配置されて、前記第1スルーホールの中心(C1)と前記第2スルーホールの中心(C2)とを結ぶスルーホール連結直線(L3)に対して垂直に交わり、前記第1スルーホールと前記第2スルーホールとの間に配置される2つの直線を第1直線(L1)および第2直線(L2)とし、前記正極端子および前記負極端子がそれぞれ前記第1スルーホールおよび前記第2スルーホールに挿入されることにより前記コンデンサが第1層の前記導体パターン層の上に配置された場合において前記コンデンサの直下となり、且つ、前記第1直線と前記第2直線とで挟まれる領域を内層ビア配置領域(R1)として、第2層から第(N-1)層までの前記誘電体層の何れか1層の前記誘電体層から第(N-1)層の前記誘電体層までで前記誘電体層のそれぞれを貫通し、内周面に内層ビア導体(37a,38a)が形成され、少なくとも一部が前記内層ビア配置領域内に含まれる内層ビア(37,38)とを備え、
第2層から第N層までの前記導体パターン層のうち少なくとも1層の前記導体パターン層により、前記第1スルーホールおよび前記第2スルーホールの少なくとも一方と前記内層ビアとが接続されるプリント基板(2)。
続きを表示(約 2,100 文字)
【請求項2】
請求項1に記載のプリント基板であって、
前記内層ビアは、少なくとも1層の前記誘電体層を貫通する複数の分割ビア(41,42,51,52)により形成されるプリント基板。
【請求項3】
請求項2に記載のプリント基板であって、
前記内層ビアは、複数の前記分割ビアを少なくとも1層の前記導体パターン層(155,156)で接続することにより、複数の前記誘電体層が積層される積層方向に沿って非直線状に形成されるプリント基板。
【請求項4】
請求項1~請求項3の何れか1項に記載のプリント基板であって、
前記内層ビア配置領域において、第2層から第(N-1)層までの前記誘電体層の何れか1層の前記誘電体層から第(N-1)層の前記誘電体層までで前記誘電体層のそれぞれを貫通し、内周面に追加内層ビア導体(61a,62a)が形成される追加内層ビア(61,62)を更に備え、
前記追加内層ビアは、少なくとも1層の前記導体パターン層(187,188)により、前記内層ビアに接続されるプリント基板。
【請求項5】
請求項1~請求項3の何れか1項に記載のプリント基板であって、
前記内層ビアの少なくとも一部は、前記内層ビア配置領域のうち、前記第1スルーホールと前記第2スルーホールとの間に挟まれた中央領域(CA)内に含まれるプリント基板。
【請求項6】
コンデンサ(100)と、前記コンデンサを実装するプリント基板(2)とを備え、
前記プリント基板は、
Nを3以上の整数として、第1層から第(N-1)層までの複数の誘電体層(21~29)と、
複数の前記誘電体層と交互に積層される第1層から第N層までの複数の導体パターン層(11~20)と、
第1層から第(N-1)層までの複数の前記誘電体層を貫通し、内周面に第1スルーホール導体(31a)が形成され、前記コンデンサの正極端子(101)が挿入される第1スルーホール(31)と、
第1層から第(N-1)層までの複数の前記誘電体層を貫通し、内周面に第2スルーホール導体(32a)が形成され、前記コンデンサの負極端子(102)が挿入される第2スルーホール(32)と、
前記第1スルーホールと前記第2スルーホールとの間の間隔であるスルーホール間隔(TD)を隔てて互いに平行に配置されて、前記第1スルーホールの中心(C1)と前記第2スルーホールの中心(C2)とを結ぶスルーホール連結直線(L3)に対して垂直に交わり、前記第1スルーホールと前記第2スルーホールとの間に配置される2つの直線を第1直線(L1)および第2直線(L2)とし、前記正極端子および前記負極端子がそれぞれ前記第1スルーホールおよび前記第2スルーホールに挿入されることにより前記コンデンサが第1層の前記導体パターン層の上に配置された場合において前記コンデンサの直下となり、且つ、前記第1直線と前記第2直線とで挟まれる領域を内層ビア配置領域(R1)として、第2層から第(N-1)層までの前記誘電体層の何れか1層の前記誘電体層から第(N-1)層の前記誘電体層までで前記誘電体層のそれぞれを貫通し、内周面に内層ビア導体(37a,38a)が形成され、少なくとも一部が前記内層ビア配置領域内に含まれる内層ビア(37,38)とを備え、
第2層から第N層までの前記導体パターン層のうち少なくとも1層の前記導体パターン層により、前記第1スルーホールおよび前記第2スルーホールの少なくとも一方と前記内層ビアとが接続される電子制御装置(1)。
【請求項7】
請求項6に記載の電子制御装置であって、
前記内層ビアは、少なくとも1層の前記誘電体層を貫通する複数の分割ビア(41,42,51,52)により形成される電子制御装置。
【請求項8】
請求項7に記載の電子制御装置であって、
前記内層ビアは、複数の前記分割ビアを少なくとも1層の前記導体パターン層(155,156)で接続することにより、複数の前記誘電体層が積層される積層方向に沿って非直線状に形成される電子制御装置。
【請求項9】
請求項6~請求項8の何れか1項に記載の電子制御装置であって、
前記内層ビア配置領域において、第2層から第(N-2)層までの前記誘電体層の何れか1層の前記誘電体層から第(N-1)層の前記誘電体層までで前記誘電体層のそれぞれを貫通し、内周面に追加内層ビア導体(61a,62a)が形成される追加内層ビア(61,62)を更に備え、
前記追加内層ビアは、少なくとも1層の前記導体パターン層(187,188)により、前記内層ビアに接続される電子制御装置。
【請求項10】
請求項6~請求項8の何れか1項に記載の電子制御装置であって、
前記内層ビアの少なくとも一部は、前記内層ビア配置領域のうち、前記第1スルーホールと前記第2スルーホールとの間に挟まれた中央領域(CA)内に含まれる電子制御装置。
発明の詳細な説明
【技術分野】
【0001】
本開示は、プリント基板および電子制御装置に関する。
続きを表示(約 1,300 文字)
【背景技術】
【0002】
プリント基板と、プリント基板に接続する電子部品の端子とをはんだ付けにより接続する場合に、はんだ付けする際の熱が裏面まで伝わりにくく、はんだ付け性が悪いことがある。はんだの接続性が悪い場合には、熱的なストレスが掛かった際に、はんだの内部に亀裂が発生し、徐々に亀裂が多くなることでやがて電気的接続が失われ、故障に繋がる。
【0003】
特許文献1には、電子部品の端子が挿入されるスルーホールの周囲に、熱的にスルーホールと接続される複数のビアを配置することにより、はんだ付けする際の熱を効率的に裏面まで伝える技術が記載されている。
【先行技術文献】
【特許文献】
【0004】
特開2020-17560号公報
【発明の概要】
【発明が解決しようとする課題】
【0005】
発明者の詳細な検討の結果、以下の課題が見出された。特許文献1に記載のプリント基板では、コンデンサをプリント基板上に実装した場合に、コンデンサの正極端子と同じ電位を有するバターンと、コンデンサの負極端子と同じ電位を有するバターンとの間の距離が、コンデンサの正極端子と負極端子との間の距離より短くなることがある。これにより、プリント基板上に実装されたコンデンサから電解液が漏れた際に、電解液が配線パターン上に広がりマイグレーションでコンデンサがショートしてしまうおそれがある。
【0006】
本開示は、プリント基板の信頼性を向上させることを目的とする。
【課題を解決するための手段】
【0007】
本開示の一態様は、Nを3以上の整数として、第1層から第(N-1)層までの複数の誘電体層(21~29)と、第1層から第N層までの複数の導体パターン層(11~20)と、第1スルーホール(31)と、第2スルーホール(32)と、内層ビア(37,38)とを備えるプリント基板(2)である。
【0008】
複数の導体パターン層は、複数の誘電体層と交互に積層される。
第1スルーホールは、第1層から第(N-1)層までの複数の誘電体層を貫通し、内周面に第1スルーホール導体(31a)が形成され、コンデンサ(100)の正極端子(101)が挿入される。
【0009】
第2スルーホールは、第1層から第(N-1)層までの複数の誘電体層を貫通し、内周面に第2スルーホール導体(32a)が形成され、コンデンサの負極端子(102)が挿入される。
【0010】
内層ビアは、第2層から第(N-1)層までの誘電体層の何れか1層の誘電体層から第(N-1)層の誘電体層までで誘電体層のそれぞれを貫通し、内周面に内層ビア導体(37a,38a)が形成され、少なくとも一部が内層ビア配置領域内に含まれる。内層ビア配置領域は、正極端子および負極端子がそれぞれ第1スルーホールおよび第2スルーホールに挿入されることによりコンデンサが第1層の導体パターン層の上に配置された場合においてコンデンサの直下となり、且つ、第1直線(L1)と第2直線(L2)とで挟まれる領域である。
(【0011】以降は省略されています)
この特許をJ-PlatPat(特許庁公式サイト)で参照する
関連特許
株式会社デンソーウェーブ
筐体
1か月前
株式会社デンソー
電動弁
9日前
株式会社デンソー
回転機
1か月前
株式会社デンソー
撮像装置
8日前
株式会社デンソー
電子装置
9日前
株式会社デンソー
反力装置
1か月前
株式会社デンソー
検出装置
29日前
株式会社デンソー
熱交換器
8日前
株式会社デンソー
制御装置
11日前
株式会社デンソー
電解装置
10日前
株式会社デンソー
摺動機構
8日前
株式会社デンソー
電気回路
3日前
株式会社デンソー
電子装置
19日前
株式会社デンソー
摺動機構
8日前
株式会社デンソー
撮像装置
8日前
株式会社デンソー
熱交換部材
10日前
株式会社デンソー
電流センサ
1か月前
株式会社デンソートリム
鞍乗り車両
17日前
株式会社デンソー
熱交換装置
23日前
株式会社デンソー
半導体装置
10日前
株式会社デンソー
センサ装置
16日前
株式会社デンソー
センサ装置
16日前
株式会社デンソー
半導体装置
25日前
株式会社デンソー
半導体装置
8日前
株式会社デンソー
ヒータ装置
17日前
株式会社デンソー
レーダ装置
1か月前
株式会社デンソー
半導体装置
18日前
株式会社デンソー
運航管理装置
1か月前
株式会社デンソー
電気化学セル
8日前
株式会社デンソー
電気化学セル
8日前
株式会社デンソー
電圧検出回路
23日前
株式会社デンソー
電力変換装置
23日前
株式会社デンソー
画像処理装置
1か月前
株式会社デンソー
電力変換装置
1か月前
株式会社デンソー
電子制御装置
8日前
株式会社デンソー
圧電デバイス
16日前
続きを見る
他の特許を見る