TOP
|
特許
|
意匠
|
商標
特許ウォッチ
Twitter
他の特許を見る
10個以上の画像は省略されています。
公開番号
2025150429
公報種別
公開特許公報(A)
公開日
2025-10-09
出願番号
2024051292
出願日
2024-03-27
発明の名称
制御装置、特定の端末、及び、通信システム
出願人
株式会社デンソーウェーブ
代理人
弁理士法人 快友国際特許事務所
主分類
H02J
7/00 20060101AFI20251002BHJP(電力の発電,変換,配電)
要約
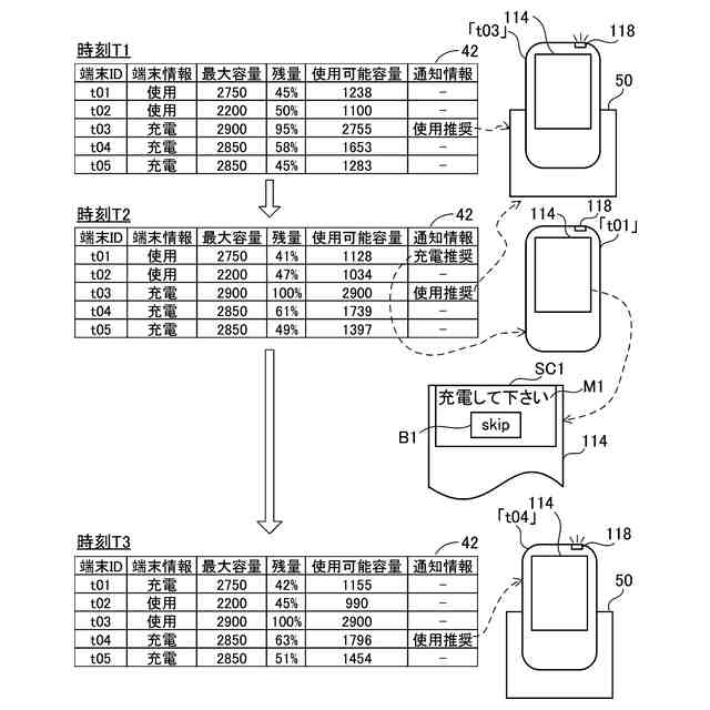
【課題】複数個の端末が充電又は使用される状況を考慮して、ユーザに通知すべき端末を選択するための制御装置、通信システム及び特定の端末を提供する。
【解決手段】管理装置10と、複数個の読取端末100と、を備える通信システム2において、制御装置である管理装置は、使用中のM個(Mは、2以上の整数)の端末t01、t02、t03、t04、t05、・・・の中から、バッテリの使用可能容量が最小である第1の端末t01を選択する第1の選択部と、第1の端末の充電を推奨する第1の通知の出力を第1の端末に指示する第1の指示実行部と、を備える。
【選択図】図1
特許請求の範囲
【請求項1】
制御装置であって、
使用中のM個(Mは、2以上の整数)の端末の中から、バッテリの使用可能容量が最小である第1の端末を選択する第1の選択部と、
前記第1の端末の充電を推奨する第1の通知の出力を前記第1の端末に指示する第1の指示実行部と、
を備える、制御装置。
続きを表示(約 1,300 文字)
【請求項2】
前記制御装置は、さらに、
複数個の端末のそれぞれについて、当該端末装置が充電中であるのか使用中であるのかを判別する判別部を備え、
前記M個の端末のそれぞれは、前記複数個の端末の中から使用中であると判別された端末である、請求項1に記載の制御装置。
【請求項3】
前記制御装置は、さらに、
前記複数個の端末の中から充電中であると判別されたN個(Nは、2以上の整数)の端末の中から、バッテリの使用可能容量が最大である第2の端末を選択する第2の選択部と、
前記第2の端末の使用を推奨する第2の通知の出力を前記第2の端末に指示する第2の指示実行部と、
を備える、請求項2に記載の制御装置。
【請求項4】
前記第1の指示実行部は、
前記複数個の端末の中から充電中であると判別された1個以上の端末の中に、前記使用可能容量が第1の所定値以上の端末が存在する場合に、前記第1の通知の出力を前記第1の端末に指示し、
前記1個以上の端末の中に、前記使用可能容量が前記第1の所定値以上の端末が存在しない場合に、前記第1の通知の出力を前記第1の端末に指示しない、請求項2に記載の制御装置。
【請求項5】
前記第1の指示実行部は、前記第1の端末の前記使用可能容量が第2の所定値以下である場合に、前記1個以上の端末の中に前記使用可能容量が前記第1の所定値以上の端末が存在しなくても、前記第1の通知の出力を前記第1の端末に指示する、請求項4に記載の制御装置。
【請求項6】
前記第1の指示実行部は、前記複数個の端末の中に充電中の端末が存在しない場合に、前記第1の通知の出力を前記第1の端末に指示する、請求項4に記載の制御装置。
【請求項7】
前記第1の通知は、前記第1の端末のバッテリの充電が終了してから第1の所定時間が経過するまで出力されない、請求項1に記載の制御装置。
【請求項8】
前記制御装置は、さらに、
前記1の通知の出力が前記第1の端末に指示された後に、前記第1の端末で所定の操作が行われる場合に、前記M個の端末の中から、前記第1の端末の次に前記使用可能容量が少ない第3の端末を選択する第3の選択部を備え、
前記第1の指示実行部は、前記第1の通知の出力を前記第3の端末に指示する、請求項1に記載の制御装置。
【請求項9】
前記制御装置は、さらに、
前記M個の端末を含む全ての端末における消費電力の合計が最大である第1の時間帯から特定時間前の時刻に、前記第1の通知の出力を、前記全ての端末のうち、前記使用可能容量が第3の所定値以下である1個以上の端末に指示する第3の指示実行部を備える、請求項1に記載の制御装置。
【請求項10】
前記制御装置は、さらに、
前記M個の端末を含む全ての端末における消費電力の合計が最小である第2の時間帯の開始時刻に、前記第1の通知の出力を、前記全ての端末に指示する第4の指示実行部を備える、請求項1に記載の制御装置。
(【請求項11】以降は省略されています)
発明の詳細な説明
【技術分野】
【0001】
本明細書では、複数個の端末の中から通知を出力すべき端末を選択するための技術を開示する。
続きを表示(約 1,000 文字)
【背景技術】
【0002】
特許文献1には、携帯端末の充電中において、携帯端末の充電量が低下状態である場合に、クレードルから携帯端末への給電が切断されたことを報知するクレードルが開示されている。
【先行技術文献】
【特許文献】
【0003】
特開2021-158794号公報
【発明の概要】
【発明が解決しようとする課題】
【0004】
特許文献1では、複数個の端末が充電又は使用される状況が何ら考慮されていない。このような状況では、ユーザは、どの端末を充電すべきか、又は、どの端末を使用すべきかを判断し難いと感じ得る。
【0005】
本明細書では、複数個の端末が充電又は使用される状況を考慮して、ユーザに通知すべき端末を選択するための技術を提供する。
【課題を解決するための手段】
【0006】
本明細書で開示する制御装置は、使用中のM個(Mは、2以上の整数)の端末の中から、バッテリの使用可能容量が最小である第1の端末を選択する第1の選択部と、前記第1の端末の充電を推奨する第1の通知の出力を前記第1の端末に指示する第1の指示実行部と、を備える。
【0007】
バッテリの使用可能容量が最小である第1の端末は、使用中のM個の端末の中で最も充電が必要な端末である。ユーザは、第1の通知によって、第1の端末を充電すべきことを知ることができる。
【0008】
前記制御装置は、さらに、複数個の端末のそれぞれについて、当該端末装置が充電中であるのか使用中であるのかを判別する判別部を備え、前記M個の端末のそれぞれは、前記複数個の端末の中から使用中であると判別された端末であってもよい。
【0009】
上記の構成によれば、充電中の端末と使用中の端末が混在する状況において、使用中のM個の端末の中から第1の通知を出力すべき第1の端末を選択することができる。
【0010】
前記制御装置は、さらに、前記複数個の端末の中から充電中であると判別されたN個(Nは、2以上の整数)の端末の中から、バッテリの使用可能容量が最大である第2の端末を選択する第2の選択部と、前記第2の端末の使用を推奨する第2の通知の出力を前記第2の端末に指示する第2の指示実行部と、を備えてもよい。
(【0011】以降は省略されています)
この特許をJ-PlatPat(特許庁公式サイト)で参照する
関連特許
個人
単極モータ
26日前
個人
電気を重力で発電装置
3日前
キヤノン電子株式会社
モータ
10日前
キヤノン電子株式会社
モータ
2日前
株式会社アイシン
ロータ
1か月前
株式会社アイシン
ロータ
26日前
コーセル株式会社
電源装置
11日前
日星電気株式会社
ケーブル組立体
18日前
トヨタ自動車株式会社
モータ
2日前
トヨタ自動車株式会社
固定子
1か月前
トヨタ自動車株式会社
製造装置
1か月前
株式会社デンソー
回転機
24日前
株式会社ダイヘン
充電装置
1か月前
株式会社ダイヘン
充電装置
1か月前
株式会社ダイヘン
充電装置
1か月前
株式会社アイシン
ステータ
1か月前
株式会社アイシン
ステータ
1か月前
株式会社アイシン
ステータ
1か月前
株式会社ダイヘン
充電装置
1か月前
株式会社アイシン
ステータ
1か月前
個人
太陽エネルギー収集システム
1か月前
個人
二次電池繰返パルス放電器用印刷基板
16日前
トヨタ自動車株式会社
被膜形成装置
1か月前
株式会社kaisei
発電システム
26日前
株式会社デンソー
電力変換装置
17日前
株式会社ミツバ
回転電機
1か月前
ASTI株式会社
電力変換装置
1か月前
株式会社ミツバ
回転電機
23日前
株式会社デンソー
電力変換装置
25日前
株式会社ダイヘン
インバータ装置
25日前
株式会社アイシン
保護装置
1か月前
キヤノン株式会社
無線電力伝送システム
1か月前
株式会社アイシン
駆動装置
1か月前
シャープ株式会社
表示装置
1か月前
トヨタ自動車株式会社
固定子の加熱装置
13日前
株式会社デンソー
非接触受電装置
19日前
続きを見る
他の特許を見る