TOP
|
特許
|
意匠
|
商標
特許ウォッチ
Twitter
他の特許を見る
10個以上の画像は省略されています。
公開番号
2025150118
公報種別
公開特許公報(A)
公開日
2025-10-09
出願番号
2024050830
出願日
2024-03-27
発明の名称
生活空間用車椅子
出願人
株式会社モルテン
代理人
主分類
A61G
5/02 20060101AFI20251002BHJP(医学または獣医学;衛生学)
要約
【課題】歩行動作が不自由な人に対して座ったままで移動でき、立ち上がり動作を少なくして居宅内で快適に生活ができる生活空間用車椅子を提供する。
【解決手段】 本体基体部2と、本体基体部2に取り付けられた座面部3,背もたれ部4と、前輪5及び後輪6とを備え、居宅内で使用する生活空間用車椅子1であって、
前輪5は回転方向が固定された固定車輪で構成されており、後輪6は前輪5間の横幅に対して後輪6間の横幅が小さく構成され、前輪5よりも小さい直径を有した自在車輪で構成されている、ことを特徴とする。
【選択図】図1
特許請求の範囲
【請求項1】
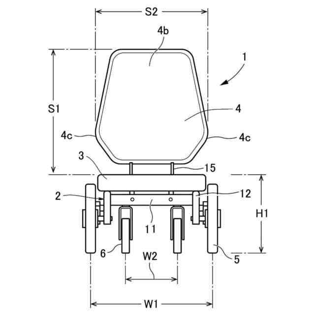
本体基体部と、前記本体基体部に取り付けられた座面部,背もたれ部と、前輪及び後輪とを備え、居宅内で使用する車椅子であって、
前記前輪は、回転方向が固定された固定車輪で構成されており、
前記後輪は、前記前輪間の横幅W1に対して前記後輪間の横幅W2が小さく構成され、前記前輪よりも小さい直径を有した自在車輪で構成されている、ことを特徴とする生活空間用車椅子。
続きを表示(約 550 文字)
【請求項2】
床面からの前記座面部の上面の高さH1が200mm以上500mm以下であり、
前輪直径が200mm以上500mm以下に設定されている、請求項1に記載の生活空間用車椅子。
【請求項3】
後輪直径が70mm以上200mm以下に設定されている、請求項1又は請求項2に記載の生活空間用車椅子。
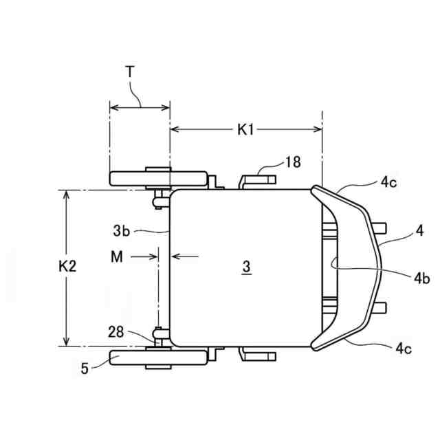
【請求項4】
前記座面部の横幅K2が300mm以上550mm以下であり、前後長さK1が300mm以上600mm以下である、請求項1又は請求項2に記載の生活空間用車椅子。
【請求項5】
前記前輪間の横幅W1に対して前記後輪間の横幅W2が、30%以上100%以下とされている、請求項1又は請求項2に記載の生活空間用車椅子。
【請求項6】
前記前輪の車軸の中心位置から前記座面部の前端位置の距離Mは0mm以上50mm以下の範囲で後方にずれて設定されている、請求項1又は請求項2に記載の生活空間用車椅子。
【請求項7】
前記背もたれ部の前記座面部の上面からの高さS1が250mm以上600mm以下であり、前記背もたれ部の横幅S2が350mm以上500mm以下である、請求項1又は請求項2に記載の生活空間用車椅子。
発明の詳細な説明
【技術分野】
【0001】
本発明は、居宅での使用を対象とした生活空間用車椅子に関する。
続きを表示(約 1,600 文字)
【背景技術】
【0002】
従来の室内でも使用できる多機能の車椅子としては特許文献1に開示された車椅子が公知である。
一般に車椅子を居宅内で利用する場合は、通常、室内の段差の解消、車椅子が入れるように廊下やドアの幅を広げるなどのバリアフリー工事が行われている。
【先行技術文献】
【特許文献】
【0003】
特開2002-306543号公報
【発明の概要】
【発明が解決しようとする課題】
【0004】
しかしながら、外出時に車椅子を利用するにもかかわらず、居室内では車椅子を利用しない人がかなりいる。屋外、遠方には車椅子で移動するが、家の中など短い距離は歩けるという人は良いが、実際にはスペースの問題で家の中では車椅子を利用できない人は意外に多い。車椅子を利用している人も、玄関から寝室までだけといったように行動範囲が制約された生活を強いられているという課題がある。
【0005】
また、歩行動作が不自由な人はちょっとしたことで必要とされる立上り動作を少なくしたいニーズが強く、特許文献1に示されるような多機能な車椅子であっても小さな段差の乗り越えや小回りの点において使用できない場合が多かった。
【0006】
本発明は、上記各課題を解決するためになされたものである。
本発明の目的は、歩行動作が不自由な人に対して座ったままで移動でき、立ち上がり動作を少なくして居宅内で快適に生活ができる生活空間用車椅子を提供することにある。
【課題を解決するための手段】
【0007】
本発明の第1態様に係る生活空間用車椅子は、
本体基体部と、前記本体基体部に取り付けられた座面部,背もたれ部と、前輪及び後輪とを備え、居宅内で使用する車椅子であって、
前記前輪は、回転方向が固定された固定車輪で構成されており、
前記後輪は、前記前輪間の横幅W1に対して前記後輪間の横幅W2が小さく構成され、前記前輪よりも小さい直径を有した自在車輪で構成されている、ことを特徴とする。
【0008】
本発明の第2態様は、前記第1態様に記載の生活空間用車椅子であって、
床面からの前記座面部の上面の高さH1が200mm以上500mm以下であり、
前輪直径が200mm以上500mm以下に設定されている、ことを特徴とする。
本発明の第3態様は、前記第1態様又は前記第2態様に記載の生活空間用車椅子であって、後輪直径が70mm以上200mm以下に設定されている、ことを特徴とする。
【0009】
本発明の第4態様は、前記第1態様又は前記第2態様に記載の生活空間用車椅子であって、前記座面部の横幅K2が300mm以上550mm以下であり、前後長さK1が300mm以上600mm以下である、ことを特徴とする。
本発明の第5態様は、前記第1態様又は前記第2態様に記載の生活空間用車椅子であって、前記前輪間の横幅W1に対して前記後輪間の横幅W2が、30%以上100%以下とされている、ことを特徴とする。
【0010】
本発明の第6態様は、前記第1態様又は前記第2態様に記載の生活空間用車椅子であって、前記前輪の車軸の中心位置から前記座面部の前端位置の距離Mは0mm以上50mm以下の範囲で後方にずれて設定されている、ことを特徴とする。
本発明の第7態様は、前記第1態様又は前記第2態様に記載の生活空間用車椅子であって、前記背もたれ部の前記座面部の上面からの高さS1が250mm以上600mm以下であり、前記背もたれ部の横幅S2が350mm以上500mm以下である、ことを特徴とする。
【発明の効果】
(【0011】以降は省略されています)
この特許をJ-PlatPat(特許庁公式サイト)で参照する
関連特許
株式会社モルテン
移乗支援装置
1か月前
個人
貼付剤
16日前
個人
足踏み器具
5日前
個人
短下肢装具
3か月前
個人
排尿補助器具
29日前
個人
前腕誘導装置
3か月前
個人
白内障治療法
8か月前
個人
嚥下鍛錬装置
4か月前
個人
洗井間専家。
7か月前
個人
汚れ防止シート
1か月前
個人
腰ベルト
19日前
個人
ホバーアイロン
7か月前
個人
ウォート指圧法
27日前
個人
歯の修復用材料
4か月前
個人
バッグ式オムツ
4か月前
個人
矯正椅子
5か月前
個人
アイマスク装置
2か月前
個人
胸骨圧迫補助具
2か月前
個人
排尿排便補助器具
今日
個人
歯の保護用シール
5か月前
個人
湿布連続貼り機。
2か月前
個人
シャンプー
6か月前
個人
陣痛緩和具
4か月前
三生医薬株式会社
錠剤
8か月前
個人
美容セット
7日前
個人
車椅子持ち上げ器
8か月前
個人
哺乳瓶冷まし容器
3か月前
個人
性行為補助具
3か月前
個人
エア誘導コルセット
2か月前
個人
治療用酸化防御装置
2か月前
株式会社コーセー
化粧料
26日前
株式会社結心
手袋
8か月前
株式会社大野
骨壷
4か月前
株式会社八光
剥離吸引管
5か月前
個人
服薬支援装置
7か月前
株式会社ニデック
検眼装置
4か月前
続きを見る
他の特許を見る