TOP
|
特許
|
意匠
|
商標
特許ウォッチ
Twitter
他の特許を見る
公開番号
2025150045
公報種別
公開特許公報(A)
公開日
2025-10-09
出願番号
2024050705
出願日
2024-03-27
発明の名称
車両用グロメット周辺構造
出願人
スズキ株式会社
代理人
個人
,
個人
主分類
B60R
16/02 20060101AFI20251002BHJP(車両一般)
要約
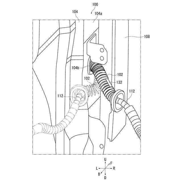
【課題】グロメットとフェンダパネルとの干渉を回避することができる車両用グロメット周辺構造を提供する。
【解決手段】車両のサイドボディのうちサイドドアに被覆されている部位からサイドドアにかけて延びるハーネスの所定部分を筒状に覆っていて表面に蛇腹124、126、128が形成されたグロメット102を備えた車両用グロメット周辺構造100において、サイドドアが開けられたときにサイドドアに引っ張られたグロメット102が接近するフェンダパネル108と、グロメット102のうちサイドドアが開けられたときにフェンダパネル108に最も接近する部分に設けられサイドドアが開けられてもグロメット102とフェンダパネル108との干渉を回避する凹部132とを備える。
【選択図】図4
特許請求の範囲
【請求項1】
車両のサイドボディのうちサイドドアに被覆されている部位から該サイドドアにかけて延びるハーネスの所定部分を筒状に覆っていて表面に蛇腹が形成されたグロメットを備えた車両用グロメット周辺構造において、当該車両用グロメット周辺構造はさらに、
前記サイドドアが開けられたときに該サイドドアに引っ張られた前記グロメットが接近するフェンダパネルと、
前記グロメットのうち前記サイドドアが開けられたときに前記フェンダパネルに最も接近する部分に設けられ前記サイドドアが開けられても前記グロメットと前記フェンダパネルとの干渉を回避する干渉回避部とを備えることを特徴とする車両用グロメット周辺構造。
続きを表示(約 500 文字)
【請求項2】
前記干渉回避部は、前記グロメットの蛇腹よりも凹んでいて円筒状になっている凹部であることを特徴とする請求項1に記載の車両用グロメット周辺構造。
【請求項3】
前記干渉回避部は、前記ハーネスの延びる方向に沿って前記グロメットの蛇腹に差し渡された第1リブであることを特徴とする請求項1に記載の車両用グロメット周辺構造。
【請求項4】
前記凹部の肉厚は、前記グロメットの蛇腹の肉厚よりも厚いことを特徴とする請求項2に記載の車両用グロメット周辺構造。
【請求項5】
前記車両用グロメット周辺構造はさらに、前記凹部に前記ハーネスの延びる方向に沿って差し渡された第2リブを備えることを特徴とする請求項2に記載の車両用グロメット周辺構造。
【請求項6】
前記車両用グロメット周辺構造はさらに、前記グロメットのサイドボディ側またはサイドドア側の端部の蛇腹に前記ハーネスの延びる方向に沿って差し渡されたサイドボディ側リブまたはサイドドア側リブを備えることを特徴とする請求項1から5までのいずれか1項に記載の車両用グロメット周辺構造。
発明の詳細な説明
【技術分野】
【0001】
本発明は、車両用グロメット周辺構造に関するものである。
続きを表示(約 1,600 文字)
【背景技術】
【0002】
例えば特許文献1には、剛性部、徐変部、蛇腹部を有するコルゲートチューブが開示されている。そして、剛性部は、蛇腹で構成された第1の半周部分と、ストレートに形成された第2の半周部分と、を有している。この中で第1の半周部分があることにより、スライドドアが半開状態になるときの剛性部の屈曲を抑制し、剛性部のウェザーストリップへの干渉を抑制することができる、と特許文献1は述べている。
【先行技術文献】
【特許文献】
【0003】
特開2019-47642号公報
【発明の概要】
【発明が解決しようとする課題】
【0004】
一方、スライド式でなくヒンジ式で開閉するサイドドアに対しても、車両のサイドボディからハーネスを延ばすことが行われている。かかるハーネスは、サイドボディのうちサイドドアに被覆された部位からサイドドアにかけて延びていて、サイドドアのパワーウィンドウを動かす電力を供給したり、各種信号を送受信したりする用途に用いられている。
【0005】
かかるハーネスは、通常、ゴムなどの弾性体であるグロメットによって筒状に覆われ保護されている。しかしサイドドアが開けられるとハーネスはサイドドアに引っ張られ、フェンダパネルに接近し、ハーネスを覆うグロメットがフェンダパネルに干渉してハーネスが断線するなどのおそれがある。
【0006】
本発明はこのような課題に鑑み、グロメットとフェンダパネルとの干渉を回避することができる車両用グロメット周辺構造を提供することを目的としている。
【課題を解決するための手段】
【0007】
上記課題を解決するために、本発明の代表的な構成は、車両のサイドボディのうちサイドドアに被覆されている部位からサイドドアにかけて延びるハーネスの所定部分を筒状に覆っていて表面に蛇腹が形成されたグロメットを備えた車両用グロメット周辺構造において、車両用グロメット周辺構造はさらに、サイドドアが開けられたときにサイドドアに引っ張られたグロメットが接近するフェンダパネルと、グロメットのうちサイドドアが開けられたときにフェンダパネルに最も接近する部分に設けられサイドドアが開けられてもグロメットとフェンダパネルとの干渉を回避する干渉回避部とを備えることを特徴とする。
【発明の効果】
【0008】
本発明によれば、グロメットとフェンダパネルとの干渉を回避することができる。
【図面の簡単な説明】
【0009】
本発明の実施例に係る車両用グロメット周辺構造の斜視図である。
図1のグロメットの斜視図である。
図1のグロメットおよび第1の変形例に係るグロメットの断面図である。
図1のグロメットの側面図である。
比較例に係る車両用グロメット周辺構造が有するグロメットの斜視図である。
比較例に係る車両用グロメット周辺構造が有するグロメットの側面図である。
第2の変形例に係るグロメットの斜視図である。
第3の変形例に係るグロメットの斜視図である。
【発明を実施するための形態】
【0010】
本発明の一実施の形態は、車両のサイドボディのうちサイドドアに被覆されている部位からサイドドアにかけて延びるハーネスの所定部分を筒状に覆っていて表面に蛇腹が形成されたグロメットを備えた車両用グロメット周辺構造において、車両用グロメット周辺構造はさらに、サイドドアが開けられたときにサイドドアに引っ張られたグロメットが接近するフェンダパネルと、グロメットのうちサイドドアが開けられたときにフェンダパネルに最も接近する部分に設けられサイドドアが開けられてもグロメットとフェンダパネルとの干渉を回避する干渉回避部とを備えることを特徴とする。
(【0011】以降は省略されています)
この特許をJ-PlatPat(特許庁公式サイト)で参照する
関連特許
スズキ株式会社
車室構造
1か月前
スズキ株式会社
車室構造
1か月前
スズキ株式会社
車両構造
1か月前
スズキ株式会社
車両構造
1か月前
スズキ株式会社
車両構造
1か月前
スズキ株式会社
車両構造
1か月前
スズキ株式会社
車室構造
1か月前
スズキ株式会社
開閉機構
5日前
スズキ株式会社
車両構造
1か月前
スズキ株式会社
車両構造
1か月前
スズキ株式会社
車両構造
1か月前
スズキ株式会社
車両構造
1か月前
スズキ株式会社
シート構造
5日前
スズキ株式会社
シート構造
5日前
スズキ株式会社
車両検査装置
26日前
スズキ株式会社
車両後部構造
25日前
スズキ株式会社
燃料電池車両
1か月前
スズキ株式会社
車両側部構造
13日前
スズキ株式会社
燃料電池車両
1か月前
スズキ株式会社
動力伝達装置
3日前
スズキ株式会社
車両制御装置
3日前
スズキ株式会社
車両用制御装置
14日前
スズキ株式会社
車両の制御装置
17日前
スズキ株式会社
車体ルーフ構造
1か月前
スズキ株式会社
車両用荷室構造
1か月前
スズキ株式会社
車両の制御装置
24日前
スズキ株式会社
車両用制御装置
26日前
スズキ株式会社
車両用ルーフ構造
3日前
スズキ株式会社
衝突被害軽減装置
1か月前
スズキ株式会社
車両の可動ゲート
20日前
スズキ株式会社
車両の速度制御装置
4日前
スズキ株式会社
電動車両の後部構造
25日前
スズキ株式会社
車両の制御システム
1か月前
スズキ株式会社
電動車両の後部構造
25日前
スズキ株式会社
車両の制御システム
1か月前
スズキ株式会社
車両の制御システム
17日前
続きを見る
他の特許を見る