TOP
|
特許
|
意匠
|
商標
特許ウォッチ
Twitter
他の特許を見る
10個以上の画像は省略されています。
公開番号
2025149693
公報種別
公開特許公報(A)
公開日
2025-10-08
出願番号
2024050497
出願日
2024-03-26
発明の名称
フック棒
出願人
三和シヤッター工業株式会社
代理人
個人
,
個人
主分類
E06B
9/78 20060101AFI20251001BHJP(戸,窓,シャッタまたはローラブラインド一般;はしご)
要約
【課題】フック棒のグリップ部の連結構造を改良する。
【解決手段】先端にフック部が形成された本体パイプ2と、本体パイプ2の基端側を受け入れる中空部を備えたグリップ部4と、グリップ部4の基端に装着されたエンドキャップ5と、からなり、グリップ部4の中空部の内周面の基端側には当接部43が形成されており、エンドキャップ5は、頭部80と、軸部81と、を備え、軸部81は本体パイプ2の内周面21への固定手段(クリップ部)を備え、グリップ部4の先端から中空部22に挿入した本体パイプ2の基端24を当接部43に当接させた状態で、エンドキャップ5の軸部81をグリップ部4の基端から本体パイプ2の中空部22に挿入して、頭部80をグリップ部4の基端に当接させてなり、軸部81と本体パイプ2の内周面21が固定手段(クリップ部)で固定されている。
【選択図】図4
特許請求の範囲
【請求項1】
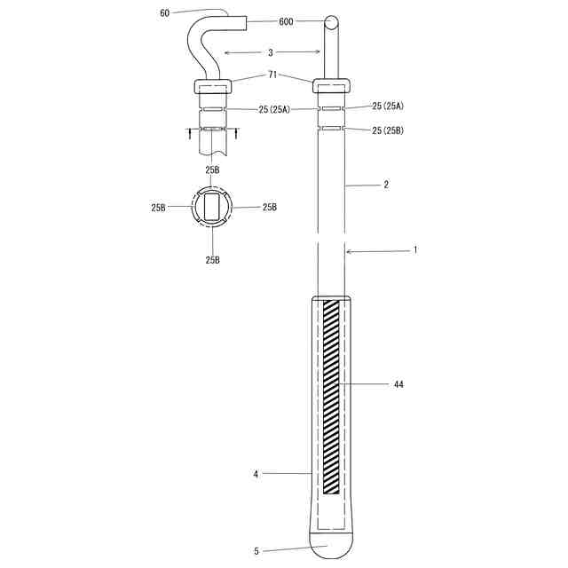
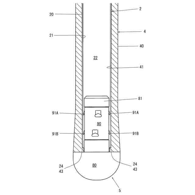
先端にフック部が形成された本体パイプと、
本体パイプの基端側を受け入れる中空部を備えたグリップ部と、
前記グリップ部の基端に装着されたエンドキャップと、
からなり、
前記グリップ部の前記中空部の内周面の基端側には当接部が形成されており、
前記エンドキャップは、頭部と、軸部と、を備え、前記軸部は前記本体パイプの内周面への固定手段を備え、
前記グリップ部の先端から前記中空部に挿入した前記本体パイプの基端を前記当接部に当接させた状態で、前記エンドキャップの前記軸部を前記グリップ部の基端から前記本体パイプの中空部に挿入して、前記頭部を前記グリップ部の基端に当接させてなり、前記軸部と前記本体パイプの前記内周面が前記固定手段で固定されている、
フック棒。
続きを表示(約 330 文字)
【請求項2】
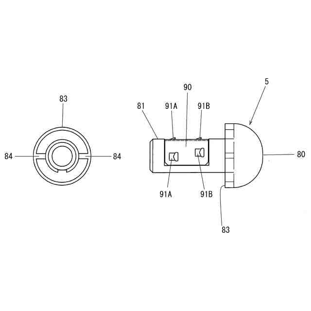
前記固定手段は、前記軸部の外周面に形成された複数の係止爪からなり、
前記係止爪は、弾性変形することで前記軸部の挿入方向の移動を許容し、前記本体パイプの前記内周面に噛むことで、前記本体パイプの前記中空部から外れる方向の移動が規制されている、
請求項1に記載のフック棒。
【請求項3】
前記グリップ部の基端、前記エンドキャップの頭部の一方には嵌合溝、他方に嵌合片が形成されており、
前記エンドキャップの頭部が前記グリップ部の基端に当接した時に、前記嵌合溝と前記嵌合片が嵌合することで、前記グリップ部と前記頭部の互いの周方向の移動が規制されている、
請求項1、2いずれか1項に記載のフック棒。
発明の詳細な説明
【技術分野】
【0001】
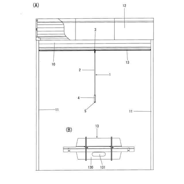
本発明は、建物開口部を開閉する開閉体(典型的には、シャッターカーテン)を手動操作するためのフック棒に関するものである。
続きを表示(約 2,000 文字)
【背景技術】
【0002】
手動式シャッター装置において、全開姿勢にあるシャッターカーテンを引き降ろして降下させる際に、先端にフック部を備え、基端にグリップ部を備えたフック棒を用いる場合がある(特許文献1)。従来のフック棒は、以下に述べるように、改良の余地がある。
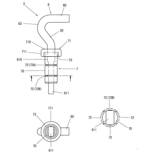
【0003】
特許文献1に開示された従来のフック棒と類似のフック棒1´を図15に示す。従来のフック棒1´のグリップ部4´は、本体パイプ2´の基端側部位に対して接着剤及びリベットRで固定されており、引っ張り強度及び回転強度に対抗できるようになっている。しかしながら、本体パイプ2´にグリップ部4´を接着剤及びリベットRで固定する手法は生産性が悪く、また、リベット留めはリベットRが露出するため意匠性が悪いものとなっている。
【0004】
従来のフック棒1´のフック部3´は、本体パイプ2´の先端側部位をつぶし、かつ、回転止めとして1ヵ所カシメることで固定されており、また、保護ゴムGを装着してあり、生産性、意匠性が悪いものとなっている。しかしながら、このような従来の固定手段は回転方向に弱く、フック棒1´の使用時に回転してしまうおそれがあった。
特許第6978374号
【発明の開示】
【発明が解決しようとする課題】
【0005】
本発明は、フック棒のグリップ部の連結構造を改良することを目的とするものである。
【課題を解決するための手段】
【0006】
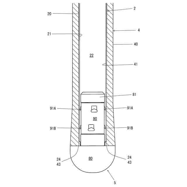
かかる課題を解決するべく本発明が採用した技術手段は、
先端にフック部が形成された本体パイプと、
本体パイプの基端側を受け入れる中空部を備えたグリップ部と、
前記グリップ部の基端に装着されたエンドキャップと、
からなり、
前記グリップ部の前記中空部の内周面の基端側には当接部が形成されており、
前記エンドキャップは、頭部と、軸部と、を備え、前記軸部は前記本体パイプの内周面への固定手段を備え、
前記グリップ部の先端から前記中空部に挿入した前記本体パイプの基端を前記当接部に当接させた状態で、前記エンドキャップの前記軸部を前記グリップ部の基端から前記本体パイプの中空部に挿入して、前記頭部を前記グリップ部の基端に当接させてなり、前記軸部と前記本体パイプの前記内周面が前記固定手段で固定されている、
フック棒、である。
【0007】
1つの態様では、前記固定手段は、前記軸部の外周面に形成された複数の係止爪からなり、
前記係止爪は、弾性変形することで前記軸部の挿入方向の移動を許容し、前記本体パイプの前記内周面に噛むことで、前記本体パイプの前記中空部から外れる方向の移動が規制されている。
なお、前記固定手段は、前記内周面に形成した雌螺子と、前記軸部の外周面に形成した雄螺子でもよい。
【0008】
1つの態様では、前記グリップ部の基端、前記エンドキャップの頭部の一方には嵌合溝、他方に嵌合片が形成されており、
前記エンドキャップの頭部が前記グリップ部の基端に当接した時に、前記嵌合溝と前記嵌合片が嵌合することで、前記グリップ部と前記頭部の互いの周方向の移動が規制されている。
【発明の効果】
【0009】
本発明では、エンドキャップを用いて、本体パイプの基端側にグリップ部を設けるようしたことで、グリップ部の固定にリベットが不要となり意匠性が向上する。
また、エンドキャップの軸部を本体パイプの内周面に固定手段で固定することで、フック棒の使用時に当該フック棒に作用する引っ張り力に対抗するようになっている。
さらに、グリップ部の基端、エンドキャップの頭部の一方には嵌合溝、他方に嵌合片が形成され、前記エンドキャップの頭部が前記グリップ部の基端に当接した時に、前記嵌合溝と前記嵌合片が嵌合して、周方向の移動を規制することで、フック棒の使用時にグリップ部が回転することがない。
【0010】
前記固定手段が、前記軸部の外周面に形成された複数の係止爪からなり、
前記係止爪は、弾性変形することで前記軸部の挿入方向の移動を許容し、前記本体パイプの前記内周面に噛むことで、前記本体パイプの前記中空部から外れる方向の移動が規制されているものでは、本体パイプの基端側部位をグリップ部に挿入し、グリップ部の基端から本体パイプの中空部にエンドキャップの軸部を挿入するだけで、本体パイプの基端側部位にグリップ部及びエンドキャップを固定することができ、生産性が向上する。
【図面の簡単な説明】
(【0011】以降は省略されています)
この特許をJ-PlatPat(特許庁公式サイト)で参照する
関連特許
他の特許を見る