TOP
|
特許
|
意匠
|
商標
特許ウォッチ
Twitter
他の特許を見る
公開番号
2025149154
公報種別
公開特許公報(A)
公開日
2025-10-08
出願番号
2024049620
出願日
2024-03-26
発明の名称
床材施工構造
出願人
大建工業株式会社
代理人
弁理士法人前田特許事務所
主分類
E04F
15/10 20060101AFI20251001BHJP(建築物)
要約
【課題】雌実と雄実とを嵌合させ易くして、施工性を向上させる。
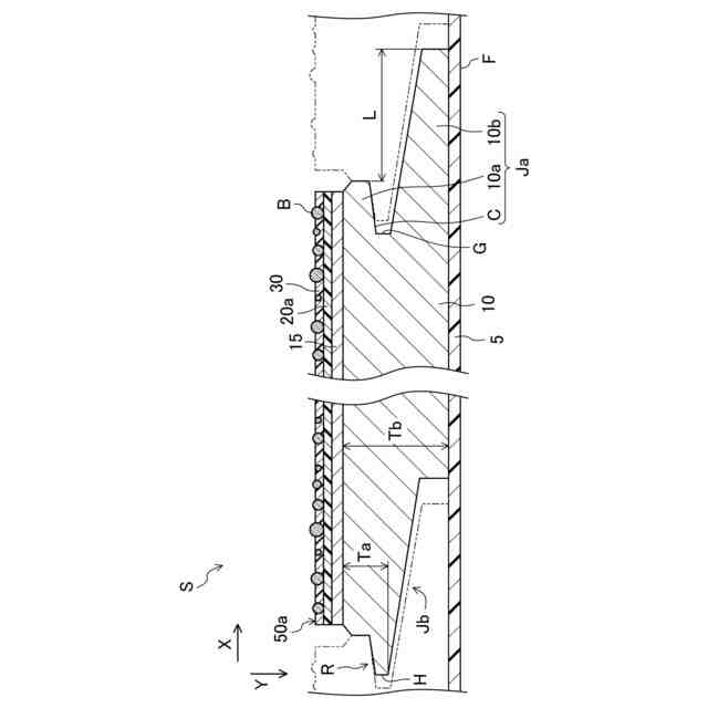
【解決手段】可塑剤を含まない20質量%~30質量%の塩化ビニル樹脂と、70質量%~80質量%の炭酸カルシウムとを含有し、厚さ4mm~6mmの基材10を備え、基材10の平面視で対向する一対の辺に沿う側端部に凹部Cを有する雌実Ja及び凸部Rを有する雄実Jbが設けられ、雌実Jbは、凹部C、上顎部10a及び下顎部10bを有し、凹部Cは、開口側に向かって基材10の厚さ方向に沿う幅が次第に広がるように底部Gを挟んだ両側の側面が傾斜し、凸部Rは、先端側に向かって基材10の厚さ方向に沿う幅が次第に狭まるように頂部Hを挟んだ両側の側面が傾斜し、上顎部10aから突出する下顎部10bの長さLは、基材10の一方の表面から頂部Hの基材10の他方の表面側までの厚さTaよりも大きくなっている。
【選択図】図1
特許請求の範囲
【請求項1】
可塑剤を含まない20質量%~30質量%の塩化ビニル樹脂と、70質量%~80質量%の炭酸カルシウムとを含有し、厚さ4mm~6mmの平面視で矩形板状の基材を備え、
上記基材の平面視で対向する一対の辺の一方に沿う側端部に凹部を有する雌実が設けられ、上記一対の辺の他方に沿う側端部に上記凹部に嵌る凸部を有する雄実が設けられ、
上記雌実は、上記凹部と、該凹部の上記基材の一方の表面側に設けられた上顎部と、該凹部の上記基材の他方の表面側に設けられ、上記上顎部よりも該凹部の開口側に突出する下顎部とを有する床材であって、
上記凹部は、開口側に向かって上記基材の厚さ方向に沿う幅が次第に広がるように底部を挟んだ両側の側面が傾斜し、
上記凸部は、先端側に向かって上記基材の厚さ方向に沿う幅が次第に狭まるように頂部を挟んだ両側の側面が傾斜し、
上記上顎部から突出する上記下顎部の長さは、上記基材の一方の表面から上記頂部の上記基材の他方の表面側までの厚さよりも大きくなっていることを特徴とする床材。
続きを表示(約 510 文字)
【請求項2】
請求項1に記載された床材において、
上記上顎部から突出する上記下顎部の長さは、上記基材の厚さよりも大きくなっていることを特徴とする床材。
【請求項3】
請求項1又は2に記載された床材において、
上記基材の一方の表面には、ガラス製の球状のビーズを含む保護層が設けられ、
上記ビーズの平均粒径は、上記保護層の厚さの1.0倍から1.5倍であることを特徴とする床材。
【請求項4】
請求項3に記載された床材において、
上記保護層及び上記基材の間には、該基材側から突板及び防水シートが順に設けられていることを特徴とする床材。
【請求項5】
請求項3に記載された床材において、
上記保護層及び上記基材の間には、化粧シートが設けられていることを特徴とする床材。
【請求項6】
床下地と、
上記床下地上に互いに嵌合するように複数設置された請求項1又は2に記載の床材とを備えた床材施工構造であって、
上記床下地及び上記床材の間には、変成シリコーン系の接着剤が設けられていることを特徴とする床材施工構造。
発明の詳細な説明
【技術分野】
【0001】
本発明は、床材及び床材施工構造に関するものである。
続きを表示(約 2,300 文字)
【背景技術】
【0002】
近年、環境保護等の観点から炭酸カルシウム等の天然石パウダーを主原料とした硬質なSPC(Stone Plastic Composite)基材を用いた床材が注目されている。
【0003】
例えば、特許文献1には、塩化ビニル樹脂100質量部と、炭酸カルシウム400~600質量部と、脂肪酸アルキルエステル可塑剤20~40質量部とを含む床仕上げ用のビニルコンポジションタイルが開示されている。
【先行技術文献】
【特許文献】
【0004】
特開2021-55314号公報
【発明の概要】
【発明が解決しようとする課題】
【0005】
ところで、SPC基材のような硬質の基材を用いた床材では、基材の端面に実加工を施し、スラブ等の床下地上に貼る際に、例えば、既に貼り付けた床材の雌実と、その次順に貼り付ける床材の雄実とを嵌合させ難いので、施工性に改善の余地がある。
【0006】
本発明は、かかる点に鑑みてなされたものであり、その目的とするところは、雌実と雄実とを嵌合させ易くして、施工性を向上させることにある。
【課題を解決するための手段】
【0007】
上記目的を達成するために、本発明に係る床材は、可塑剤を含まない20質量%~30質量%の塩化ビニル樹脂と、70質量%~80質量%の炭酸カルシウムとを含有し、厚さ4mm~6mmの平面視で矩形板状の基材を備え、上記基材の平面視で対向する一対の辺の一方に沿う側端部に凹部を有する雌実が設けられ、上記一対の辺の他方に沿う側端部に上記凹部に嵌る凸部を有する雄実が設けられ、上記雌実は、上記凹部と、該凹部の上記基材の一方の表面側に設けられた上顎部と、該凹部の上記基材の他方の表面側に設けられ、上記上顎部よりも該凹部の開口側に突出する下顎部とを有する床材であって、上記凹部は、開口側に向かって上記基材の厚さ方向に沿う幅が次第に広がるように底部を挟んだ両側の側面が傾斜し、上記凸部は、先端側に向かって上記基材の厚さ方向に沿う幅が次第に狭まるように頂部を挟んだ両側の側面が傾斜し、上記上顎部から突出する上記下顎部の長さは、上記基材の一方の表面から上記頂部の上記基材の他方の表面側までの厚さよりも大きくなっていることを特徴とする。
【0008】
上記の構成によれば、厚さ4mm~6mmの平面視で矩形板状の基材が、可塑剤を含まない20質量%~30質量%の塩化ビニル樹脂と、70質量%~80質量%の炭酸カルシウムとを含有しているので、寸法安定性に優れた硬質のいわゆるSPC基材を構成することができる。そして、その基材において、平面視で対向する一対の辺の一方に沿う側端部に凹部を有する雌実が設けられ、平面視で対向する一対の辺の他方に沿う側端部に凹部に嵌る凸部を有する雄実が設けられている。ここで、雌実は、雄実の凸部が嵌る凹部と、その凹部の基材の一方の表面側に設けられた上顎部と、その凹部の基材の他方の表面側に設けられ、上顎部よりも凹部の開口側に突出する下顎部とを有し、上顎部から突出する下顎部の長さが基材の一方の表面から頂部の基材の他方の表面側までの厚さよりも大きくなっている。そのため、床下地上に接着剤を介して複数の床材を順々に貼る際には、例えば、既に貼り付けた床材(の雌実)に対して次順に貼り付ける床材(の雄実)を斜め上方から近づけることにより、既に貼り付けた床材の雌実における下顎部の(基材の一方の表面側の)上面に次順に貼り付ける床材の雄実における凸部の頂部の(基材の他方の表面側の)下端を確実に当接することができる。さらに、雌実の凹部は、その開口側に向かって基材の厚さ方向に沿う幅が次第に広がるように底部を挟んだ両側の側面が傾斜し、雄実の凸部は、その先端側に向かって基材の厚さ方向に沿う幅が次第に狭まるように頂部を挟んだ両側の側面が傾斜しているので、雌実における凹部の下側の側面(下顎部の上面)に雄実における凸部の頂部の下端を滑らすように移動させると共に、床材同士が同一平面になるように次順に貼り付ける床材を倒すことにより、雌実の凹部に雄実の凸部を容易に嵌めることができる。これにより、既に貼り付けた床材の雌実の所定箇所(下顎部の上面)に対して次順に貼り付ける床材の雄実の所定箇所(凸部の頂部の下端)を確実に当接することができると共に、雌実の凹部に雄実の凸部を容易に嵌めることができるので、雌実と雄実とを嵌合させ易くして、施工性を向上させることができる。また、雌実の凹部は、その開口側に向かって基材の厚さ方向に沿う幅が次第に広がるように底部を挟んだ両側の側面が傾斜し、雄実の凸部は、その先端側に向かって基材の厚さ方向に沿う幅が次第に狭まるように頂部を挟んだ両側の側面が傾斜しているので、雌実の上顎部及び下顎部、並びに雄実の凸部の強度が確保され、それらの破損を抑制することができる。
【0009】
上記上顎部から突出する上記下顎部の長さは、上記基材の厚さよりも大きくなっていてもよい。
【0010】
上記の構成によれば、上顎部から突出する下顎部の長さが基材の厚さよりも大きくなっているので、既に貼り付けた床材の雌実における下顎部の(基材の一方の表面側の)上面に次順に貼り付ける床材の雄実における凸部の頂部の(基材の他方の表面側の)下端をよりいっそう確実に当接することができる。
(【0011】以降は省略されています)
この特許をJ-PlatPat(特許庁公式サイト)で参照する
関連特許
大建工業株式会社
床材施工構造
1か月前
大建工業株式会社
音環境改善評価方法
1か月前
大建工業株式会社
音環境改善評価方法
1か月前
大建工業株式会社
音環境改善評価方法
1か月前
大建工業株式会社
階段用踏板及び階段
1か月前
大建工業株式会社
縦枠及び縦枠の継手部材
1か月前
大建工業株式会社
吸音体及び音環境調整構造
1か月前
大建工業株式会社
吸音体及び音環境調整構造
1か月前
大建工業株式会社
化粧板及び化粧板シリーズ
1か月前
大建工業株式会社
開口部構造及びカバー部材
1か月前
大建工業株式会社
化粧板及びそれを備えた収納家具
2か月前
個人
接合構造
1か月前
個人
タッチミー
1か月前
個人
屋台
2か月前
個人
野良猫ハウス
2か月前
個人
安心補助てすり
1か月前
個人
フェンス
3か月前
個人
転落防止用手摺
2か月前
個人
ベンリナアングル
1か月前
個人
地下型マンション
4か月前
個人
居住車両用駐車場
2か月前
個人
筋交自動設定装置
2か月前
ニチハ株式会社
建築板
3か月前
積水樹脂株式会社
柵体
2か月前
個人
鋼管結合資材
4か月前
個人
熱抵抗多層断熱建材
2か月前
個人
補強部材
2か月前
個人
柵
3か月前
個人
防災建築物
1か月前
個人
身体用シェルター
2か月前
株式会社シンケン
住宅
1か月前
成友建設株式会社
建物
2か月前
個人
身体用シェルター
2か月前
鹿島建設株式会社
壁体
3か月前
三協立山株式会社
構造体
2か月前
三協立山株式会社
構造体
2か月前
続きを見る
他の特許を見る