TOP
|
特許
|
意匠
|
商標
特許ウォッチ
Twitter
他の特許を見る
10個以上の画像は省略されています。
公開番号
2025148679
公報種別
公開特許公報(A)
公開日
2025-10-08
出願番号
2024048930
出願日
2024-03-26
発明の名称
管継手及びスペーサ
出願人
株式会社オンダ製作所
代理人
主分類
F16L
58/18 20060101AFI20251001BHJP(機械要素または単位;機械または装置の効果的機能を生じ維持するための一般的手段)
要約
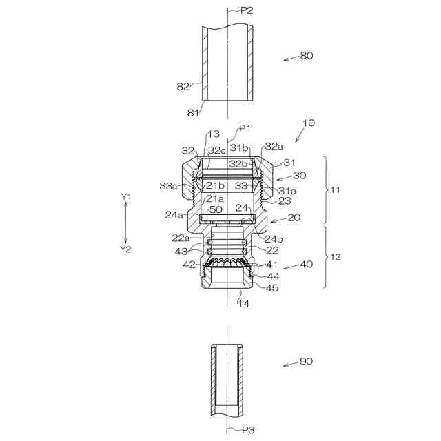
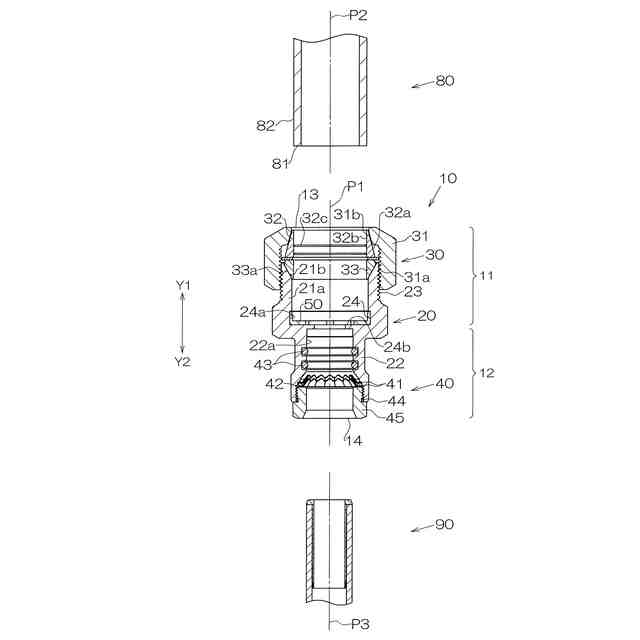
【課題】縮径させやすく、絡まりにくいスペーサを用いた管継手を提供する。
【解決手段】管継手10には、金属製の第1パイプ80が接続される。継手本体20は、第1パイプ80とは異種金属製のものである。継手本体20において、第1パイプ80が管継手10に接続されたときに、第1パイプ80の先端面81と当接する箇所に樹脂製のスペーサ50が配置されている。スペーサ50は、一部が不連続なリング状をなし、スペーサ50の不連続な第1,第2端部同士が径方向に重複している。
【選択図】 図1
特許請求の範囲
【請求項1】
金属製のパイプが接続される管継手であって、
前記パイプとは異種金属製の継手本体と、
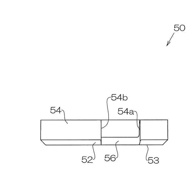
前記継手本体において、前記パイプが前記管継手に接続されたときに、前記パイプの先端面と当接する箇所に配置された非金属製のスペーサとを備え、
前記スペーサは、一部が不連続なリング状をなし、前記スペーサの不連続な端部同士が径方向に重複している管継手。
続きを表示(約 450 文字)
【請求項2】
前記スペーサは、
前記パイプが前記管継手に接続されたときに、前記パイプの前記先端面側に位置する底壁部と、
前記底壁部から、前記パイプの軸線方向に沿って立設され、前記パイプの側面側に位置する側壁部とを有し、
前記スペーサの前記不連続な端部の一方は、前記底壁部の一部を含み、前記側壁部を含まず、
前記スペーサの前記不連続な端部の他方は、前記底壁部の一部及び前記側壁部の一部を含む請求項1に記載の管継手。
【請求項3】
前記スペーサには径方向内側に開放された切欠きが形成されている請求項1又は請求項2に記載の管継手。
【請求項4】
パイプが接続される管継手の継手本体に取り付け可能であり、前記継手本体において、前記パイプが前記管継手に接続されたときに、前記パイプの前記先端面と当接する箇所に配置される非金属製のスペーサであって、
一部が不連続なリング状をなし、不連続な端部同士が径方向に重複しているスペーサ。
発明の詳細な説明
【技術分野】
【0001】
本発明は、パイプが接続される管継手及びその管継手に用いられるスペーサに関する。
続きを表示(約 1,200 文字)
【背景技術】
【0002】
管継手に接続される金属製パイプの先端の腐食を防止する防食手段が、例えば特許文献1に開示されている。特許文献1の防食手段は、パイプの先端面と当接するゴム体からなる防食部材と、防食部材の周囲に配置されてC字状をなす保持部とから構成されている。防食手段は管継手の継手本体においてパイプが接続される箇所に配置され、防食部材により金属パイプの先端面が腐食から保護される。
【0003】
ここで、例えば管継手の製造工程において防食手段を継手本体に取り付ける際、C字状の保持部の離間した端部同士の距離を縮めて縮径させることにより、スムーズに継手本体内へ挿入し、取り付けることができる。
【先行技術文献】
【特許文献】
【0004】
特開2009-14075号公報
【発明の概要】
【発明が解決しようとする課題】
【0005】
しかし、管継手の製造工程において、特許文献1のようなC字状の部品が多数集められた際、部品同士が絡まり易く、絡まった部品同士を外すのに労力及び工数がかかることがあった。
【0006】
本発明の目的は、縮径させやすく、絡まりにくいスペーサ及びそれを用いた管継手を提供することにある。
【課題を解決するための手段】
【0007】
上記課題を解決する管継手は、金属製のパイプが接続される管継手であって、前記パイプとは異種金属製の継手本体と、前記継手本体において、前記パイプが前記管継手に接続されたときに、前記パイプの先端面と当接する箇所に配置された非金属製のスペーサとを備え、前記スペーサは、一部が不連続なリング状をなし、前記スペーサの不連続な端部同士が径方向に重複している管継手。
【0008】
上記管継手において、前記スペーサは、前記パイプが前記管継手に接続されたときに、前記パイプの前記先端面側に位置する底壁部と、前記底壁部から、前記パイプの軸線方向に沿って立設され、前記パイプの側面側に位置する側壁部とを有し、前記スペーサの前記不連続な端部の一方は、前記底壁部の一部を含み、前記側壁部を含まず、前記スペーサの前記不連続な端部の他方は、前記底壁部の一部及び前記側壁部の一部を含む。
【0009】
上記管継手において、前記スペーサには径方向内側に開放された切欠きが形成されている。
【0010】
上記課題を解決するスペーサは、パイプが挿入される管継手の継手本体に取り付け可能であり、前記継手本体において、前記パイプが前記管継手に接続されたときに、前記パイプの前記先端面と当接する箇所に配置される非金属製のスペーサであって、一部が不連続なリング状をなし、不連続な端部同士が径方向に重複している。
【図面の簡単な説明】
(【0011】以降は省略されています)
この特許をJ-PlatPat(特許庁公式サイト)で参照する
関連特許
個人
留め具
1か月前
個人
鍋虫ねじ
2か月前
個人
紛体用仕切弁
2か月前
個人
回転伝達機構
3か月前
個人
ホース保持具
7か月前
個人
差動歯車用歯形
4か月前
個人
ジョイント
1か月前
個人
給排気装置
1か月前
株式会社不二工機
電磁弁
6か月前
個人
地震の揺れ回避装置
3か月前
株式会社不二工機
電磁弁
4か月前
個人
ナット
11日前
個人
ナット
1か月前
個人
吐出量監視装置
2か月前
柿沼金属精機株式会社
分岐管
3か月前
カヤバ株式会社
緩衝器
4か月前
兼工業株式会社
バルブ
12日前
カヤバ株式会社
緩衝器
1か月前
カヤバ株式会社
緩衝器
4か月前
カヤバ株式会社
ダンパ
4か月前
カヤバ株式会社
ダンパ
4か月前
株式会社ノーリツ
分配弁
1か月前
株式会社ノーリツ
分配弁
6か月前
株式会社ノーリツ
分配弁
6か月前
株式会社ノーリツ
分配弁
6か月前
個人
固着具と固着具の固定方法
6か月前
個人
固着具と固着具の固定方法
5か月前
株式会社不二工機
電磁弁
2か月前
株式会社不二工機
電動弁
1か月前
日東電工株式会社
断熱材
7か月前
個人
固着具と固着具の固定方法
6か月前
株式会社タカギ
水栓装置
3か月前
株式会社奥村組
制振機構
1か月前
株式会社奥村組
制振機構
1か月前
株式会社フジキン
ボールバルブ
5か月前
アズビル株式会社
回転弁
1か月前
続きを見る
他の特許を見る