TOP
|
特許
|
意匠
|
商標
特許ウォッチ
Twitter
他の特許を見る
公開番号
2025147774
公報種別
公開特許公報(A)
公開日
2025-10-07
出願番号
2024048185
出願日
2024-03-25
発明の名称
車体構造
出願人
三菱自動車工業株式会社
代理人
個人
主分類
B62D
25/20 20060101AFI20250930BHJP(鉄道以外の路面車両)
要約
【課題】側面衝突の形態に限らずクロスメンバの強度を確保でき、車体の変形を抑制する上で有利な車体構造を提供する。
【解決手段】側面衝突時に、シートクロスメンバ18およびフロアパネル12が上折れしようとすると、補強部材20の一対の側壁部2004の上端がシートクロスメンバ18の上壁部1806の下面に当接し、それ以上のシートクロスメンバ18の上折れ方向の変形が抑制される。また側面衝突時には、シートクロスメンバ18およびフロアパネル12が下折れするように変形しようとすると、補強部材20の一対の側壁部2004の第2ビード28にフロアパネル12の第1ビード26の角部が係止し、それ以上のシートクロスメンバ18の下折れ方向の変形が抑制される。
【選択図】図3
特許請求の範囲
【請求項1】
フロアパネルの上面に、車両前後方向において互いに対向する前壁部と後壁部、前記前壁部と前記後壁部の上端を接続する上壁部とを有して車幅方向に延在するクロスメンバが設けられた車体構造であって、
前記クロスメンバの内部に前記クロスメンバの延在方向に沿って延在する補強部材が設けられ、
前記補強部材は、前記フロアパネルに取り付けられた底壁部と、車両前後方向における前記底壁部の前後端からそれぞれ起立し前記クロスメンバの前記上壁部近傍まで延びる一対の側壁部とを備え、
前記クロスメンバの前記前壁部および前記後壁部の前記フロアパネル寄りの箇所に、あるいは、前記フロアパネルの前記前壁部と前記後壁部寄りの箇所に、それぞれ前記側壁部に対向する第1ビードが設けられ、
前記一対の側壁部に、第2ビードが設けられている、
ことを特徴とする車体構造。
続きを表示(約 350 文字)
【請求項2】
前記クロスメンバは、その延在方向の両端寄りの箇所において上下幅が急変する一対の上下幅急変部を有し、
前記補強部材は、前記一対の上下幅急変部を跨いで延在しており、
前記第1ビードと前記第2ビードは、前記補強部材が前記各上下幅急変部を跨いだ箇所に設けられている、
ことを特徴とする請求項1記載の車体構造。
【請求項3】
車両の前後方向に延在する一対のサイドメンバが配設され、
前記サイドメンバよりも車幅方向内側に前期一対の上下幅急変部が形成されている、
ことを特徴とする請求項2記載の車体構造。
【請求項4】
前記クロスメンバは、シートクロスメンバである、
ことを特徴とする請求項1記載の車体構造。
発明の詳細な説明
【技術分野】
【0001】
本発明は、車体構造に関する。
続きを表示(約 3,600 文字)
【背景技術】
【0002】
車両の側面衝突試験として、ポール側面衝突試験やバリア側面衝突試験など様々な形態が知られている。
例えばポール側面衝突試験は、電柱を模したポールに試験対象となる車両の前部座席の側面を衝突させるものである。
例えばバリア側面衝突試験は、車両の前部を模したバリア(アルミハニカム)を試験対象となる車両の前部座席の側面に衝突させるものである。
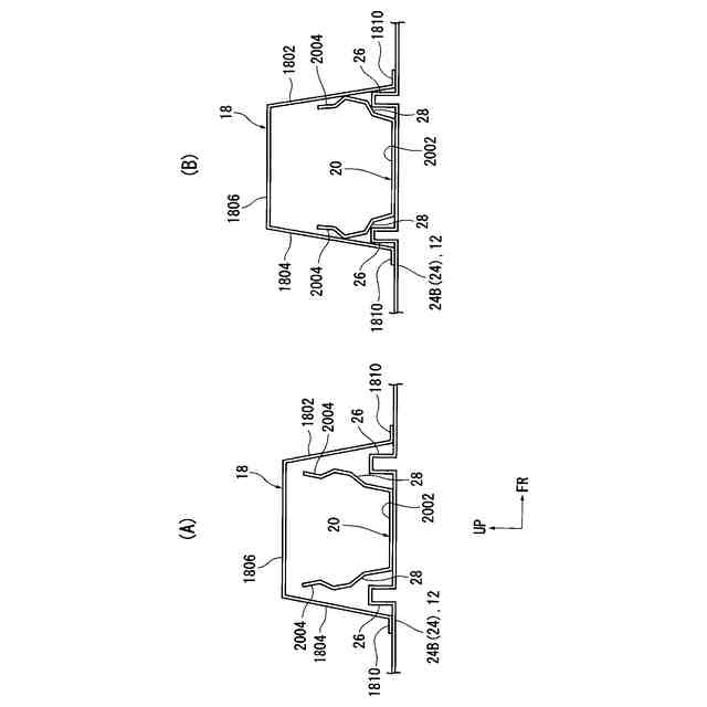
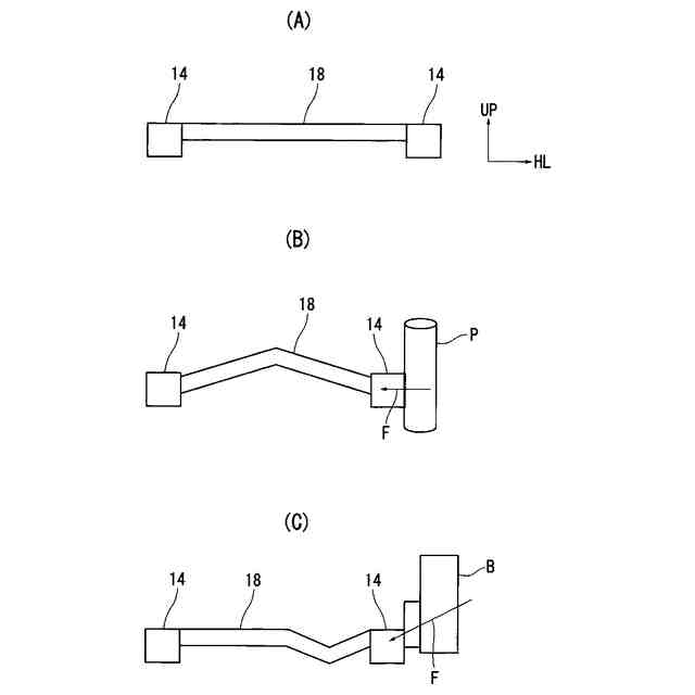
図5は、衝突試験によって変形するシートクロスメンバ18の折れ方の違いを説明する模式図であり、車両を正面視している。
図中、符号18は不図示のフロアパネル上に設けられ車幅方向に延在するシートクロスメンバ、符号14はフロアパネルの車幅方向の両側とシートクロスメンバ18の両端に接続された一対のサイドシルを示す。
図5(A)は衝突試験前の状態を示す。
図5(B)はポール側面衝突試験によってシートクロスメンバ18がほぼ中央で上側に凸となる上折れを生じている状態を示す。
シートクロスメンバ18が上折れを生じるのは、鉛直方向に延在するポールPからシートクロスメンバ18に加わる衝突荷重の方向がクロスメンバの延在方向とほぼ一致していることによる。
図5(C)はバリア側面衝突試験によってシートクロスメンバ18の衝突された側の端部寄りの箇所が下側に凸となる下折れを生じている。
シートクロスメンバ18が下折れを生じるのは、バリアBがシートクロスメンバ18よりも上方の車体箇所に衝突するために、バリアBからシートクロスメンバ18に加わる衝突荷重の方向がシートクロスメンバ18の延在方向に対して上方から斜め下方に向かっていることによる。
【0003】
このような側面衝突に対して車体の変形を抑制するために、引用文献1には、隣り合う2つのシートクロスメンバ18の両端が一対のサイドシル14(ロッカ)に接続される構造において、2つのクロスメンバの端部同士を橋渡しする橋渡し部材で接続した上でそれら2つのクロスメンバの端部を、橋渡し部材を介してサイドシル14に接続する車体構造が開示されている。
【先行技術文献】
【特許文献】
【0004】
特開2020-83033号公報
【発明の概要】
【発明が解決しようとする課題】
【0005】
しかしながら、特許文献1が示す従来の構成では、ポール側面衝突のようにポールPからクロスメンバに加わる衝突荷重の方向がクロスメンバの延在方向とほぼ一致している場合に対する強度を確保することができる一方、バリア側面衝突のようにバリアBからシートクロスメンバ18に加わる衝突荷重の方向がシートクロスメンバ18の延在方向に対して上方から斜め下方に向かっている場合に対する強度を確保する点については考慮されていない。
本発明は、上記事情に鑑みなされたものであり、側面衝突の形態に関わらずクロスメンバの強度を確保でき、車体の変形を抑制する上で有利な車体構造を提供することを目的とする。
【課題を解決するための手段】
【0006】
上記目的を達成するために、本発明の一実施の形態は、フロアパネルの上面に、車両前後方向において互いに対向する前壁部と後壁部、前記前壁部と前記後壁部の上端を接続する上壁部とを有して車幅方向に延在するクロスメンバが設けられた車体構造であって、前記クロスメンバの内部に前記クロスメンバの延在方向に沿って延在する補強部材が設けられ、前記補強部材は、前記フロアパネルに取り付けられた底壁部と、車両前後方向における前記底壁部の前後端からそれぞれ起立し前記クロスメンバの前記上壁部近傍まで延びる一対の側壁部とを備え、前記クロスメンバの前記前壁部および前記後壁部の前記フロアパネル寄りの箇所に、あるいは、前記フロアパネルの前記前壁部と前記後壁部寄りの箇所に、それぞれ前記側壁部に対向する第1ビードが設けられ、前記一対の側壁部に、第2ビードが設けられていることを特徴とする。
また、本発明の一実施の形態は、前記クロスメンバは、その延在方向の両端寄りの箇所において上下幅が急変する一対の上下幅急変部を有し、前記補強部材は、前記一対の上下幅急変部を跨いで延在しており、前記第1ビードと前記第2ビードは、前記補強部材が前記各上下幅急変部を跨いだ箇所に設けられていることを特徴とする。
また、本発明の一実施の形態は、車両の前後方向に延在する一対のサイドメンバが配設され、前記サイドメンバよりも車幅方向内側に前期一対の上下幅急変部が形成されていることを特徴とする。
また、本発明の一実施の形態は、前記クロスメンバは、シートクロスメンバであることを特徴とする。
【発明の効果】
【0007】
本発明の一実施の形態によれば、側面衝突時にクロスメンバおよびフロアパネルが上折れしようとすると、クロスメンバの延在方向の中央部およびフロアパネルの車幅方向の中央部では、クロスメンバが上方から押しつぶされるように変形する。その結果、補強部材の一対の側壁部の上端がクロスメンバの上壁部の下面に当接する。そして、一対の側壁部の上端がクロスメンバの上壁部の下面に当接すると、それ以上のクロスメンバの上折れ方向の変形が抑制される。したがって、側面衝突時におけるクロスメンバの強度を確保でき、車体の変形を抑制する上で有利となる。
また、上記とは異なる側面衝突時にクロスメンバの延在方向に対して上方から斜め下方に向かって衝突荷重が入力することによって、クロスメンバおよびフロアパネルが下折れするように変形しようとすると、クロスメンバの前壁部および後壁部はそれらがフロアパネルに接合された箇所がフロアパネルの変形に追従して互いに接近する方向(閉じる方向)に変形する一方、補強部材の一対の側壁部はそれらの上端がフロアパネルの変形に追従して互いに離間する方向(開く方向)に変形する。その結果、補強部材の一対の側壁部の第2ビードにフロアパネルまたはクロスメンバの第1ビードの角部が係止すると、それ以上のクロスメンバの下折れ方向の変形が抑制される。したがって、側面衝突時におけるクロスメンバの強度を確保でき、車体の変形を抑制する上で有利となる。
上記のことから側面衝突の形態に関わらず、クロスメンバの強度を確保でき、車体の変形を抑制する上で有利となる。
また、クロスメンバの延在方向の両端寄りの箇所においてクロスメンバの上下幅が急変する一対の上下幅急変部を跨いだ箇所に第1ビードと第2ビードとを設けると、バリア側面衝突時におけるクロスメンバの強度を確保でき、車体の変形を抑制する上で有利となる。
また、一対の上下幅急変部を車両の前後方向に延在し配設される一対のサイドメンバよりも車幅方向内側に形成されていることによって、より効率的にクロスメンバの強度を確保でき、車体の変形を抑制する上で有利となる。
また、クロスメンバがシートクロスメンバであると、シートクロスメンバの近傍に衝突荷重が入力する側面衝突に対してシートクロスメンバの変形を抑制しシートクロスメンバの強度を強化して車体の変形を抑制する上で有利となる。
【図面の簡単な説明】
【0008】
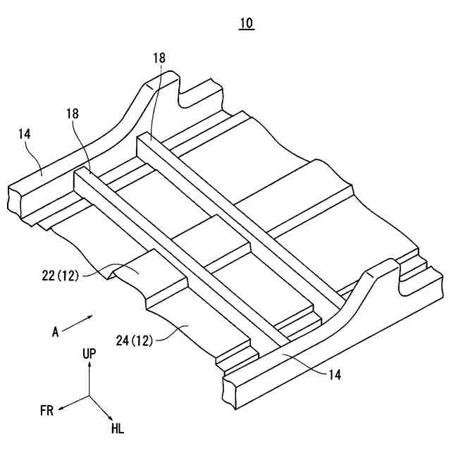
実施の形態に係る車体構造を示す斜視図である。
図1のA矢視図である。
図2のB-B線断面図である。
図3のC-C線断面図である。
側面衝突によるシートクロスメンバの変形を模式的に説明する説明図であり、(A)は側面衝突前の状態を示し、(B)は一例としてポール側面衝突後の状態を示し、(C)は一例としてバリア側面衝突後の状態を示す。
【発明を実施するための形態】
【0009】
以下、本発明の実施の形態に係る車体構造について図面を参照して説明する。
なお、以下の図面において、符号FRは車両前方、符号UPは車両上方、符号LHは車幅方向を示す。
図1、図2に示すように、車両10は、フロアパネル12と、一対のサイドシル14と、一対のサイドメンバ16と、2つのシートクロスメンバ18と、補強部材20とを含んで構成されている。
【0010】
一対のサイドメンバ16は、それぞれ閉断面構造を呈し、車幅方向に間隔をおいて車両前後方向に延在して設けられている。
一対のサイドシル14は、それぞれ閉断面構造を呈し、一対のサイドメンバ16の車幅方向外側で車両前後方向に延在して設けられている。
(【0011】以降は省略されています)
この特許をJ-PlatPat(特許庁公式サイト)で参照する
関連特許
個人
カート
3か月前
個人
走行装置
3か月前
個人
電動走行車両
3か月前
個人
乗り物
5か月前
個人
自転車用歩数計
2日前
個人
駐輪設備
1か月前
個人
閂式ハンドル錠
3か月前
個人
発音装置
7か月前
個人
電動モビリティ
7か月前
個人
ボギー・フレーム
1か月前
個人
ルーフ付きトライク
1か月前
個人
三輪電動車両
2日前
個人
自由方向乗車自転車
7か月前
個人
ルーフ付きトライク
2か月前
個人
“zen-go.”
2か月前
個人
パワーアシスト自転車
1か月前
個人
フロントフットブレーキ。
4か月前
株式会社豊田自動織機
産業車両
4か月前
個人
ホイールハブ駆動構造
4か月前
個人
乗用自動車のディフューザー
22日前
豊田鉄工株式会社
小型車両
3か月前
株式会社GEAR
電動カート
2か月前
コンビ株式会社
乳母車
10日前
個人
走行車両等の粉塵飛散防止装置
3か月前
株式会社オカムラ
搬送用什器
7か月前
ヤマハ発動機株式会社
自転車
4か月前
船井電機株式会社
車両
2か月前
個人
折り畳み作業机搭載の変型台車
1か月前
株式会社カインズ
台車
8か月前
個人
二輪車の三次元折りたたみ機構
2か月前
個人
ハブモーターの配線構造
28日前
トヨタ自動車株式会社
パネル
4か月前
個人
自動車のタイヤの位置について
1か月前
株式会社GEAR
電動カート
4か月前
個人
自転車の駐輪場システム
5か月前
コンビ株式会社
乳母車
6か月前
続きを見る
他の特許を見る