TOP
|
特許
|
意匠
|
商標
特許ウォッチ
Twitter
他の特許を見る
公開番号
2025146416
公報種別
公開特許公報(A)
公開日
2025-10-03
出願番号
2024047170
出願日
2024-03-22
発明の名称
空撮映像表示システム、及び、空撮映像表示プログラム
出願人
西松建設株式会社
,
株式会社ホロラボ
代理人
弁理士法人井上国際特許商標事務所
,
個人
,
個人
,
個人
,
個人
主分類
H04N
7/18 20060101AFI20250926BHJP(電気通信技術)
要約
【課題】 自由視点での状況確認を可能とする、空撮映像を表示するためのシステムを提供する。
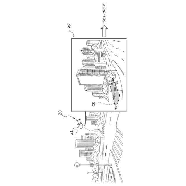
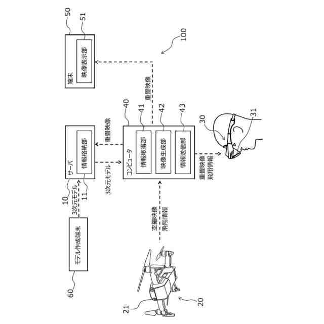
【解決手段】 空撮映像表示システム100は、3次元モデルMDの情報を格納するサーバ10と、飛翔状態で空撮映像APを撮影する撮影装置20と、撮影装置20の視認とともに重畳映像SVを表示する表示装置30と、コンピュータ40と、を備える。コンピュータ40は、少なくとも、3次元モデルMDの情報、及び、空撮映像APの情報を取得する情報取得部41と、前記取得された情報に基づいて、重畳映像SVを生成する映像生成部42と、表示装置30に向けて、少なくとも、前記生成された重畳映像SVを送信する情報送信部43と、を備える。
【選択図】 図5
特許請求の範囲
【請求項1】
3次元座標系の空間に表示される3次元モデルの情報を格納するサーバと、
飛翔状態で空撮映像を撮影する、飛翔可能な撮影装置と、
前記撮影装置の実際の飛翔状態を視認可能に構成され、且つ、前記撮影装置の視認とともに前記3次元モデルを前記空撮映像に重畳させた重畳映像を表示する表示装置と、
前記サーバ、前記撮影装置、及び、前記表示装置のそれぞれと、情報通信可能なコンピュータと、
を備え、
前記コンピュータは、
少なくとも、前記3次元モデルの情報、及び、前記空撮映像の情報を取得する情報取得部と、
前記取得された情報に基づいて、前記重畳映像を生成する映像生成部と、
前記表示装置に向けて、少なくとも、前記生成された重畳映像を送信する情報送信部と、
を備える
空撮映像表示システム。
続きを表示(約 1,200 文字)
【請求項2】
請求項1に記載の空撮映像表示システムにおいて、
前記情報取得部は、
さらに、前記撮影装置の飛翔状態を示す情報を取得し、
前記映像生成部は、
前記撮影装置の飛翔状態を示す情報として、前記撮影装置の位置情報、前記撮影装置の進行方向、前記撮影装置の傾斜度合い、前記撮影装置のカメラ方向、及び、前記撮影装置のカメラ角度、のうちの1つ又は2つ以上を、前記3次元モデルの3次元座標系に適応することで、前記重畳映像を生成する
空撮映像表示システム。
【請求項3】
請求項2に記載の空撮映像表示システムにおいて、
前記情報送信部は、
さらに、前記撮影装置の飛翔状態を示す情報として、少なくとも、前記撮影装置の飛行速度、前記撮影装置の飛行高度、及び、前記撮影装置のバッテリ残量、のうちの1つ又は2つ以上を、前記重畳映像の表示とともに前記表示装置にて表示するよう、前記表示装置に向けて送信する
空撮映像表示システム。
【請求項4】
請求項1乃至請求項3の何れか一項に記載の空撮映像表示システムにおいて、
前記情報送信部は、
前記表示装置への情報送信に加え、前記表示装置とは別の端末に向けて前記生成された重畳映像を送信する
空撮映像表示システム。
【請求項5】
請求項1乃至請求項3の何れか一項に記載の空撮映像表示システムにおいて、
前記表示装置は、
前記撮影装置の操作者に装着された場合に、前記操作者の目を覆いつつ透過視野を確保可能であって、前記送信された重畳映像が、前記操作者に視認されるよう表示されるディスプレイ部
を備える
空撮映像表示システム。
【請求項6】
請求項4に記載の空撮映像表示システムにおいて、
前記表示装置は、
前記撮影装置の操作者に装着された場合に、前記操作者の目を覆いつつ透過視野を確保可能であって、前記送信された重畳映像が、前記操作者に視認されるよう表示されるディスプレイ部
を備える
空撮映像表示システム。
【請求項7】
コンピュータに、
少なくとも、3次元座標系の空間に表示される3次元モデルの情報、及び、飛翔可能な撮影装置を用いて飛翔状態で撮影される空撮映像の情報を取得する情報取得手段と、
前記取得された情報に基づいて、前記3次元モデルを前記空撮映像に重畳させた重畳映像を生成する映像生成手段と、
前記撮影装置の実際の飛翔状態を視認可能に構成され、且つ、前記撮影装置の視認とともに前記重畳映像を表示する表示装置に向けて、少なくとも、前記生成された重畳映像を送信する情報送信手段と、
を実行させる
空撮映像表示プログラム。
発明の詳細な説明
【技術分野】
【0001】
本発明は、空撮映像を表示するためのシステム、及び、空撮映像を表示するためのコンピュータに実行させるプログラムに関する。
続きを表示(約 1,600 文字)
【背景技術】
【0002】
従来、現実空間を撮影した映像に3次元モデルを重畳する技術が知られている。例えば、特許文献1では、デバイスに設けられたカメラ、センサ等により、デバイスにおける周囲の環境と、現在位置とが把握され、デバイスのモニタ上に、撮影映像に3次元モデルが重畳された重畳映像が表示されることとしている。
【先行技術文献】
【特許文献】
【0003】
特開2023-156279号公報
【発明の概要】
【0004】
上述した特許文献1の技術によれば、重畳映像が得られるものの、タブレット等のデバイス越しに、地上視点にて状況確認する必要が生じる。このため、デバイスを持参して使用場所まで移動するための準備や移動時間の負担が生じる場合がある。また、足場のない高所で使用する場合や、立ち入りが困難な区域で使用する場合、安全を確保することが難しい。以上のことから、地上視点にとらわれない、自由視点での状況確認を可能とする技術が好適である。
【0005】
上記を鑑み、本発明の目的は、自由視点での状況確認を可能とする、空撮映像を表示するためのシステム、及び、空撮映像を表示するためのコンピュータに実行させるプログラムを、提供することにある。
【課題を解決するための手段】
【0006】
この技術的課題を解決するための本発明の技術的手段は、以下に示す点を特徴とする。本発明の空撮映像表示システムは、3次元座標系の空間に表示される3次元モデルの情報を格納するサーバと、飛翔状態で空撮映像を撮影する飛翔可能な撮影装置と、前記撮影装置の実際の飛翔状態を視認可能に構成され、且つ、前記撮影装置の視認とともに前記3次元モデルを前記空撮映像に重畳させた重畳映像を表示する表示装置と、前記サーバ、前記撮影装置、及び、前記表示装置のそれぞれと、情報通信可能なコンピュータと、を備える。前記コンピュータは、少なくとも、前記3次元モデルの情報、及び、前記空撮映像の情報を取得する情報取得部と、前記取得された情報に基づいて、前記重畳映像を生成する映像生成部と、前記表示装置に向けて、少なくとも、前記生成された重畳映像を送信する情報送信部と、を備える。
【0007】
本発明の空撮映像表示システムにおいて、前記情報取得部は、さらに、前記撮影装置の飛翔状態を示す情報を取得し、前記映像生成部は、前記撮影装置の飛翔状態を示す情報として、前記撮影装置の位置情報、前記撮影装置の進行方向、前記撮影装置の傾斜度合い、前記撮影装置のカメラ方向、及び、前記撮影装置のカメラ角度、のうちの1つ又は2つ以上を、前記3次元モデルの3次元座標系に適応することで、前記重畳映像を生成する。
【0008】
本発明の空撮映像表示システムにおいて、前記情報送信部は、さらに、前記撮影装置の飛翔状態を示す情報として、少なくとも、前記撮影装置の飛行速度、前記撮影装置の飛行高度、及び、前記撮影装置のバッテリ残量、のうちの1つ又は2つ以上を、前記重畳映像の表示とともに前記表示装置にて表示するよう、前記表示装置に向けて送信する。
【0009】
本発明の空撮映像表示システムにおいて、前記情報送信部は、前記表示装置への情報送信に加え、前記表示装置とは別の端末に向けて前記生成された重畳映像を送信する。
【0010】
本発明の空撮映像表示システムにおいて、前記表示装置は、前記撮影装置の操作者に装着された場合に、前記操作者の目を覆いつつ透過視野を確保可能であって、前記送信された重畳映像が、前記操作者に視認されるよう表示されるディスプレイ部を備える。
(【0011】以降は省略されています)
この特許をJ-PlatPat(特許庁公式サイト)で参照する
関連特許
西松建設株式会社
耐震補強方法
10日前
西松建設株式会社
情報通信システム
1か月前
西松建設株式会社
コア採取用ビットおよびコア採取方法
2か月前
西松建設株式会社
空撮映像表示システム、及び、空撮映像表示プログラム
2か月前
西松建設株式会社
粒状材料の粒度分布測定システム及び粒度分布測定方法
2か月前
戸田建設株式会社
距離計測器を備えた吹付けノズル装置
18日前
個人
イヤーピース
1か月前
個人
イヤーマフ
1か月前
個人
監視カメラシステム
1か月前
キーコム株式会社
光伝送線路
1か月前
個人
スイッチシステム
1か月前
サクサ株式会社
中継装置
2か月前
個人
スキャン式車載用撮像装置
1か月前
サクサ株式会社
中継装置
2か月前
WHISMR合同会社
収音装置
2か月前
キヤノン株式会社
撮像装置
3日前
キヤノン株式会社
撮像装置
3か月前
キヤノン株式会社
撮像装置
3日前
アイホン株式会社
電気機器
2か月前
キヤノン株式会社
撮像装置
3日前
キヤノン株式会社
撮像装置
10日前
キヤノン電子株式会社
画像読取装置
1か月前
キヤノン電子株式会社
画像読取装置
1か月前
個人
映像表示装置、及びARグラス
1か月前
サクサ株式会社
無線システム
1か月前
キヤノン電子株式会社
画像読取装置
1か月前
キヤノン電子株式会社
画像読取装置
2か月前
株式会社リコー
画像形成装置
1か月前
ヤマハ株式会社
放音制御装置
1か月前
サクサ株式会社
無線通信装置
2か月前
株式会社リコー
画像形成装置
3か月前
サクサ株式会社
無線通信装置
2か月前
個人
ワイヤレスイヤホン対応耳掛け
2か月前
株式会社リコー
画像形成装置
3か月前
個人
発信機及び発信方法
1か月前
キヤノン株式会社
情報処理装置
18日前
続きを見る
他の特許を見る