TOP
|
特許
|
意匠
|
商標
特許ウォッチ
Twitter
他の特許を見る
10個以上の画像は省略されています。
公開番号
2025145787
公報種別
公開特許公報(A)
公開日
2025-10-03
出願番号
2024046169
出願日
2024-03-22
発明の名称
手摺装置
出願人
マツ六株式会社
,
ナカ工業株式会社
代理人
弁理士法人あーく事務所
主分類
E04F
11/18 20060101AFI20250926BHJP(建築物)
要約
【課題】第1手摺および第2手摺のうち少なくともいずれか一方が所定角度回転可能な手摺装置の提供。
【解決手段】床面上に上下方向に沿う姿勢で設けられる支柱3と、支柱3の円周方向の2ヶ所に支柱3から径方向外向きに延出するように取り付けられる第1手摺4および第2手摺5と、を備え、第1手摺4および、第2手摺5のうち少なくともいずれか一方は、支柱3の中心軸線周りに回転可能とされている。
【選択図】図8
特許請求の範囲
【請求項1】
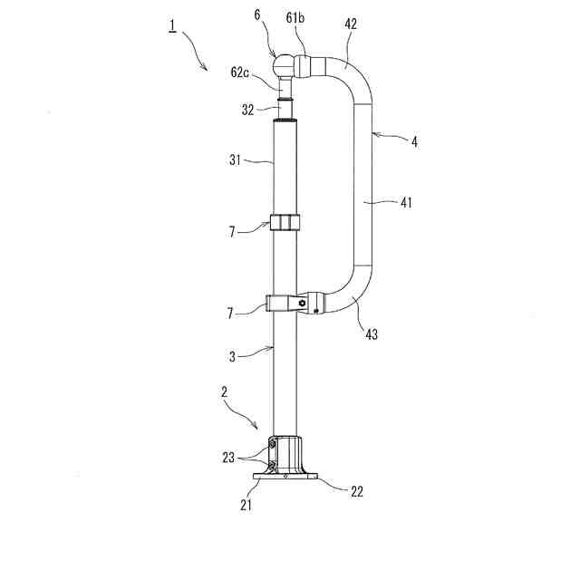
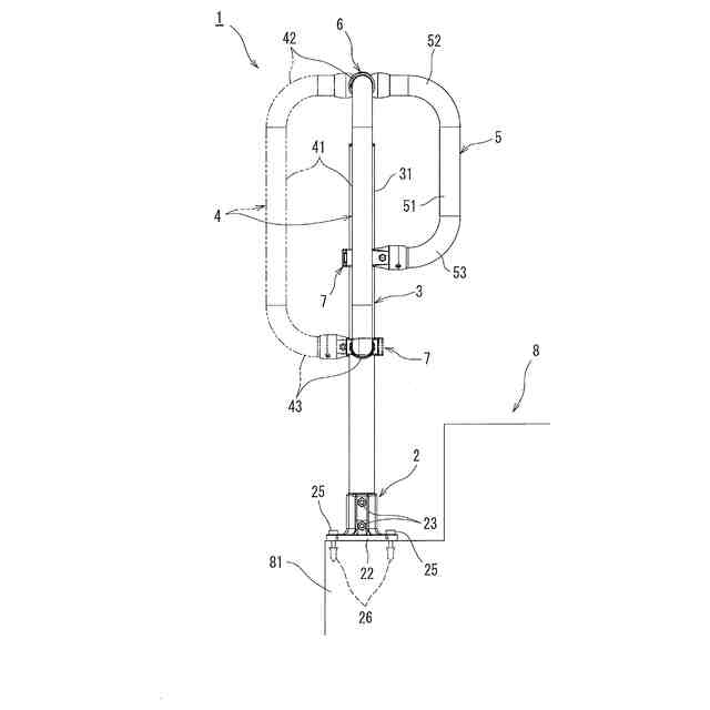
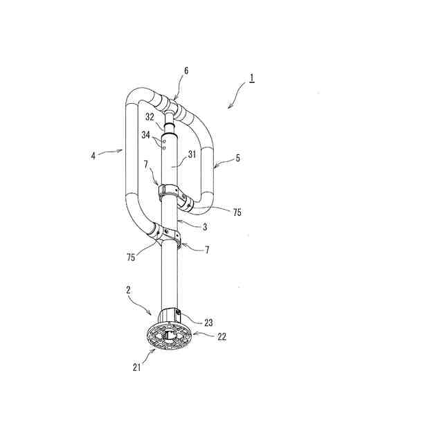
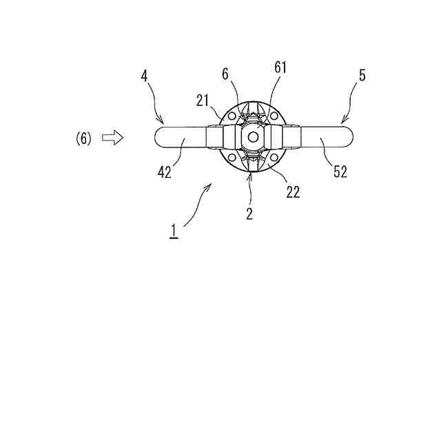
床面上に上下方向に沿う姿勢で設置される支柱と、前記支柱の円周方向の2ヶ所に前記支柱から径方向外向きに延出するように取り付けられる第1手摺および第2手摺と、を備え、
前記第1手摺および第2手摺のうちの少なくとも一方は、前記支柱の中心軸線周りに回転可能とされていることを特徴とする手摺装置。
続きを表示(約 520 文字)
【請求項2】
請求項1に記載の手摺装置において、
前記第1手摺の一端と前記第2手摺の一端とは、前記支柱の上部に取り付けられており、
前記第1手摺の他端と、前記第2手摺の他端とは、前記支柱において上下方向の途中位置に取り付けられていることを特徴とする手摺装置。
【請求項3】
請求項2に記載の手摺装置において、
前記支柱の上部には、前記第1手摺の一端と前記第2手摺の一端とを連結するためのジョイントが設けられていることを特徴とする手摺装置。
【請求項4】
請求項3に記載の手摺装置において、
前記ジョイントは、前記支柱の上部に設けられると共に前記第2手摺の一端が固定される支持部材と、該支持部材に相対回転可能に設けられると共に前記第1手摺の一端が固定される回転部材と、を備えていることを特徴とする手摺装置。
【請求項5】
請求項2から4のいずれか1項に記載の手摺装置において、
前記支柱に対する前記第1手摺の他端の取り付け位置は、前記支柱に対する前記第2手摺の他端の取り付け位置よりも下または上にずらされていることを特徴とする手摺装置。
発明の詳細な説明
【技術分野】
【0001】
本発明は、手摺装置に関する。
続きを表示(約 1,200 文字)
【背景技術】
【0002】
例えば特許文献1には、「ポール1に横T状のブラケット受け金物2をボルト3で固定し、ブラケット受け金物2へ化粧カバー4をボルト5、5で固定し、ブラケット6上に中空球体9と接続管10、10よりなる自在継手Aを固定し、接続管10、10に手摺り27、27が固定される」ということが記載されている。
【0003】
また、上記特許文献1には、「下部の中空半球体9aを上向に回動自在に取り付けると共に、前記中空半球体9a上へ、上部の中空半球体9bを下向に回動自在に嵌装し、前記二つの中空半球体9a、9bで中空球体9を形成する。」ということが記載されている。
【0004】
例えば特許文献2には、「支柱において円周方向で180度対向する2ヶ所に第1、第2手摺りが回転不可能に取り付けられた建物用手すり」が記載されている。
【0005】
さらに、玄関アプローチ等の狭い場所に一本の支柱で設置できる手摺装置としては、特許文献3,4に開示されるものがある。
【先行技術文献】
【特許文献】
【0006】
特許第4974024号(特開2007-192014号)公報
意匠登録第1592727号
特許4974911号(特開2009-167675号)公報
特許6491541号(特開2016-223151号)公報
【発明の概要】
【発明が解決しようとする課題】
【0007】
上記特許文献1では、2つの手摺り27、27のうち、下部の中空半球体9aに接続管10を介して取り付けられる一方の手摺り27が水平姿勢にされていて、上部の中空半球体9bに接続管10を介して取り付けられる他方の手摺り27が斜め上向き姿勢にされているが、この特許文献1からは、少なくとも一方の手摺り27を所定角度回転可能にするという技術思想を窺い知ることはできない。
【0008】
また、上記特許文献2では、第1、第2手すりが回転不可能に固定されているため、この特許文献2からは、少なくとも一方の手摺り27を所定角度回転可能にするという技術思想を窺い知ることはできない。
【0009】
さらに、上記特許文献3では、手摺り支持体が支柱の中心軸線と直交する仮想軸線周りに所定角度傾斜可能に支持されているが、手摺り支持体が支柱の中心軸線周りに回転可能に支持されていない。上記特許文献4では、手摺棒が支柱の中心軸線周りに回転可能に支持されていない。
【0010】
そのため、上記特許文献1-4では、建物と道路または隣接建物との境界線ぎりぎりの場所や、建物の出入口で例えばシャッターがあるような場所に建物用手すりを設置する場合、第1手すりまたは第2手すりが前記境界線から越境したり、前記シャッターに干渉したりするおそれがあるなど、建物用手すりの設置が困難になる。
(【0011】以降は省略されています)
この特許をJ-PlatPat(特許庁公式サイト)で参照する
関連特許
マツ六株式会社
手摺装置
2か月前
個人
接合構造
2か月前
個人
タッチミー
2か月前
個人
屋台
2か月前
個人
野良猫ハウス
3か月前
個人
安心補助てすり
1か月前
個人
転落防止用手摺
3か月前
個人
フェンス
3か月前
個人
筋交自動設定装置
2か月前
積水樹脂株式会社
柵体
3か月前
ニチハ株式会社
建築板
3か月前
個人
居住車両用駐車場
3か月前
個人
ベンリナアングル
2か月前
個人
免震建築構造
4日前
個人
熱抵抗多層断熱建材
3か月前
個人
柵
4か月前
個人
補強部材
3か月前
株式会社シンケン
住宅
1か月前
株式会社フジタ
合成床
4日前
個人
防災建築物
1か月前
成友建設株式会社
建物
3か月前
鹿島建設株式会社
壁体
3か月前
個人
身体用シェルター
2か月前
個人
身体用シェルター
2か月前
個人
住宅の省エネ方法
今日
株式会社大林組
接合構造
1か月前
三協立山株式会社
構造体
27日前
三協立山株式会社
構造体
1か月前
三洋工業株式会社
床構造
1か月前
株式会社熊谷組
吊り治具
2か月前
個人
可搬型供養墓
2か月前
三協立山株式会社
構造体
2か月前
三協立山株式会社
構造体
1か月前
三協立山株式会社
構造体
2か月前
イワブチ株式会社
組立柱
3か月前
株式会社熊谷組
木質材料
2か月前
続きを見る
他の特許を見る