TOP
|
特許
|
意匠
|
商標
特許ウォッチ
Twitter
他の特許を見る
10個以上の画像は省略されています。
公開番号
2025144286
公報種別
公開特許公報(A)
公開日
2025-10-02
出願番号
2024043992
出願日
2024-03-19
発明の名称
システム、装置、及び方法
出願人
ソフトバンク株式会社
代理人
弁理士法人RYUKA国際特許事務所
主分類
G01C
15/00 20060101AFI20250925BHJP(測定;試験)
要約
【課題】水中を移動可能な第1装置を第2装置に対して効率的かつ正確な位置合わせが可能な技術を提供する。
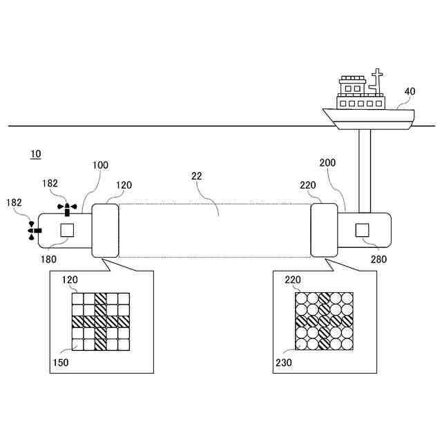
【解決手段】水中を移動可能な第1装置100と、第2装置200とを備え、第2装置は、レーザ光を照射する複数の第2レーザ照射部を含む第2レーザユニット220と、複数の第2レーザ照射部にレーザ光を照射させるよう制御する第2制御部とを有し、第1装置は、レーザ光を受光する複数の第1レーザ受光部を含む第1レーザユニット120と、複数の第1レーザ受光部の少なくともいずれかが受光したレーザ光に基づいて第2レーザユニットを検出し、複数の第1レーザ受光部によるレーザ光の受光状況に基づいて第1レーザユニットの位置を基準とした前記第2レーザユニットの相対方向を推定し、相対方向に基づいて第1レーザユニットと第2レーザユニットとの位置合わせをすべく第1装置の移動機構を制御する第1制御部とを有するシステムを提供する。
【選択図】図1
特許請求の範囲
【請求項1】
水中を移動可能な第1装置と、
第2装置と
を備え、
前記第2装置は、
レーザ光を照射する複数の第2レーザ照射部を含む第2レーザユニットと、
前記複数の第2レーザ照射部にレーザ光を照射させるよう制御する第2制御部と
を有し、
前記第1装置は、
レーザ光を受光する複数の第1レーザ受光部を含む第1レーザユニットと、
前記複数の第1レーザ受光部の少なくともいずれかが受光したレーザ光に基づいて前記第2レーザユニットを検出し、前記複数の第1レーザ受光部によるレーザ光の受光状況に基づいて前記第1レーザユニットの位置を基準とした前記第2レーザユニットの相対方向を推定し、前記相対方向に基づいて前記第1レーザユニットと前記第2レーザユニットとの位置合わせをすべく前記第1装置の移動機構を制御する第1制御部と
を有する、
システム。
続きを表示(約 2,000 文字)
【請求項2】
前記複数の第2レーザ照射部は、マトリクス状に配置されており、
前記第2制御部は、前記第2レーザユニットに予め定められた第1の2次元のパターンでレーザ光を照射させるように、前記複数の第2レーザ照射部を制御し、
前記第1制御部は、前記第1の2次元のパターンと、前記複数の第1レーザ受光部によって受光した受光パターンとに基づいて、前記第1レーザユニットの位置を基準とした前記第2レーザユニットの相対方向を推定する、請求項1に記載のシステム。
【請求項3】
前記予め定められた2次元のパターンは、十字型である、請求項2に記載のシステム。
【請求項4】
第3装置を更に備え、
前記第3装置は、
レーザ光を照射する、マトリクス状に配置された複数の第3レーザ照射部を含む第3レーザユニットと、
前記複数の第3レーザ照射部にレーザ光を照射させるよう制御する第3制御部と
を有し、
前記第3制御部は、前記第3レーザユニットに前記第1の2次元のパターンとは異なる第2の2次元のパターンでレーザ光を照射させるように、前記複数の第3レーザ照射部を制御し、
前記第1制御部は、前記第1の2次元のパターン及び前記第2の2次元のパターンと、前記複数の第1レーザ受光部によって受光した受光パターンとに基づいて、前記複数の第1レーザ受光部が受光しているレーザ光を照射している装置を識別する、請求項2に記載のシステム。
【請求項5】
前記第2制御部は、前記複数の第2レーザ照射部に順番でレーザ光を照射させ、
前記第1制御部は、前記複数の第1レーザ受光部による時系列のレーザ光の受光状況に基づいて、前記第1レーザユニットの位置を基準とした前記第2レーザユニットの相対方向を推定する、請求項1に記載のシステム。
【請求項6】
前記複数の第2レーザ照射部は、円形に配置されており、
前記第2制御部は、前記複数の第2レーザ照射部に前記円形配置の順番でレーザ光を照射させるよう制御する、請求項5に記載のシステム。
【請求項7】
前記第2装置は、前記第2装置と、測定対象との間の距離を測定する第2測距部を更に備え、
前記第2制御部は、前記第2測距部によって測定された前記第2装置と前記第1装置との間の距離に応じて、前記複数の第2レーザ照射部によって照射されるレーザ光の広がり角及び/又は照射方向を調整する、請求項1から6のいずれか一項に記載のシステム。
【請求項8】
前記第2装置は、レーザ光を受光し、レーザ光を受光した方向と同じ方向に、前記レーザ光を反射する第2レーザ光反射部を更に有し、
前記第1レーザユニットは、レーザ光を照射する、複数の第1レーザ照射部を更に含み、
前記第1制御部は、前記複数の第1レーザ照射部にレーザ光を照射させ、前記レーザ光が前記第2レーザ光反射部によって反射された反射光の、前記複数の第1レーザ受光部による受光状況に基づいて、前記第1レーザユニットの位置を基準とした前記第2レーザユニットの相対方向を推定する、請求項1から6のいずれか一項に記載のシステム。
【請求項9】
前記第1レーザユニットは、レーザ光を照射する複数の第1レーザ照射部を更に含み、
前記第2レーザユニットは、レーザ光を受光する複数の第2レーザ受光部を更に含み、
前記第2制御部は、前記複数の第2レーザ受光部の少なくともいずれかが受光したレーザ光に基づいて前記第1レーザユニットを検出し、前記複数の第2レーザ受光部によるレーザ光の受光状況に基づいて前記第2レーザユニットの位置を基準とした前記第1レーザユニットの相対方向を推定し、前記相対方向に基づいて前記第1レーザユニットと前記第2レーザユニットとの位置合わせをすべく前記第2装置の移動機構を制御する、請求項1から6のいずれか一項に記載のシステム。
【請求項10】
水中を移動可能な装置であって、
レーザ光を受光する複数の第1レーザ受光部を含む第1レーザユニットと、
前記複数の第1レーザ受光部の少なくともいずれかが受光したレーザ光に基づいて、レーザ光を照射する複数の第2レーザ照射部を含む第2レーザユニットと、前記複数の第2レーザ照射部にレーザ光を照射させるよう制御する第2制御部とを有する他の装置の前記第2レーザユニットを検出し、前記複数の第1レーザ受光部によるレーザ光の受光状況に基づいて前記第1レーザユニットの位置を基準とした前記第2レーザユニットの相対方向を推定し、前記相対方向に基づいて前記第1レーザユニットと前記第2レーザユニットとの位置合わせをすべく前記装置の移動機構を制御する第1制御部と
を備える、装置。
(【請求項11】以降は省略されています)
発明の詳細な説明
【技術分野】
【0001】
本発明は、システム、装置、及び方法に関する。
続きを表示(約 2,600 文字)
【背景技術】
【0002】
複数の潜水艇が、音波通信によって互いの位置等を共有し、光無線通信装置の光軸を一致させる制御方法が知られていた(例えば、特許文献1参照)。
[先行技術文献]
[特許文献]
[特許文献1]特許第6792686号
【発明の概要】
【課題を解決するための手段】
【0003】
本発明の一実施態様によれば、システムが提供される。前記システムは、水中を移動可能な第1装置を備えてよい。前記システムは、第2装置を備えてよい。前記第2装置は、レーザ光を照射する複数の第2レーザ照射部を含む第2レーザユニットを有してよい。前記第2装置は、前記複数の第2レーザ照射部にレーザ光を照射させるよう制御する第2制御部を有してよい。前記第1装置は、レーザ光を受光する複数の第1レーザ受光部を含む第1レーザユニットを有してよい。前記第1装置は、前記複数の第1レーザ受光部の少なくともいずれかが受光したレーザ光に基づいて前記第2レーザユニットを検出し、前記複数の第1レーザ受光部によるレーザ光の受光状況に基づいて前記第1レーザユニットの位置を基準とした前記第2レーザユニットの相対方向を推定し、前記相対方向に基づいて前記第1レーザユニットと前記第2レーザユニットとの位置合わせをすべく前記第1装置の移動機構を制御する第1制御部を有してよい。
【0004】
前記システムにおいて、前記複数の第2レーザ照射部は、マトリクス状に配置されていてよく、前記第2制御部は、前記第2レーザユニットに予め定められた第1の2次元のパターンでレーザ光を照射させるように、前記複数の第2レーザ照射部を制御してよく、前記第1制御部は、前記第1の2次元のパターンと、前記複数の第1レーザ受光部によって受光した受光パターンとに基づいて、前記第1レーザユニットの位置を基準とした前記第2レーザユニットの相対方向を推定してよい。前記予め定められた2次元のパターンは、十字型であってよい。
【0005】
前記いずれかのシステムは、第3装置を更に備えてよい。前記第3装置は、レーザ光を照射する、マトリクス状に配置された複数の第3レーザ照射部を含む第3レーザユニットを有してよい。前記第3装置は、前記複数の第3レーザ照射部にレーザ光を照射させるよう制御する第3制御部とを有してよい。前記第3制御部は、前記第3レーザユニットに前記第1の2次元のパターンとは異なる第2の2次元のパターンでレーザ光を照射させるように、前記複数の第3レーザ照射部を制御してよい。前記第1制御部は、前記第1の2次元のパターン及び前記第2の2次元のパターンと、前記複数の第1レーザ受光部によって受光した受光パターンとに基づいて、前記複数の第1レーザ受光部が受光しているレーザ光を照射している装置を識別してよい。
【0006】
前記いずれかのシステムにおいて、前記第2制御部は、前記複数の第2レーザ照射部に順番でレーザ光を照射させてよく、前記第1制御部は、前記複数の第1レーザ受光部による時系列のレーザ光の受光状況に基づいて、前記第1レーザユニットの位置を基準とした前記第2レーザユニットの相対方向を推定してよい。前記複数の第2レーザ照射部は、円形に配置されていてよく、前記第2制御部は、前記複数の第2レーザ照射部に前記円形配置の順番でレーザ光を照射させるよう制御してよい。
【0007】
前記いずれかのシステムにおいて、前記第2装置は、前記第2装置と、測定対象との間の距離を測定する第2測距部を更に備えてよい。前記第2制御部は、前記第2測距部によって測定された前記第2装置と前記第1装置との間の距離に応じて、前記複数の第2レーザ照射部によって照射されるレーザ光の広がり角及び/又は照射方向を調整してよい。
【0008】
前記いずれかのシステムにおいて、前記第2装置は、レーザ光を受光し、レーザ光を受光した方向と同じ方向に、前記レーザ光を反射する第2レーザ光反射部を更に有してよく、前記第1レーザユニットは、レーザ光を照射する、複数の第1レーザ照射部を更に含んでよく、前記第1制御部は、前記複数の第1照射部にレーザ光を照射させ、前記レーザ光が前記第2レーザ光反射部によって反射された反射光の、前記複数の第1レーザ受光部による受光状況に基づいて、前記第1レーザユニットの位置を基準とした前記第2レーザユニットの相対方向を推定してよい。
【0009】
前記いずれかのシステムにおいて、前記第1レーザユニットは、レーザ光を照射する複数の第1レーザ照射部を更に含んでよく、前記第2レーザユニットは、レーザ光を受光する複数の第2レーザ受光部を更に含んでよく、前記第2制御部は、前記複数の第2レーザ受光部の少なくともいずれかが受光したレーザ光に基づいて前記第1レーザユニットを検出し、前記複数の第2レーザ受光部によるレーザ光の受光状況に基づいて前記第2レーザユニットの位置を基準とした前記第1レーザユニットの相対方向を推定し、前記相対方向に基づいて前記第1レーザユニットと前記第2レーザユニットとの位置合わせをすべく前記第2装置の移動機構を制御してよい。
【0010】
本発明の一実施態様によれば、水中を移動可能な装置が提供される。前記装置は、レーザ光を受光する複数の第1レーザ受光部を含む第1レーザユニットを備えてよい。前記装置は、前記複数の第1レーザ受光部の少なくともいずれかが受光したレーザ光に基づいて、レーザ光を照射する複数の第2レーザ照射部を含む第2レーザユニットと、前記複数の第2レーザ照射部にレーザ光を照射させるよう制御する第2制御部とを有する他の装置の前記第2レーザユニットを検出し、前記複数の第1レーザ受光部によるレーザ光の受光状況に基づいて前記第1レーザユニットの位置を基準とした前記第2レーザユニットの相対方向を推定し、前記相対方向に基づいて前記第1レーザユニットと前記第2レーザユニットとの位置合わせをすべく前記装置の移動機構を制御する第1制御部を備えてよい。
(【0011】以降は省略されています)
この特許をJ-PlatPat(特許庁公式サイト)で参照する
関連特許
他の特許を見る