TOP
|
特許
|
意匠
|
商標
特許ウォッチ
Twitter
他の特許を見る
10個以上の画像は省略されています。
公開番号
2025144045
公報種別
公開特許公報(A)
公開日
2025-10-02
出願番号
2024043618
出願日
2024-03-19
発明の名称
排ガス処理装置および排ガス処理方法
出願人
株式会社荏原製作所
代理人
個人
,
個人
,
個人
主分類
B01D
53/38 20060101AFI20250925BHJP(物理的または化学的方法または装置一般)
要約
【課題】ガス処理反応器の腐食を防止し、かつ処理ガスとの反応効率を向上させることができる排ガス処理装置が提供される。
【解決手段】排ガス処理装置は、液体をトーチ部に供給し、その後、トーチ部で加熱された液体を前記ガス処理反応器に供給する液体供給ラインを備える。
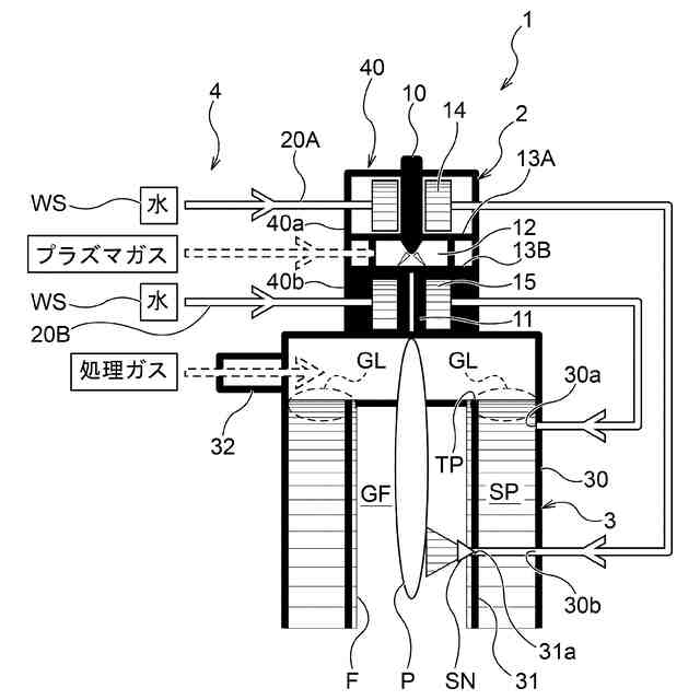
【選択図】図1
特許請求の範囲
【請求項1】
排ガス処理装置であって、
高温のジェットを生成するトーチ部と、
前記ジェットによって熱分解された処理ガスが流れるガス流路を有するガス処理反応器と、
液体を前記トーチ部に供給し、その後、前記トーチ部で加熱された前記液体を前記ガス処理反応器に供給する液体供給ラインと、
前記液体供給ラインに接続された液体供給源と、を備える、排ガス処理装置。
続きを表示(約 1,000 文字)
【請求項2】
前記トーチ部は、
カソードが配置されたカソード室と、
アノードが配置されたアノード室と、を備えており、
前記液体供給ラインは、
前記液体を前記カソード室に供給するカソード側供給ラインと、
前記液体を前記アノード室に供給するアノード側供給ラインと、を有している、請求項1に記載の排ガス処理装置。
【請求項3】
前記液体供給ラインは、前記カソード側供給ラインおよび前記アノード側供給ラインに接続された合流ラインを有している、請求項2に記載の排ガス処理装置。
【請求項4】
前記カソード側供給ラインおよび前記アノード側供給ラインの少なくとも1つは、前記ガス処理反応器に接続されている、請求項2に記載の排ガス処理装置。
【請求項5】
前記トーチ部は、
カソードが配置されたカソード室と、
アノードが配置されたアノード室と、を備えており、
前記液体供給ラインは、前記カソード室および前記アノード室のうちの一方に前記液体を供給し、その後、前記カソード室および前記アノード室のうちの他方に前記液体を供給する、請求項1に記載の排ガス処理装置。
【請求項6】
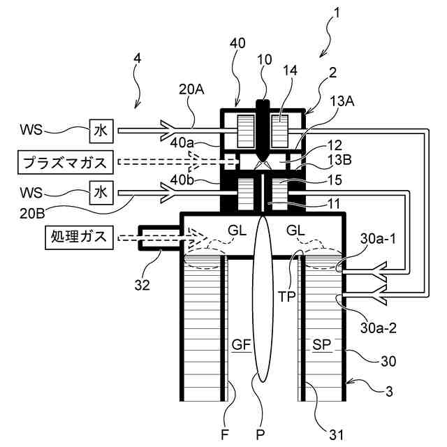
前記液体供給ラインは、前記ガス処理反応器の上部に前記液体を供給するように構成されている、請求項1に記載の排ガス処理装置。
【請求項7】
前記ガス処理反応器は、
前記ガス流路を形成する内筒部と、
前記内筒部を取り囲む外筒部と、を備えており、
前記内筒部は、前記液体供給ラインから供給された液体の越流堰としての上端を有している、請求項1に記載の排ガス処理装置。
【請求項8】
前記排ガス処理装置は、前記液体供給ラインに接続された気液分離槽を備えており、
前記気液分離槽は、前記液体の流れ方向において、前記トーチ部の下流側に配置されている、請求項7に記載の排ガス処理装置。
【請求項9】
前記気液分離槽は、
前記上端よりも高い位置において、前記外筒部に接続された気体導入ラインと、
前記上端よりも低い位置において、前記外筒部に接続された液体導入ラインと、を備えている、請求項8に記載の排ガス処理装置。
【請求項10】
前記内筒部は、前記ガス流路を狭くする流路絞り部を有している、請求項7に記載の排ガス処理装置。
(【請求項11】以降は省略されています)
発明の詳細な説明
【技術分野】
【0001】
本発明は、排ガス処理装置および排ガス処理方法に関する。
続きを表示(約 1,600 文字)
【背景技術】
【0002】
ガスを無害化処理する除害装置(排ガス処理装置の一例)が存在する。ガスの無害化処理としては、処理ガスを液体と接触させて異物および水溶性成分等を除去する湿式、並びに処理ガスを燃焼させることによる燃焼式などが知られている。
【先行技術文献】
【特許文献】
【0003】
特開2008-161861号公報
【発明の概要】
【発明が解決しようとする課題】
【0004】
処理ガスを高温で熱分解する場合、熱分解された処理ガスの再結合を防止するために、熱分解された処理ガスを何らかの物質と反応させる必要がある。水は、その熱分解によって水素原子および酸素原子を生成し、熱分解された処理ガスは、これら原子と反応する。したがって、水は、熱分解された処理ガスと反応する物質として好適である。特に、気化した水(すなわち、水蒸気)は、液体として存在する水と比較して、少ないエネルギーで処理ガスと反応することができる。
【0005】
熱分解された処理ガスと反応させるための水として、水タンクとガス処理反応器との間で循環する水を使用する方法が考えられる。しかしながら、このような循環水を使用すると、循環水に含まれる生成物が徐々に濃縮され、結果として、生成物の酸に起因して、ガス処理反応器が腐食するおそれがある。
【0006】
その一方で、循環水の代わりに新水(すなわち、水供給源から供給された水)を使用する方法が考えられるが、温度の低い新水を使用すると、処理ガスとの反応効率が低くなるおそれがある。
【0007】
そこで、本発明は、ガス処理反応器の腐食を防止し、かつ処理ガスとの反応効率を向上させることができる排ガス処理装置および排ガス処理方法を提供することを目的とする。
【課題を解決するための手段】
【0008】
一態様では、排ガス処理装置が提供される。排ガス処理装置は、高温のジェットを生成するトーチ部と、前記ジェットによって熱分解された処理ガスが流れるガス流路を有するガス処理反応器と、液体を前記トーチ部に供給し、その後、前記トーチ部で加熱された前記液体を前記ガス処理反応器に供給する液体供給ラインと、前記液体供給ラインに接続された液体供給源と、を備える。
【0009】
一態様では、前記トーチ部は、カソードが配置されたカソード室と、アノードが配置されたアノード室と、を備えており、前記液体供給ラインは、前記液体を前記カソード室に供給するカソード側供給ラインと、前記液体を前記アノード室に供給するアノード側供給ラインと、を有している。
一態様では、前記液体供給ラインは、前記カソード側供給ラインおよび前記アノード側供給ラインに接続された合流ラインを有している。
一態様では、前記カソード側供給ラインおよび前記アノード側供給ラインの少なくとも1つは、前記ガス処理反応器に接続されている。
【0010】
一態様では、前記トーチ部は、カソードが配置されたカソード室と、アノードが配置されたアノード室と、を備えており、前記液体供給ラインは、前記カソード室および前記アノード室のうちの一方に前記液体を供給し、その後、前記カソード室および前記アノード室のうちの他方に前記液体を供給する。
一態様では、前記液体供給ラインは、前記ガス処理反応器の上部に前記液体を供給するように構成されている。
一態様では、前記ガス処理反応器は、前記ガス流路を形成する内筒部と、前記内筒部を取り囲む外筒部と、を備えており、前記内筒部は、前記液体供給ラインから供給された液体の越流堰としての上端を有している。
(【0011】以降は省略されています)
この特許をJ-PlatPat(特許庁公式サイト)で参照する
関連特許
株式会社荏原製作所
蒸気発電プラント
2日前
株式会社荏原製作所
基板洗浄装置のキャリブレーション方法および基板洗浄方法
4日前
株式会社荏原製作所
情報処理装置、基板研磨装置、推論装置、機械学習装置、情報処理方法、推論方法、及び、機械学習方法
2日前
ユニチカ株式会社
複合中空糸膜
10日前
東レ株式会社
中空糸膜モジュール
9日前
株式会社ニクニ
液体処理装置
23日前
日本化薬株式会社
メタノール改質触媒
24日前
株式会社大善
濃縮脱水機
1か月前
テルモ株式会社
ろ過デバイス
1か月前
株式会社MRT
微細バブル発生装置
13日前
個人
攪拌装置
13日前
東京理化器械株式会社
クリップ
17日前
日本ソリッド株式会社
水中懸濁物質付着素材
1か月前
株式会社笹山工業所
濁水処理システム
13日前
ヤマシンフィルタ株式会社
フィルタ装置
11日前
大和ハウス工業株式会社
反応装置
3日前
ノリタケ株式会社
ガス吸収シート
24日前
ヤマシンフィルタ株式会社
フィルタ装置
1か月前
本田技研工業株式会社
ガス回収装置
5日前
大陽日酸株式会社
CO2の回収方法
5日前
ダイハツ工業株式会社
二酸化炭素分解装置
1か月前
杉山重工株式会社
回転円筒型反応装置
13日前
東レ株式会社
多孔中実繊維、繊維束および浄化カラム
1か月前
中外炉工業株式会社
ガス発生装置及び窒化装置
1か月前
本田技研工業株式会社
二酸化炭素回収装置
3日前
本田技研工業株式会社
二酸化炭素回収装置
9日前
本田技研工業株式会社
二酸化炭素回収装置
3日前
本田技研工業株式会社
二酸化炭素回収装置
5日前
本田技研工業株式会社
二酸化炭素回収装置
11日前
ノリタケ株式会社
触媒材料およびその利用
3日前
本田技研工業株式会社
二酸化炭素回収装置
11日前
本田技研工業株式会社
二酸化炭素回収装置
11日前
本田技研工業株式会社
二酸化炭素回収装置
3日前
本田技研工業株式会社
分離システム
13日前
ノリタケ株式会社
触媒材料およびその利用
3日前
本田技研工業株式会社
二酸化炭素回収装置
3日前
続きを見る
他の特許を見る