TOP
|
特許
|
意匠
|
商標
特許ウォッチ
Twitter
他の特許を見る
10個以上の画像は省略されています。
公開番号
2025143115
公報種別
公開特許公報(A)
公開日
2025-10-01
出願番号
2024042859
出願日
2024-03-18
発明の名称
連結導波路および導波路連結方法
出願人
メクテック株式会社
代理人
個人
,
個人
,
個人
主分類
H01P
1/04 20060101AFI20250924BHJP(基本的電気素子)
要約
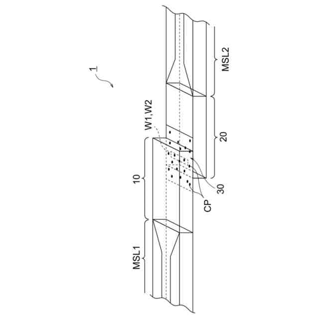
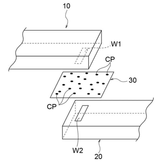
【課題】容易に製造可能であり、かつ伝送特性の悪化を回避することが可能な連結導波路を提供する。
【解決手段】実施形態の連結導波路1は、電波が伝播するように構成され、当該電波を外部に放射するための開口窓W1が設けられた導波路10と、電波を外部から吸収するための開口窓W2が設けられ、第2の開口窓から吸収された電波が伝播するように構成され、開口窓W2が開口窓W1に少なくとも一部重なるように導波路10に連結された導波路20と、開口窓W1および開口窓W2を覆い、導波路10と導波路20とを接着する異方性導電膜30と、を備える。
【選択図】図1
特許請求の範囲
【請求項1】
電波が伝播するように構成され、前記電波を外部に放射するための第1の開口窓が設けられた第1の導波路と、
電波を外部から吸収するための第2の開口窓が設けられ、前記第2の開口窓から吸収された電波が伝播するように構成され、前記第2の開口窓が前記第1の開口窓に少なくとも一部重なるように前記第1の導波路に連結された第2の導波路と、
前記第1の開口窓および前記第2の開口窓を覆い、前記第1の導波路と前記第2の導波路とを接着する異方性導電膜と、
を備える連結導波路。
続きを表示(約 1,400 文字)
【請求項2】
前記第1の導波路と前記第2の導波路の連結部分を厚さ方向に見たとき、前記異方性導電膜の導電性粒子が前記第1の開口窓と前記第2の開口窓の重なり部分に含まれる、請求項1に記載の連結導波路。
【請求項3】
前記第1の導波路は、
第1の主面および第2の主面を有する第1の誘電層と、
前記第1の主面に設けられた第1の導電層と、
前記第2の主面に設けられ、前記第1の開口窓を有する第2の導電層と、
前記第1の誘電層を貫通し、前記第1の導電層と前記第2の導電層を電気的に接続する導電ポストが前記電波の進行方向に沿って複数配列された第1のポスト列と、
前記第1の誘電層を貫通し、前記第1の導電層と前記第2の導電層を電気的に接続する導電ポストが前記第1のポスト列と平行に複数配列された第2のポスト列と、
を備える、請求項1に記載の連結導波路。
【請求項4】
前記第2の導波路は、
第3の主面および第4の主面を有する第2の誘電層と、
前記第3の主面に設けられ、前記第2の開口窓を有する第3の導電層と、
前記第4の主面に設けられた第4の導電層と、
前記第2の誘電層を貫通し、前記第3の導電層と前記第4の導電層を電気的に接続する導電ポストが前記電波の進行方向に沿って複数配列された第3のポスト列と、
前記第2の誘電層を貫通し、前記第3の導電層と前記第4の導電層を電気的に接続する導電ポストが前記第3のポスト列と平行に複数配列された第4のポスト列と、
を備える、請求項3に記載の連結導波路。
【請求項5】
前記第1の開口窓および前記第2の開口窓は、前記電波の進行方向に直交する方向に延びるスリット形状であり、前記第1の開口窓および前記第2の開口窓の開口幅は同じである、請求項4に記載の連結導波路。
【請求項6】
前記第1の開口窓および前記第2の開口窓は、前記電波の進行方向に直交する方向に延びるスリット形状であり、前記第1の開口窓および前記第2の開口窓の開口幅は異なる、請求項4に記載の連結導波路。
【請求項7】
前記第2の導波路は、前記第2の開口窓を有する導波管である、請求項3に記載の連結導波路。
【請求項8】
前記導波管の端部に接続されたホーンアンテナを備える、請求項7に記載の連結導波路。
【請求項9】
前記第1の開口窓および前記第2の開口窓は前記電波の進行方向に直交する方向に延びるスリット形状であり、前記異方性導電膜に含まれる導電性粒子の大きさはスリット形状の前記第1および第2の開口窓の幅よりも小さい、請求項1に記載の連結導波路。
【請求項10】
電波が伝播するように構成され、前記電波を外部に放射するための第1の開口窓が設けられた第1の導波路を用意するステップと、
電波を外部から吸収するための第2の開口窓が設けられ、前記第2の開口窓から吸収された電波が伝播するように構成された第2の導波路を用意するステップと、
異方性導電膜により前記第1の開口窓および前記第2の開口窓を覆い、かつ前記第1の開口窓と前記第2の開口窓が少なくとも一部重なるように、前記第1の導波路と前記第2の導波路を連結するステップと、
を備える導波路連結方法。
(【請求項11】以降は省略されています)
発明の詳細な説明
【技術分野】
【0001】
本発明は、連結導波路および導波路連結方法に関し、より詳しくは、導波路同士が連結された連結導波路、および導波路同士を連結する方法に関する。
続きを表示(約 1,500 文字)
【背景技術】
【0002】
従来、導波路同士を連結するための技術が知られている。たとえば、特許文献1には、長方形枠状の導電性接合部を用いて、導体層の開口窓を介して2つの導波路を連結することが記載されている。
【0003】
上記の方法では、導波路の開口窓と枠状の導電性接合部とを高精度に位置合せする必要がある。位置合せの裕度をもたせるために開口窓の幅を広げることが考えられる。しかし、インピーダンスの不整合が発生し、伝送特性が悪化するおそれがある。
【先行技術文献】
【特許文献】
【0004】
特許第6349437号
【発明の概要】
【発明が解決しようとする課題】
【0005】
本発明が解決しようとする課題は、容易に製造可能であり、かつ伝送特性の悪化を回避することが可能な連結導波路を提供することである。
【課題を解決するための手段】
【0006】
本発明に係る連結導波路は、
電波が伝播するように構成され、前記電波を外部に放射するための第1の開口窓が設けられた第1の導波路と、
電波を外部から吸収するための第2の開口窓が設けられ、前記第2の開口窓から吸収された電波が伝播するように構成され、前記第2の開口窓が前記第1の開口窓に少なくとも一部重なるように前記第1の導波路に連結された第2の導波路と、
前記第1の開口窓および前記第2の開口窓を覆い、前記第1の導波路と前記第2の導波路とを接着する異方性導電膜と、
を備える。
【0007】
また、前記連結導波路において、
前記第1の導波路と前記第2の導波路の連結部分を厚さ方向に見たとき、前記異方性導電膜の導電性粒子が前記第1の開口窓と前記第2の開口窓の重なり部分に含まれるようにしてもよい。
【0008】
また、前記連結導波路において、
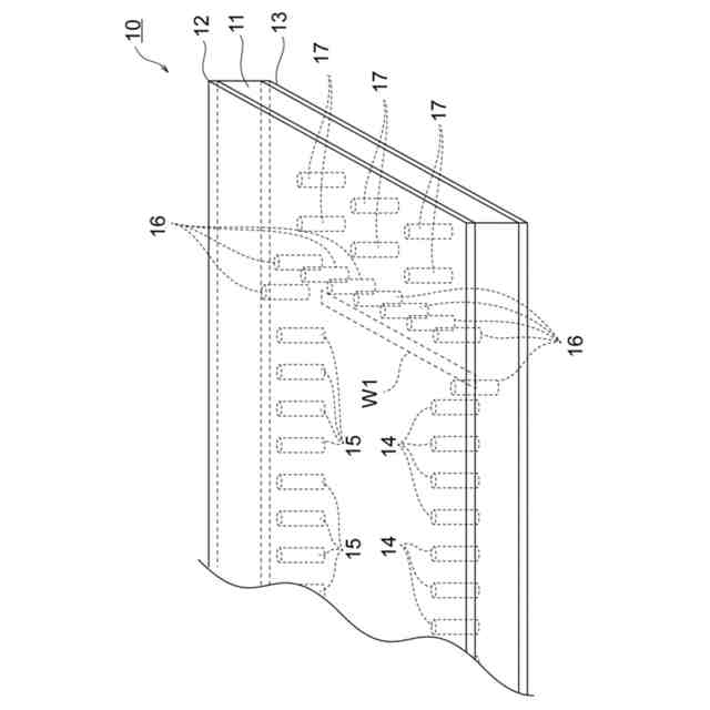
前記第1の導波路は、
第1の主面および第2の主面を有する第1の誘電層と、
前記第1の主面に設けられた第1の導電層と、
前記第2の主面に設けられ、前記第1の開口窓を有する第2の導電層と、
前記第1の誘電層を貫通し、前記第1の導電層と前記第2の導電層を電気的に接続する導電ポストが前記電波の進行方向に沿って複数配列された第1のポスト列と、
前記第1の誘電層を貫通し、前記第1の導電層と前記第2の導電層を電気的に接続する導電ポストが前記第1のポスト列と平行に複数配列された第2のポスト列と、を備えてもよい。
【0009】
また、前記連結導波路において、
前記第2の導波路は、
第3の主面および第4の主面を有する第2の誘電層と、
前記第3の主面に設けられ、前記第2の開口窓を有する第3の導電層と、
前記第4の主面に設けられた第4の導電層と、
前記第2の誘電層を貫通し、前記第3の導電層と前記第4の導電層を電気的に接続する導電ポストが前記電波の進行方向に沿って複数配列された第3のポスト列と、
前記第2の誘電層を貫通し、前記第3の導電層と前記第4の導電層を電気的に接続する導電ポストが前記第3のポスト列と平行に複数配列された第4のポスト列と、を備えてもよい。
【0010】
また、前記連結導波路において、
前記第1の開口窓および前記第2の開口窓は、前記電波の進行方向に直交する方向に延びるスリット形状であり、前記第1の開口窓および前記第2の開口窓の開口幅は同じであるようにしてもよい。
(【0011】以降は省略されています)
この特許をJ-PlatPat(特許庁公式サイト)で参照する
関連特許
他の特許を見る