TOP
|
特許
|
意匠
|
商標
特許ウォッチ
Twitter
他の特許を見る
公開番号
2025142906
公報種別
公開特許公報(A)
公開日
2025-10-01
出願番号
2024042515
出願日
2024-03-18
発明の名称
吸着対象物の落下防止装置
出願人
株式会社コスメック
代理人
主分類
B29C
45/84 20060101AFI20250924BHJP(プラスチックの加工;可塑状態の物質の加工一般)
要約
【課題】 金型落下防止用のリンクチェーンがマグネットプレートに連結されていることを容易に確認できる吸着対象物の落下防止装置を提供する。
【解決手段】 前記吸着対象物(4)にリンクチェーン(19)が取り付けられる。マグネットクランプ(3)の上部に取り付けられる連結機構(C)が、前記リンクチェーン(19)を前記マグネットクランプ(3)に着脱可能に連結する。前記連結機構(C)のブロック(21)の上部に設けられる装着溝(22)に、前記リンクチェーン(19)の取付リンク(20a)が挿入可能となっている。前記装着溝(22)の壁面に開口される孔に固定される検出器(28)が、前記装着溝(22)に前記取付リンク(20a)を装着したことを検出する。
【選択図】 図1
特許請求の範囲
【請求項1】
基盤(1,2)の側壁に設けられるマグネットクランプ(3)によって当該マグネットクランプ(3)の吸着面(5a)に磁気吸着される吸着対象物(4)と、
前記吸着対象物(4)に基端部(19a)が取り付けられるリンクチェーン(19)であって、複数のリンク(20)が連なって構成されるリンクチェーン(19)と、
前記マグネットクランプ(3)又は基盤(1,2)の上部に取り付けられる連結機構(C)であって、前記リンクチェーン(19)の先端部(19b)を前記マグネットクランプ(3)又は基盤(1,2)に着脱可能に連結する連結機構(C)と、
前記連結機構(C)のブロック(21)の上部に設けられると共に、複数の前記リンク(20)のうちの1つのリンクである取付リンク(20a)が挿入可能となっている装着溝(22)と、
前記装着溝(22)を構成する壁面に開口される孔に固定される検出器(28)であって、前記装着溝(22)に前記取付リンク(20a)を装着したことを検出する検出器(28)と、を備えることを特徴とする吸着対象物の落下防止装置。
続きを表示(約 220 文字)
【請求項2】
請求項1の吸着対象物の落下防止装置において、
前記ブロック(21)の壁面であって、前記吸着面(5a)側の表側壁面(26)とは反対側の裏側壁面(27)が上方に向かうにつれて前記吸着面(5a)から遠ざかるように鉛直方向に対して傾斜して形成され、
前記取付リンク(20a)の先端側に連結される抜け止めリンク(20c)が前記裏側壁面(27)に当接可能となっている、ことを特徴とする吸着対象物の落下防止装置。
発明の詳細な説明
【技術分野】
【0001】
この発明は、マグネットクランプに磁気吸着された金型やワーク等の吸着対象物が、当該マグネットクランプから落下するのを防止する技術に関する。
続きを表示(約 2,400 文字)
【背景技術】
【0002】
この種の吸着対象物(金型)の落下防止装置は、従来では、特許文献1(日本国・実用新案登録第3136001号公報)に記載されたものがある。その従来技術は、次のように構成されている。
上記の金型の落下防止装置は、成型機の固定盤と可動盤の上部に設けられる。その成型機の固定盤および可動盤の側壁には、マグネットクランプが取り付けられる。そのマグネットクランプのマグネットプレートに金型が磁力によって着脱可能に固定される。そのマグネットプレートに形成される装着孔内に複数のコイルと永久磁石とが設けられる。
【0003】
上記の金型の上部に取り付けられたアイボルトにフックを介してリンクチェーンの基端部が取り付けられる。そのリンクチェーンの先端部が金型の落下防止装置に着脱可能に取り付けられる。その金型の落下防止装置は、直方体状のブロックを備えている。そのブロックが固定盤の頂部および可動盤の頂部に、それぞれ、ボルト固定される。そのブロックの中央部にリンクチェーンを挿入するための溝が形成されている。その溝の第1溝部には、リンクチェーンのリンクであって、その内周孔が上下方向に向けられた状態の水平リンクが挿入される。その第1溝部の底壁の金型側に第2溝部が形成される。その第2溝部には、水平リンクの金型側に隣接するリンクであって、内周孔が水平方向に向いた鉛直リンクが挿入される。その水平リンクが第1溝部から抜け出ないようにする蓋部材が、ブロックに取り外し可能にボルト固定される。
【先行技術文献】
【特許文献】
【0004】
実用新案登録第3136001号公報
【発明の概要】
【発明が解決しようとする課題】
【0005】
上記の従来技術において、金型落下防止用のリンクチェーンが金型落下防止装置および金型に連結しているか否かを作業者によって目視で最終確認することが要求されることがある。このような作業者の目視確認では、その作業者が、大型の金型の上部を目視するための高所作業、または、足場の悪い環境や狭い空間での作業を余儀なくされている。このため、その目視確認に手間がかかる。また、作業者がリンクチェーンを金型防止装置に連結し忘れた状態でも、周辺機器である射出成型機等を作動させることができる。その場合に、マグネットクランプが金型を固定盤等に磁気吸着させる力が、何らかの原因により低下したときに、金型が固定盤および可動盤から床に落下して破損するおそれがある。
本発明の目的は、金型落下防止用のリンクチェーンが固定盤、可動盤、または、マグネットプレートに連結されていることを容易に確認できるようにすることにある。
【課題を解決するための手段】
【0006】
上記の目的を達成するため、本発明は、例えば、図1から図5に示すように、マグネットクランプシステムを次のように構成した。
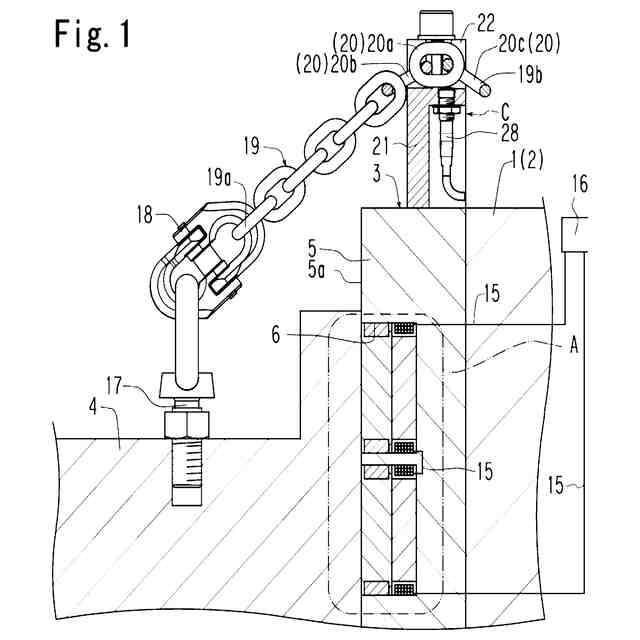
基盤1,2の側壁に設けられるマグネットクランプ3によって吸着対象物4が当該マグネットクランプ3の吸着面5aに磁気吸着される。前記吸着対象物4にリンクチェーン19の基端部19aが取り付けられる。そのリンクチェーン19は、複数のリンク20が連なって構成される。前記マグネットクランプ3又は基盤1,2の上部に連結機構Cが取り付けられる。その連結機構Cが、前記リンクチェーン19の先端部19bを前記マグネットクランプ3又は基盤1,2に着脱可能に連結する。前記連結機構Cのブロック21の上部に装着溝22が設けられる。その装着溝22には、複数の前記リンク20のうちの1つのリンクである取付リンク20aが挿入可能となっている。前記装着溝22を構成する壁面に開口される孔に検出器28が固定される。前記装着溝22に前記取付リンク20aを装着したことを検出器28が検出する。
【0007】
本発明は次の作用効果を奏する。
連結機構のブロックの装着溝にリンクチェーンを挿入するだけで、吸着対象物がマグネットクランプから落下するのを確実に防止できる。また、装着溝にリンクチェーンが装着されたことが検出器によって容易に検出される。
【図面の簡単な説明】
【0008】
図1は、本発明の一実施形態を示し、マグネットクランプシステムの模式図である。
図2は、図1中のA部分を示す部分拡大図であり、上記マグネットクランプシステムのマグネットクランプを示す図である。
図3は、上記マグネットクランプシステムの吸着対象物の落下防止装置を示す部分拡大図であって、吸着対象物の落下防止装置にリンクチェーンが装着された状態を示す図である。
図4は、図3に類似する図であって、上記吸着対象物の落下防止装置からリンクチェーンが離脱された状態を示す図である。
図5は、図4の吸着対象物の落下防止装置を示す斜視図である。
【発明を実施するための形態】
【0009】
図1から図5は、本発明の一実施形態を示している。この実施形態では、マグネットクランプ3と金型(吸着対象物)の落下防止装置とを、固定盤(基盤)1および可動盤(基盤)2を備える横型射出成形機に適用したマグネットクランプシステムを例示してある。まず、図1に基づいて上記マグネットクランプシステムの構造を説明する。
【0010】
上記の固定盤1および(図示しない)可動盤2の側壁にマグネットクランプ3がボルト固定され、そのマグネットクランプ3に金型(吸着対象物)4が磁気吸着力によって吸着される。その固定盤1側のマグネットクランプ3と可動盤2側のマグネットクランプ3とは、ほぼ同様の構成となっており、図1には固定盤1側のマグネットクランプ3のみを示している。
(【0011】以降は省略されています)
この特許をJ-PlatPat(特許庁公式サイト)で参照する
関連特許
個人
気泡緩衝材減容装置
2か月前
東レ株式会社
吹出しノズル
12か月前
豊田鉄工株式会社
金型
3か月前
CKD株式会社
型用台車
11か月前
シーメット株式会社
光造形装置
11か月前
東レ株式会社
フィルムの製造方法
8か月前
グンゼ株式会社
ピン
11か月前
東レ株式会社
フィルムの製造方法
4か月前
株式会社 型善
射出成形型
4日前
東レ株式会社
フィルムの製造方法
4か月前
東レ株式会社
複合成形体の製造方法
1か月前
株式会社カワタ
計量混合装置
6か月前
株式会社エフピコ
賦形シート
18日前
個人
樹脂可塑化方法及び装置
10か月前
東レ株式会社
フィルムの製造方法。
4か月前
株式会社FTS
ロッド
10か月前
日機装株式会社
加圧システム
7か月前
株式会社漆原
シートの成形方法
6か月前
東レ株式会社
樹脂フィルムの製造方法
6か月前
株式会社FTS
成形装置
11か月前
NOK株式会社
樹脂ゴム複合体
2か月前
トヨタ自動車株式会社
射出装置
8か月前
東レ株式会社
炭素繊維シートの製造方法
7か月前
株式会社コスメック
射出成形装置
5か月前
株式会社不二越
射出成形機
2か月前
株式会社不二越
射出成形機
7か月前
株式会社神戸製鋼所
混練機
9か月前
株式会社不二越
射出成形機
7か月前
株式会社不二越
射出成形機
5か月前
株式会社不二越
射出成形機
7か月前
株式会社FTS
セパレータ
9か月前
株式会社リコー
画像形成システム
11か月前
三和合板株式会社
化粧板の製造装置
3か月前
東レ株式会社
繊維強化プラスチック構造体
3か月前
トヨタ自動車株式会社
真空成形装置
6か月前
ダイハツ工業株式会社
3Dプリンタ
1か月前
続きを見る
他の特許を見る