TOP
|
特許
|
意匠
|
商標
特許ウォッチ
Twitter
他の特許を見る
公開番号
2025141464
公報種別
公開特許公報(A)
公開日
2025-09-29
出願番号
2024041407
出願日
2024-03-15
発明の名称
半導体レーザ素子および発光装置
出願人
ウシオ電機株式会社
,
国立大学法人大阪大学
代理人
個人
,
個人
主分類
H01S
5/12 20210101AFI20250919BHJP(基本的電気素子)
要約
【課題】素子ごとの特性ばらつきを低減した半導体レーザ素子を提供する。
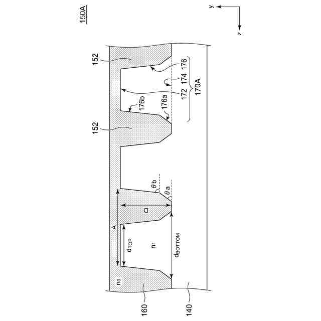
【解決手段】分布帰還型の半導体レーザ素子100は、電流狭窄構造および回折格子150を含む。回折格子150は、複数の溝152と、複数の溝152に挟まれる複数の凸構造170を備える。凸構造170の頂部172の幅をd
TOP
、回折格子の凸構造170の底部174の幅をd
BOTTOM
とするときd
TOP
<d
BOTTOM
の関係を満たしている。凸構造170は、その頂部172から隣接する溝152に連なる傾斜面176を有する。
【選択図】図2
特許請求の範囲
【請求項1】
分布帰還型の半導体レーザ素子であって、
基板、第1導電型半導体層、活性層、第2導電型半導体層を含む積層構造を備え、
前記積層構造には、
積層方向に対して直交する第1方向に延びる電流狭窄構造と、
前記電流狭窄構造に対して、前記第1方向と垂直な第2方向に隣接する回折格子と、
が設けられており、
前記回折格子の凸構造の頂部の幅をd
TOP
、前記凸構造の底部の幅をd
BOTTOM
とするとき、
d
TOP
<d
BOTTOM
の関係を満たし、かつ、前記凸構造はその頂部から隣接する溝に連なる傾斜面を有することを特徴とする半導体レーザ素子。
続きを表示(約 630 文字)
【請求項2】
前記溝の底面の幅は10nmより大きいことを特徴とする請求項1に記載の半導体レーザ素子。
【請求項3】
前記傾斜面と前記溝の底面のなす角度は、88°以下であることを特徴とする請求項1または2に記載の半導体レーザ素子。
【請求項4】
前記溝の深さは、40nm以上、200nm以下であることを特徴とする請求項1または2に記載の半導体レーザ素子。
【請求項5】
前記傾斜面は曲面を含むことを特徴とする請求項1または2に記載の半導体レーザ素子。
【請求項6】
前記傾斜面は平面を含むことを特徴とする請求項1または2に記載の半導体レーザ素子。
【請求項7】
前記傾斜面は傾斜角が異なる複数の平面を含むことを特徴とする請求項6に記載の半導体レーザ素子。
【請求項8】
前記回折格子のピッチをΛとするとき、
(d
TOP
+d
BOTTOM
)/2>0.5×Λ
の関係を満たすことを特徴とする請求項1または2に記載の半導体レーザ素子。
【請求項9】
請求項1または2に記載の分布帰還型の半導体レーザ素子と、
前記分布帰還型の半導体レーザ素子の出射光の第二高調波を発生する非線形光学素子と、
前記出射光をカットするフィルタと、
を備えることを特徴とする発光装置。
発明の詳細な説明
【技術分野】
【0001】
本開示は、半導体レーザ素子に関する。
続きを表示(約 1,700 文字)
【背景技術】
【0002】
窒化ガリウム(GaN)系材料から成る半導体レーザが広く活用されている。また、窒化物系半導体レーザの発振モードを制御する等の目的でメサ構造(リッジ部ともいう)の脇に回折格子を形成した分布帰還型半導体レーザダイオード(DFB-LD)が知られている(特許文献1、特許文献2等)。
【先行技術文献】
【非特許文献】
【0003】
特開2023-039519号公報
特開2018-037495号公報
特開平11-40880号公報
【発明の概要】
【発明が解決しようとする課題】
【0004】
DFB-LDには様々な形態が提案されており、その中に横結合DFB-LDがある。その横結合DFB-LDの1つの形態は、N型クラッド層、活性層、P型クラッド層の積層構造をもち、P型クラッド層には、電流狭窄構造としてリッジ部(メサ構造)が形成される。そして、P型クラッド層には、リッジ部と隣接して回折格子が形成される。さらにリーク電流の抑制等を目的として、同表面にSiO
2
等からなる絶縁層が形成される。
【0005】
本発明者らは、上記構造を有する横結合DFB-LDについて検討した結果、以下の課題を認識するに至った。上記構造の横結合DFB-LDは、回折格子の溝を埋めるようにして、絶縁層が形成される。回折格子の溝の中に絶縁材料を埋め込む際に、メサ部の近傍には、絶縁材料が入り込みにくいため、ボイドが生じやすい。回折格子の溝内のボイドは、屈折率分布の再現性を低下させ、素子ごとの特性ばらつきの原因となっていた。
【0006】
本開示はかかる状況においてなされたものであり、そのある態様の例示的な目的のひとつは、素子ごとの特性ばらつきを低減した半導体レーザ素子の提供にある。
【課題を解決するための手段】
【0007】
本開示のある態様は、分布帰還型の半導体レーザ素子に関する。半導体レーザ素子は、基板、第1導電型半導体層、活性層、第2導電型半導体層を含む積層構造を備える。積層構造には、積層方向に対して直交する第1方向に延びる電流狭窄構造と、電流狭窄構造に対して、第1方向と垂直な第2方向に隣接する回折格子と、が設けられている。回折格子の凸構造の頂部の幅をd
TOP
、凸構造の底部の幅をd
BOTTOM
とするとき、d
TOP
<d
BOTTOM
の関係を満たし、かつ、凸構造はその頂部から隣接する溝に連なる傾斜面を有する。
【0008】
なお、以上の構成要素を任意に組み合わせたもの、構成要素や表現を、方法、装置、システムなどの間で相互に置換したものもまた、本発明あるいは本開示の態様として有効である。さらに、この項目(課題を解決するための手段)の記載は、本発明の欠くべからざるすべての特徴を説明するものではなく、したがって、記載されるこれらの特徴のサブコンビネーションも、本発明たり得る。
【発明の効果】
【0009】
本開示のある態様に係る半導体レーザ素子によれば、素子ごとの特性ばらつきを低減できる。
【図面の簡単な説明】
【0010】
実施形態1に係る分布帰還型の半導体レーザ素子の斜視図である。
図1の半導体レーザ素子の回折格子のB-B’線断面図である。
回折格子の作製方法を説明する図である。
比較技術に係る半導体レーザ素子の回折格子の断面図である。
変形例1に係る半導体レーザ素子の回折格子の断面図である。
変形例2に係る半導体レーザ素子の回折格子の断面図である。
変形例3に係る半導体レーザ素子の斜視図である。
実施形態に係る発光装置を示す図である。
【発明を実施するための形態】
(【0011】以降は省略されています)
この特許をJ-PlatPat(特許庁公式サイト)で参照する
関連特許
株式会社GSユアサ
蓄電装置
1日前
日本特殊陶業株式会社
保持装置
今日
日本航空電子工業株式会社
コネクタ
今日
クレザス株式会社
半導体装置の製造方法
1日前
株式会社レゾナック
ヒートシンク
今日
京セラ株式会社
積層セラミック電子部品
1日前
株式会社村田製作所
インダクタ部品
今日
株式会社村田製作所
インダクタ部品
今日
テラル株式会社
磁場発生装置
今日
株式会社アイシン
ヒートシンク
今日
キオクシア株式会社
半導体装置
1日前
矢崎総業株式会社
通信ケーブル
今日
トヨタ自動車株式会社
車両
1日前
日産自動車株式会社
電池モジュール
1日前
株式会社AESCジャパン
電池モジュール
1日前
株式会社村田製作所
インダクタ部品
今日
株式会社村田製作所
インダクタ部品
今日
株式会社村田製作所
インダクタ部品
今日
トヨタバッテリー株式会社
二次電池
今日
倉敷紡績株式会社
ダイシングシート用基材フィルム
今日
トヨタ自動車株式会社
蓄電装置
今日
マツダ株式会社
バッテリユニット
今日
マツダ株式会社
バッテリユニット
今日
株式会社デンソー
半導体装置
今日
東京エレクトロン株式会社
成膜装置及び成膜方法
今日
東京エレクトロン株式会社
成膜方法及び成膜装置
今日
ローム株式会社
半導体装置および半導体装置の製造方法
今日
京セラ株式会社
電子デバイス及び電子モジュール
今日
国立研究開発法人産業技術総合研究所
電子源
今日
芝浦メカトロニクス株式会社
実装装置
今日
住友電装株式会社
コネクタ及びコネクタアセンブリ
今日
アルプスアルパイン株式会社
多方向入力装置
1日前
矢崎総業株式会社
スイッチ装置
今日
ニデック株式会社
コールドプレート
今日
トヨタ自動車株式会社
電池パック
1日前
矢崎総業株式会社
スイッチ装置
今日
続きを見る
他の特許を見る