TOP
|
特許
|
意匠
|
商標
特許ウォッチ
Twitter
他の特許を見る
10個以上の画像は省略されています。
公開番号
2025141125
公報種別
公開特許公報(A)
公開日
2025-09-29
出願番号
2024040899
出願日
2024-03-15
発明の名称
シート再生システム、シート再生システムの制御方法、及び、サーバー
出願人
セイコーエプソン株式会社
代理人
個人
,
個人
,
個人
主分類
G06Q
10/063 20230101AFI20250919BHJP(計算;計数)
要約
【課題】異なる場所等に複数の装置がある場合に利便性が低かった。
【解決手段】古紙からシートを再生可能なシート再生装置と、前記シート再生装置に対応する属性を記憶するサーバーと、端末装置と、を備えるシート再生システムであって、前記サーバーは、前記シート再生装置から前記シートの再生に係るシート再生情報を受信して表示情報を生成可能であり、前記端末装置は、前記属性を指定して、前記サーバーから前記表示情報を受信し、表示する。
【選択図】図5
特許請求の範囲
【請求項1】
古紙からシートを再生可能なシート再生装置と、前記シート再生装置に対応する属性を記憶するサーバーと、端末装置と、を備えるシート再生システムであって、
前記サーバーは、前記シート再生装置から前記シートの再生に係るシート再生情報を受信して表示情報を生成可能であり、
前記端末装置は、前記属性を指定して、前記サーバーから前記表示情報を受信し、表示する、シート再生システム。
続きを表示(約 1,200 文字)
【請求項2】
前記属性は、前記シート再生装置が設置される、少なくとも、組織、集団、建物、構内、フロアー、部屋のいずれかを示す情報である、請求項1に記載のシート再生システム。
【請求項3】
複数の前記シート再生装置を備え、
前記サーバーは、前記複数の前記シート再生装置にそれぞれ対応する複数の前記属性を記憶しており、前記複数の前記シート再生装置から前記シートの再生に係るそれぞれの前記シート再生情報を受信し、
前記端末装置が、前記複数の前記属性の中から一の前記属性を指定して、前記サーバーへ前記表示情報を要求すると、
前記サーバーは、前記複数の前記シート再生装置のうち、指定された前記一の前記属性に対応する前記シート再生装置から受信した前記シート再生情報に基づき、前記表示情報を生成して前記端末装置へ送信し、前記表示情報は前記属性に応じて異なる、請求項1に記載のシート再生システム。
【請求項4】
前記シート再生情報は、前記シート再生装置が前記シートを再生した量であるシート再生量を含み、
前記サーバーは、前記シート再生装置から前記シート再生量を受信して前記表示情報を生成する、請求項1に記載のシート再生システム。
【請求項5】
前記サーバーは、前記シート再生量を環境効果値へ換算可能であり、前記表示情報として前記環境効果値を生成し、
前記環境効果値は、二酸化炭素削減量、木材削減量、水削減量のうち少なくともいずれかを含む、請求項4に記載のシート再生システム。
【請求項6】
前記古紙を細断して細断片とする細断装置を備え、
前記シート再生装置は、前記細断片から前記シートを再生可能であり、
前記サーバーは、前記細断装置に対応する前記属性を記憶する、請求項1に記載のシート再生システム。
【請求項7】
前記細断装置、及び、前記シート再生装置は、同一の前記属性に属する、請求項6に記載のシート再生システム。
【請求項8】
古紙からシートを再生可能なシート再生装置と、前記シート再生装置に対応する属性を記憶するサーバーと、端末装置と、を備えるシート再生システムの制御方法であって、
前記サーバーは、前記シート再生装置から前記シートの再生に係るシート再生情報を受信して表示情報を生成し、
前記端末装置は、前記属性を指定して、前記サーバーから前記表示情報を受信し、表示する、シート再生システムの制御方法。
【請求項9】
古紙からシートを再生可能なシート再生装置、及び、端末装置と通信可能なサーバーであって、
前記シート再生装置に対応する属性を記憶する記憶部と、
前記シート再生装置から前記シートの再生に係るシート再生情報を受信して表示情報を生成し、前記端末装置へ送信する制御部と、を備える、サーバー。
発明の詳細な説明
【技術分野】
【0001】
本発明は、シート再生システム、シート再生システムの制御方法、及び、サーバーに関する。
続きを表示(約 1,700 文字)
【背景技術】
【0002】
従来、特許文献1に示すように、シート製造装置により原料として投入した古紙からどのくらい再生紙が製造できているかなど、再生に係る情報としての再生率を示すことができるシート製造システムが知られている。
【先行技術文献】
【特許文献】
【0003】
特開2018-164996号公報
【発明の概要】
【発明が解決しようとする課題】
【0004】
しかしながら、上記のシステムでは、異なる場所、又は、異なる組織などに属する複数の装置がある場合について考慮されておらず、利便性が低かった。
【課題を解決するための手段】
【0005】
古紙からシートを再生可能なシート再生装置と、前記シート再生装置に対応する属性を記憶するサーバーと、端末装置と、を備えるシート再生システムであって、前記サーバーは、前記シート再生装置から前記シートの再生に係るシート再生情報を受信して表示情報を生成可能であり、前記端末装置は、前記属性を指定して、前記サーバーから前記表示情報を受信し、表示する。
【0006】
古紙からシートを再生可能なシート再生装置と、前記シート再生装置に対応する属性を記憶するサーバーと、端末装置と、を備えるシート再生システムの制御方法であって、前記サーバーは、前記シート再生装置から前記シートの再生に係るシート再生情報を受信して表示情報を生成し、前記端末装置は、前記属性を指定して、前記サーバーから前記表示情報を受信し、表示する。
【0007】
古紙からシートを再生可能なシート再生装置、及び、端末装置と通信可能なサーバーであって、前記シート再生装置に対応する属性を記憶する記憶部と、前記シート再生装置から前記シートの再生に係るシート再生情報を受信して表示情報を生成し、前記端末装置へ送信する制御部と、を備える。
【図面の簡単な説明】
【0008】
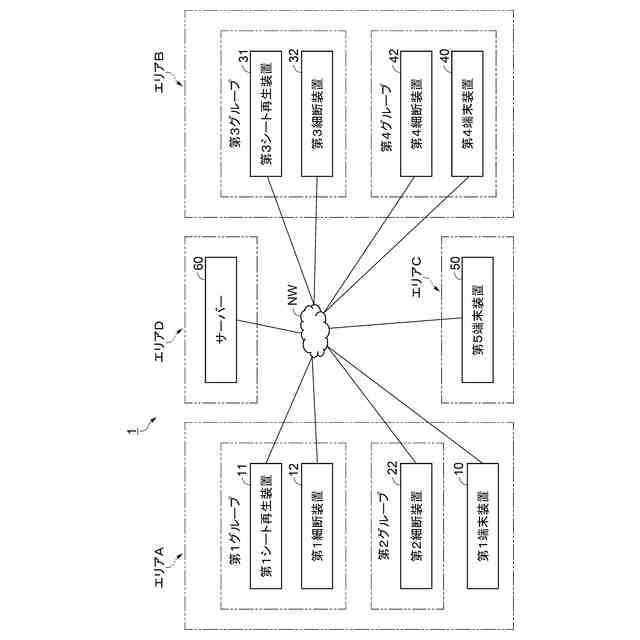
シート再生システムの構成を示すブロック図。
シート再生システムの特定のエリアに属する各装置を中心に示すブロック図。
第1シート再生装置の構成を示す模式図。
第1細断装置の構成を示す模式図。
第1端末装置が表示情報を表示するときの状態遷移図。
属性を選択するプルダウンメニューの模式図。
選択された属性に係る各装置の種類及び台数を表示する画面の模式図。
選択された属性に係る各装置のステータス等を表示する画面の模式図。
選択された属性に係る各装置の詳細なステータス等を表示する画面の模式図。
選択された属性に係る環境効果値等を表示する画面の模式図。
選択された属性に係る月毎のシート再生枚数を表示する画面の模式図。
シート再生システムの各装置の一覧を表示する画面の模式図。
【発明を実施するための形態】
【0009】
1.シート再生システムの構成
図1に示すように、実施形態に係るシート再生システム1は、第1シート再生装置11、第1細断装置12、第2細断装置22、第1端末装置10、第3シート再生装置31、第3細断装置32、第4細断装置42、第4端末装置40、第5端末装置50、サーバー60を含んで構成される。
【0010】
図1に示す各エリアは、上述の各装置が属する上位の属性を示す。例えば、エリアは、上述の装置の設置場所であって、会社や学校などの組織や集団、又は、それらの建物や構内を示す情報である。上述の各装置は、少なくともエリアのいずれかに属する。
また、各グループは、各装置が属するエリアに対する下位の属性を示す。例えば、グループは、上述の装置の具体的な設置場所であって、具体的に、会社の職場や学校のクラスなどの組織や集団、又は、それらのフロアーや部屋などを示す情報である。
(【0011】以降は省略されています)
この特許をJ-PlatPat(特許庁公式サイト)で参照する
関連特許
他の特許を見る