TOP
|
特許
|
意匠
|
商標
特許ウォッチ
Twitter
他の特許を見る
公開番号
2025140906
公報種別
公開特許公報(A)
公開日
2025-09-29
出願番号
2024040554
出願日
2024-03-14
発明の名称
微細藻類の培養装置
出願人
日本製鉄株式会社
代理人
個人
,
個人
,
個人
,
個人
,
個人
,
個人
,
個人
,
個人
主分類
C12M
1/00 20060101AFI20250919BHJP(生化学;ビール;酒精;ぶどう酒;酢;微生物学;酵素学;突然変異または遺伝子工学)
要約
【課題】より高い微細藻類の生産性を実現することができる、微細藻類の培養装置を提供する。
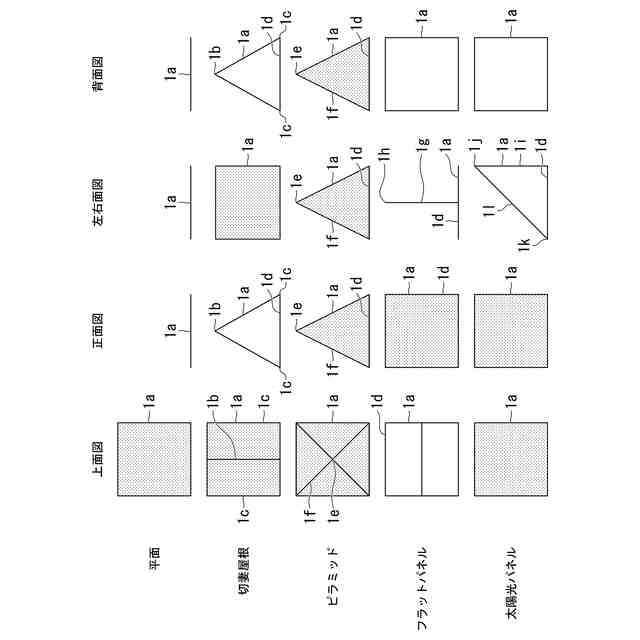
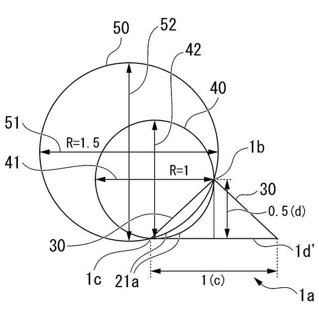
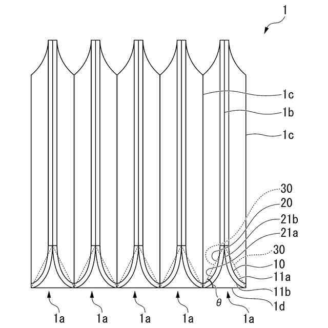
【解決手段】本発明の要旨は以下である。(1)微細藻類を担持体の培養面に担持して培養する培養装置であって、一対の前記担持体が互いに背面を向けあう切妻屋根状の単位構造体を有しており、前記培養面の各々は、前記単位構造体の上辺と下辺を含む平面よりも鉛直下方向に凸形状であることを特徴とする、微細藻類の培養装置。(2)前記培養装置は、前記切妻屋根状の単位構造体が連結した蛇腹構造体であることを特徴とする、(1)に記載の微細藻類の培養装置。(3)前記平面と前記単位構造体の底面とのなす角度が63~76°であることを特徴とする、(1)または(2)に記載の微細藻類の培養装置。
(4)前記培養面の成す曲面の曲率Rが1.0~3.0であることを特徴とする、(1)~(3)のいずれか1項に記載の微細藻類の培養装置。
【選択図】図1
特許請求の範囲
【請求項1】
微細藻類を担持体の培養面に担持して培養する培養装置であって、
一対の前記担持体が互いに背面を向けあう切妻屋根状の単位構造体を有しており、前記培養面の各々は、前記単位構造体の上辺と下辺を含む平面よりも鉛直下方向に凸形状であることを特徴とする、微細藻類の培養装置。
続きを表示(約 220 文字)
【請求項2】
前記培養装置は、前記切妻屋根状の単位構造体が連結した蛇腹構造体であることを特徴とする、請求項1に記載の微細藻類の培養装置。
【請求項3】
前記平面と前記単位構造体の底面とのなす角度が63~76°であることを特徴とする、請求項1または2に記載の微細藻類の培養装置。
【請求項4】
前記培養面の成す曲面の曲率Rが1.0~3.0であることを特徴とする、請求項1または2に記載の微細藻類の培養装置。
発明の詳細な説明
【技術分野】
【0001】
本発明は、微細藻類の培養装置に関する。
続きを表示(約 1,700 文字)
【背景技術】
【0002】
例えば特許文献1に開示されるように、クロレラ、クラミドモナス等の微細藻類を担持体の表面(培養面)に担持して培養する固相表面培養(担持体培養)という技術がある。この技術には、太陽光を利用する場合と、人工照明を利用する場合の二通りが存在する。このうち、太陽光を利用する場合には、太陽光を効率よく利用し、土地面積当たりの微細藻類の生産性を高めたいという要請がある。
【0003】
微細藻類の担持体上での増殖速度(生産性)は、培養面に当たる太陽光の強さが増加すると、ある程度までは直線的に増加するが、ある強さ以上では一定になるという特性がある。そこで、培養面を凹凸構造として、土地面積あたりの培養面積を増加させることで、培養面の単位面積に当たる太陽光の強さをあえて減少させる技術が提案されている。この技術では、土地面積あたりの培養面積を増加させつつ、微細藻類の生産性が一定となる水準まで培養面の単位面積に当たる光を減少させる。このため、太陽光を効率よく微細藻類の生産に変換することができる。
【0004】
しかし、土地面積あたりの微細藻類の生産性を増加させるために、ただ土地面積あたりの培養面積を増やせばいいというものではない。培養面積を増やしすぎると、培養面に当たる光の強さが、上述した微細藻類の生産性が一定となる水準よりも低下し過ぎてしまい、結果的に土地面積あたりの微細藻類の生産性はむしろ低下してしまう。
【0005】
また、培養面のより広い領域で満遍なく微細藻類を培養できることもまた、培養装置に求められる性能である。培養面の各単位面で一度に培養可能な微細藻類の培養量には上限がある。そのため、培養面上の微細藻類の培養に偏りがあると、培養面の一部では微細藻類の培養量がすぐに上限に達してしまう。そのため、微細藻類の培養開始から微細藻類の回収までの期間を短くする必要がある。このとき、培養面の一部に微細藻類が偏っているため、微細藻類の回収量が少なくなる。したがって、微細藻類の生産性が低くなる。
【0006】
一方、培養面のより広い領域で満遍なく微細藻類を培養することができれば、培養面の各単位面における微細藻類の増殖速度を低く抑えることができ、かつ、培養面のより広い領域で微細藻類を培養することができるので、微細藻類の培養開始から微細藻類の回収までの期間を長くすることができる。このとき、培養面のより広い領域で微細藻類を培養できているので、微細藻類の回収量が多くなる。したがって、微細藻類の生産性が高くなる。
【0007】
したがって、固相表面培養の培養装置には、太陽光を利用して「土地面積あたりの微細藻類の生産性を高めること」および「培養面のより広い領域で満遍なく微細藻類を培養できること」の2点が求められる。しかし、太陽光は季節、時間、日照条件によってその強さと角度が複雑に変化することから、そのような変化を考慮したうえで、どのような培養装置構造がこれらの条件を満たすかは、ほとんど検討されてこなかった。
【0008】
これまでに、地面に垂直な培養面を有する担持体を並列したフラットパネル型(特許文献2)、傾斜した培養面を有する担持体を並列した太陽光パネル型などの構造が提案されてきた。しかし、いずれも得られる微細藻類の生産性が低く、また培養面上の微細藻類の培養に偏りがある(光の当たりやすい上部での生産性が高く、下部での生産性が低い)という課題があった。
【先行技術文献】
【特許文献】
【0009】
特開2022-87852号公報
特開2012-175964号公報
【発明の概要】
【発明が解決しようとする課題】
【0010】
そこで、本発明は、上記問題に鑑みてなされたものであり、本発明の目的とするところは、より高い微細藻類の生産性を実現することができる、微細藻類の培養装置を提供することにある。
【課題を解決するための手段】
(【0011】以降は省略されています)
この特許をJ-PlatPat(特許庁公式サイト)で参照する
関連特許
日本製鉄株式会社
鋼材
1か月前
日本製鉄株式会社
剪断機
1日前
日本製鉄株式会社
ボルト
29日前
日本製鉄株式会社
床構造
1日前
日本製鉄株式会社
床構造
1日前
日本製鉄株式会社
ボルト
1日前
日本製鉄株式会社
構造部材
11日前
日本製鉄株式会社
管理装置
22日前
日本製鉄株式会社
リクレーマ
22日前
日本製鉄株式会社
耐火構造物
13日前
日本製鉄株式会社
耐火構造物
13日前
日本製鉄株式会社
耐火構造物
13日前
日本製鉄株式会社
転炉精錬方法
11日前
日本製鉄株式会社
高炉操業方法
1か月前
日本製鉄株式会社
鋼の製造方法
1か月前
日本製鉄株式会社
高Ni合金板
22日前
日本製鉄株式会社
高炉の操業方法
19日前
日本製鉄株式会社
高炉の操業方法
21日前
日本製鉄株式会社
ステンレス鋼板
1か月前
日本製鉄株式会社
高炉の冷却構造
25日前
日本製鉄株式会社
溶鉄の製造方法
28日前
日本製鉄株式会社
スポット溶接継手
19日前
日本製鉄株式会社
焼結鉱の製造方法
19日前
日本製鉄株式会社
焼結鉱の製造方法
1か月前
日本製鉄株式会社
合成梁及び床構造
11日前
日本製鉄株式会社
焼結鉱の製造方法
11日前
日本製鉄株式会社
合成梁及び床構造
11日前
日本製鉄株式会社
コークスの製造方法
29日前
日本製鉄株式会社
微細藻類の培養装置
1日前
日本製鉄株式会社
除去装置及び搬送設備
22日前
日本製鉄株式会社
試験体および試験方法
25日前
日本製鉄株式会社
試験体および試験方法
25日前
日本製鉄株式会社
連続鋳造用浸漬ノズル
19日前
日本製鉄株式会社
H形鋼およびその製造方法
1か月前
日本製鉄株式会社
接合構造体および車体骨格
11日前
日本製鉄株式会社
極低炭素鋼の連続鋳造方法
13日前
続きを見る
他の特許を見る