TOP
|
特許
|
意匠
|
商標
特許ウォッチ
Twitter
他の特許を見る
10個以上の画像は省略されています。
公開番号
2025140451
公報種別
公開特許公報(A)
公開日
2025-09-29
出願番号
2024039861
出願日
2024-03-14
発明の名称
水素の生産計画システムおよび生産計画方法
出願人
川崎重工業株式会社
代理人
個人
,
個人
,
個人
,
個人
主分類
G06Q
50/06 20240101AFI20250919BHJP(計算;計数)
要約
【課題】水素の生産開始前において、水素の生産時に排出されるGHG値を管理できるようにすることを目的とする。
【解決手段】水素の生産計画システムは、水素生産予定量に基づいて必要生産エネルギー量を算出し、必要生産エネルギー量に対する複数の生産エネルギー源別の使用割合と複数の生産エネルギー源別GHG排出量とに基づいて算出される予測GHG値が、目的GHG条件を満たすように、複数の生産エネルギー源別の使用割合を決定する。
【選択図】図4
特許請求の範囲
【請求項1】
複数の生産エネルギー源に基づいて水素を生産する水素の生産計画システムであって、
水素生産予定量と、目的GHG条件と、複数の生産エネルギー源別GHG排出量と、を記憶する記憶部と、
処理部と、
を備え、
前記処理部は、
前記水素生産予定量に基づいて必要生産エネルギー量を算出し、
前記必要生産エネルギー量に対する前記複数の生産エネルギー源別の使用割合と前記複数の生産エネルギー源別GHG排出量とに基づいて算出される予測GHG値が、前記目的GHG条件を満たすように、前記複数の生産エネルギー源別の使用割合を決定する、水素の生産計画システム。
続きを表示(約 1,700 文字)
【請求項2】
請求項1に記載の水素の生産計画システムであって、
前記記憶部は、複数の生産エネルギー源別コストを記憶し、
前記処理部は、決定された前記複数の生産エネルギー源別の使用割合と、前記複数の生産エネルギー源別コストとに基づいて、前記水素生産予定量に応じた水素の生産コストを算出する、水素の生産計画システム。
【請求項3】
請求項1または請求項2に記載の水素の生産計画システムであって、
前記記憶部は、複数の生産エネルギー源のうちの少なくとも1つに関する生産エネルギー調達可能条件を記憶し、
前記処理部は、決定された前記複数の生産エネルギー源別の使用割合と、前記生産エネルギー調達可能条件とに基づいて、水素の生産の適否を判定する、水素の生産計画システム。
【請求項4】
請求項1または請求項2に記載の水素の生産計画システムであって、
前記記憶部は、水素生産設備の水素生産時における生産エネルギー消費条件を記憶し、
前記処理部は、前記必要生産エネルギー量と、前記生産エネルギー消費条件とに基づいて、水素の生産の適否を判定する、水素の生産計画システム。
【請求項5】
請求項2に記載の水素の生産計画システムであって、
前記処理部は、時間帯別に、前記複数の生産エネルギー源別の使用割合を決定する、水素の生産計画システム。
【請求項6】
請求項5に記載の水素の生産計画システムであって、
前記複数の生産エネルギー源は、再生可能エネルギー源を含み、
前記記憶部は、前記再生可能エネルギー源の供給可能時間帯を記憶し、
前記処理部は、前記再生可能エネルギー源の供給可能時間帯において、前記再生可能エネルギーによる水素生産を優先的に割当てる、水素の生産計画システム。
【請求項7】
請求項5に記載の水素の生産計画システムであって、
前記複数の生産エネルギー源は、時間帯に応じてコストが変動するコスト変動生産エネルギー源を含み、
前記記憶部は、前記コスト変動生産エネルギー源について、時間帯に応じた複数の時間帯別生産エネルギー源別コストを記憶し、
前記処理部は、決定された前記複数の生産エネルギー源別の使用割合と、前記複数の時間帯別生産エネルギー源別コストとに基づいて、前記水素生産予定量に応じた水素の前記生産コストを算出する、水素の生産計画システム。
【請求項8】
請求項7に記載の水素の生産計画システムであって、
前記複数の時間帯別生産エネルギー源別コストは、第1時間帯別生産エネルギー源別コストと、前記第1時間帯別生産エネルギー源別コストよりも低コストである第2時間帯別生産エネルギー源別コストとを含み、
前記処理部は、前記コスト変動生産エネルギー源による生産時間帯を割当てる際に、前記第1時間帯別生産エネルギー源別コストに応じた時間帯よりも前記第2時間帯別生産エネルギー源別コストに応じた時間帯を優先的に割当てる、水素の生産計画システム。
【請求項9】
請求項8に記載の水素の生産計画システムであって、
前記記憶部は、水素の生産設備の連続要否情報を記憶し、
前記処理部は、前記連続要否情報に基づいて前記生産設備の連続運転が必要であると判定されたときに、連続する時間帯で水素の生産を行う連続生産条件下で、前記第1時間帯別生産エネルギー源別コストに応じた時間帯よりも前記第2時間帯別生産エネルギー源別コストに応じた時間帯を優先的に割当て、前記生産設備の連続運転が不要であるときに、連続生産条件を外して、前記第1時間帯別生産エネルギー源別コストに応じた時間帯よりも前記第2時間帯別生産エネルギー源別コストに応じた時間帯を優先的に割当てる、水素の生産計画システム。
【請求項10】
請求項1または請求項2に記載の水素の生産計画システムであって、
前記生産エネルギー源は、電力源である、水素の生産計画システム。
(【請求項11】以降は省略されています)
発明の詳細な説明
【技術分野】
【0001】
この開示は、水素の生産計画を行うための技術に関する。
続きを表示(約 1,400 文字)
【背景技術】
【0002】
特許文献1は、二酸化炭素の同位体を同時測定することで、炭素の源、例えば、産業発生源、農業起源、または自然源、を特定する技術を開示している。
【先行技術文献】
【特許文献】
【0003】
特開2014―211451号公報
【発明の概要】
【発明が解決しようとする課題】
【0004】
ところで、水素を生産する際にGHG(Green house Gas)が発生する場合がある。水素の生産開始前に、水素の生産時に排出されるGHGの量であるGHG値を管理できるようにすることが望まれる。
【0005】
特許文献1に開示の技術は、排出済の二酸化炭素を監視するものであり、水素の生産開始前におけるGHG値の管理には役立たない。
【0006】
そこで、本開示は、水素の生産開始前において、水素の生産時に排出されるGHG値を管理できるようにすることを目的とする。
【課題を解決するための手段】
【0007】
水素の生産計画システムは、複数の生産エネルギー源に基づいて水素を生産する水素の生産計画システムであって、水素生産予定量と、目的GHG条件と、複数の生産エネルギー源別GHG排出量と、を記憶する記憶部と、処理部と、を備え、前記処理部は、前記水素生産予定量に基づいて必要生産エネルギー量を算出し、前記必要生産エネルギー量に対する前記複数の生産エネルギー源別の使用割合と前記複数の生産エネルギー源別GHG排出量とに基づいて算出される予測GHG値が、前記目的GHG条件を満たすように、前記複数の生産エネルギー源別の使用割合を決定する、水素の生産計画システムである。
【0008】
また、水素の生産計画方法は、複数の生産エネルギー源に基づいて水素を生産する水素の生産計画方法であって、水素生産予定量に基づいて必要生産エネルギー量を算出し、前記必要生産エネルギー量に対する前記複数の生産エネルギー源別の使用割合と複数の生産エネルギー源別GHG排出量とに基づいて算出される予測GHG値が、目的GHG条件を満たすように、前記複数の生産エネルギー源別の使用割合を決定する、水素の生産計画方法である。
【発明の効果】
【0009】
本開示によると、水素の生産開始前において、水素の生産時に排出されるGHG値を管理できる。
【図面の簡単な説明】
【0010】
図1は水素を生産するためのエネルギーの流れを示す説明図である。
図2は再生可能エネルギー電力導入比率に対する水素のGHG値および水素の生産コストの一例を示す図である。
図3は水素生産計画装置を示すブロック図である。
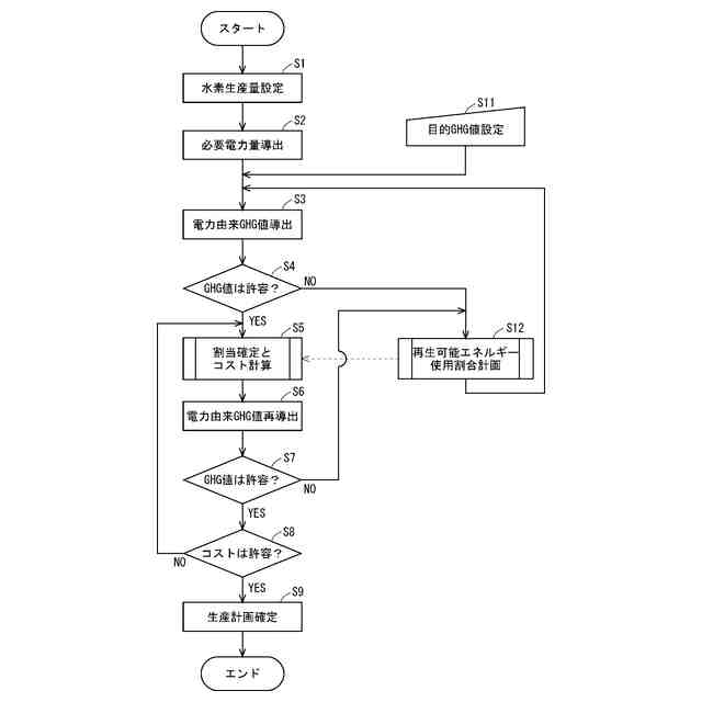
図4は水素生産計画装置の処理例を示すフローチャートである。
図5は水素生産計画装置の処理例を示すフローチャートである。
図6は水素生産計画装置の処理例を示すフローチャートである。
図7は時間帯に対する電力量の割当例を示す説明図である。
図8は時間帯に対する電力量の割当例を示す説明図である。
図9は時間帯に対する電力量の割当例を示す説明図である。
図10は時間帯に対する電力量の割当例を示す説明図である。
【発明を実施するための形態】
(【0011】以降は省略されています)
この特許をJ-PlatPat(特許庁公式サイト)で参照する
関連特許
川崎重工業株式会社
表面材
1か月前
川崎重工業株式会社
ロボット
2日前
川崎重工業株式会社
ロボット
4日前
川崎重工業株式会社
ダクト継手
2日前
川崎重工業株式会社
遠心ターボ機械
4日前
川崎重工業株式会社
ゼオライト触媒
4日前
川崎重工業株式会社
ロボットシステム
26日前
川崎重工業株式会社
基板搬送ロボット
26日前
川崎重工業株式会社
基板搬送ロボット
26日前
川崎重工業株式会社
エンドエフェクタ
16日前
川崎重工業株式会社
基板搬送ロボット
26日前
川崎重工業株式会社
基板搬送ロボット
26日前
川崎重工業株式会社
位置情報システム
26日前
川崎重工業株式会社
ロボットシステム
26日前
川崎重工業株式会社
ロボットシステム
26日前
川崎重工業株式会社
基板搬送ロボット
26日前
川崎重工業株式会社
クローズドインペラ
26日前
川崎重工業株式会社
正極活物質の再生方法
27日前
川崎重工業株式会社
液化ガス導入システム
1か月前
川崎重工業株式会社
締結方法及び締結装置
2日前
川崎重工業株式会社
環状フレームの成形方法
6日前
川崎重工業株式会社
ロボットシステム及びロボット
26日前
川崎重工業株式会社
ガス燃料供給システムおよび船舶
2日前
川崎重工業株式会社
電力供給システムおよびその制御方法
1か月前
川崎重工業株式会社
焼却灰の骨材化システムおよび骨材化方法
16日前
川崎重工業株式会社
焼却灰の骨材化システムおよび骨材化方法
16日前
川崎重工業株式会社
歯車装置の支持構造の診断装置及び診断方法
25日前
川崎重工業株式会社
白金族金属の可溶化方法及び金属の分離方法
1か月前
川崎重工業株式会社
液化ガス用配管ユニットおよびその組立方法
26日前
川崎重工業株式会社
水素の生産計画システムおよび生産計画方法
6日前
川崎重工業株式会社
移動体、給電システム及びワイヤレス式受電方法
17日前
川崎重工業株式会社
ガスタービンエンジンの制御装置および制御方法
1か月前
川崎重工業株式会社
秘密計算システム、秘密計算方法及び秘密計算装置
3日前
川崎重工業株式会社
手術支援システムおよび手術支援システムの制御方法
24日前
川崎重工業株式会社
手術支援システムおよび手術支援システムの制御方法
24日前
川崎重工業株式会社
手術支援システムおよび手術支援システムの制御方法
24日前
続きを見る
他の特許を見る