TOP
|
特許
|
意匠
|
商標
特許ウォッチ
Twitter
他の特許を見る
10個以上の画像は省略されています。
公開番号
2025139900
公報種別
公開特許公報(A)
公開日
2025-09-29
出願番号
2024038984
出願日
2024-03-13
発明の名称
情報処理装置、情報処理方法、プログラム及び情報処理システム
出願人
PayPay株式会社
代理人
弁理士法人谷・阿部特許事務所
主分類
G06Q
20/30 20120101AFI20250919BHJP(計算;計数)
要約
【課題】ユーザビリティの向上を図ることができる。
【解決手段】電子決済サービスを提供する情報処理装置であって、メッセージ配信サービスを提供する外部装置から、電子決済サービスにおいて利用可能な特典の獲得要求を受信する受信部と、メッセージ配信サービスにおいて特典の獲得要求を行ったユーザーであってメッセージ配信サービスの提供を受けるユーザーを識別する第1の識別情報と、電子決済サービスの提供を受けるユーザーを識別する第2の識別情報とが紐づいていることを条件に、獲得要求を行ったユーザーに特典を付与する付与部と、を備える情報処理装置を提供する。
【選択図】図1
特許請求の範囲
【請求項1】
電子決済サービスを提供する情報処理装置であって、
メッセージ配信サービスを提供する外部装置から、前記電子決済サービスにおいて利用可能な特典の獲得要求を受信する受信部と、
前記メッセージ配信サービスにおいて前記特典の獲得要求を行ったユーザーであって前記メッセージ配信サービスの提供を受けるユーザーを識別する第1の識別情報と、前記電子決済サービスの提供を受けるユーザーを識別する第2の識別情報とが紐づいていることを条件に、前記獲得要求を行ったユーザーに前記特典を付与する付与部と
を備えることを特徴とする情報処理装置。
続きを表示(約 1,200 文字)
【請求項2】
前記電子決済サービスは、コード情報を用いた電子決済サービスであることを特徴とする請求項1に記載の情報処理装置。
【請求項3】
前記付与部で前記特典を付与した場合、前記特典を付与したことを示すメッセージを前記外部装置から前記ユーザーの端末装置に送信させるための指示を、前記外部装置に送信する送信部をさらに備えることを特徴とする請求項1に記載の情報処理装置。
【請求項4】
前記特典を付与したことを示すメッセージには、前記特典を確認するための要素が含まれており、
前記要素が前記ユーザーにより操作されたことに応じて、前記受信部が前記ユーザーの端末装置から前記特典の確認画面のリクエストを受信すると、前記送信部は、前記確認画面を、前記端末装置に送信することを特徴とする請求項3に記載の情報処理装置。
【請求項5】
前記付与部は、前記特典として、前記電子決済サービスにおいて商品または役務に対する決済が可能なクーポンを、前記獲得要求を行ったユーザーに付与することを特徴とする請求項1に記載の情報処理装置。
【請求項6】
前記外部装置は、前記電子決済サービスを運営するサービス事業者と契約した店舗で利用可能な前記特典が獲得可能なことを示すメッセージを、前記メッセージ配信サービス上における前記店舗の公式アカウントから配信することを特徴とする請求項1に記載の情報処理装置。
【請求項7】
前記外部装置は、前記電子決済サービスを運営するサービス事業者と契約した店舗で利用可能な前記特典が獲得可能なことを示すメッセージを、前記メッセージ配信サービス上における前記サービス事業者の公式アカウントから配信することを特徴とする請求項1に記載の情報処理装置。
【請求項8】
前記特典が獲得可能なことを示すメッセージには、前記特典を獲得するための要素が含まれており、
前記要素がユーザーにより操作されたことに応じて、前記外部装置から前記獲得要求が行われることを特徴とする請求項6または7に記載の情報処理装置。
【請求項9】
前記特典が獲得可能なことを示すメッセージには、前記店舗を前記メッセージ配信サービスにおいて友だち登録し、かつ、前記特典を獲得するための要素が含まれており、
前記要素がユーザーにより操作されたことに応じて、前記外部装置から前記獲得要求が行われ、かつ、前記外部装置により前記店舗を友だち登録する処理が行われることを特徴とする請求項7に記載の情報処理装置。
【請求項10】
前記特典が獲得可能なことを示すメッセージは、前記公式アカウントから任意のタイミングで配信されることを特徴とする請求項6または7に記載の情報処理装置。
(【請求項11】以降は省略されています)
発明の詳細な説明
【技術分野】
【0001】
本開示は、情報処理装置、情報処理方法、プログラム及び情報処理システムに関するものである。
続きを表示(約 1,700 文字)
【背景技術】
【0002】
商品または役務に対して決済する際に、貨幣を用いずに決済を行うキャッシュレス決済が普及しつつある。特に、スマートフォンなどの端末装置に搭載可能な決済用のアプリケーション(以降、電子決済アプリと称する)を用いた電子決済が、その利便性の高さから注目を集めている。
【0003】
特許文献1には、電子クーポンが提供された後、電子決済サービスにおいて、クーポンの提供元である加盟店を自動フォローする方法が開示されている。特許文献2には、端末装置を用いて電子決済する際に、決済処理を行う店舗で利用可能なクーポンを自動的に適用する方法が開示されている。
【先行技術文献】
【特許文献】
【0004】
特開2022-058000号公報
特開2020-004122号公報
【発明の概要】
【発明が解決しようとする課題】
【0005】
しかしながら、上記の従来技術には、電子決済サービスにおけるユーザビリティの向上を図る上で改善の余地がある。
【0006】
本開示は、ユーザビリティの向上を図ることを目的とする。
【課題を解決するための手段】
【0007】
本開示の一態様に係る情報処理装置は、電子決済サービスを提供する情報処理装置であって、メッセージ配信サービスを提供する外部装置から、前記電子決済サービスにおいて利用可能な特典の獲得要求を受信する受信部と、前記メッセージ配信サービスにおいて前記特典の獲得要求を行ったユーザーであって前記メッセージ配信サービスの提供を受けるユーザーを識別する第1の識別情報と、前記電子決済サービスの提供を受けるユーザーを識別する第2の識別情報とが紐づいていることを条件に、前記獲得要求を行ったユーザーに前記特典を付与する付与部と、を備えることを特徴とする。
【発明の効果】
【0008】
本開示によれば、ユーザビリティの向上を図ることができる。
【図面の簡単な説明】
【0009】
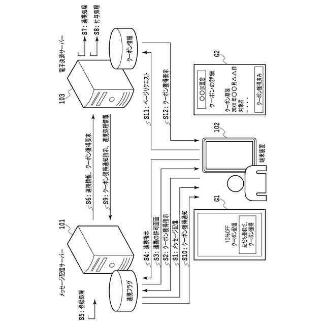
情報処理の一例を示す図である。
システムの構成の一例を示す図である。
情報処理装置のハードウェア構成の一例を示すブロック図である。
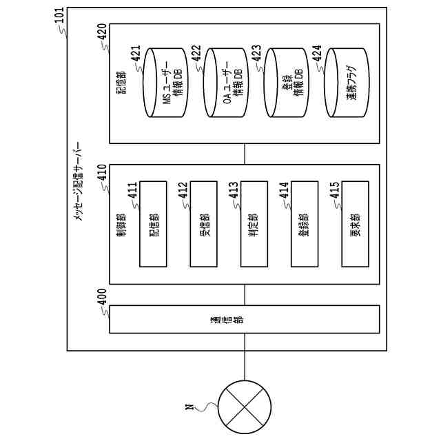
メッセージ配信サーバーのソフトウェア構成の一例を示す図である。
MSユーザー情報データベースに記憶されたMSユーザー情報の一例を示す図である。
OAユーザー情報データベースに記憶されたOAユーザー情報の一例を示す図である。
店舗IDの紐づけの一例を示す図である。
登録情報データベースに記憶された友だち登録情報の一例を示す図である。
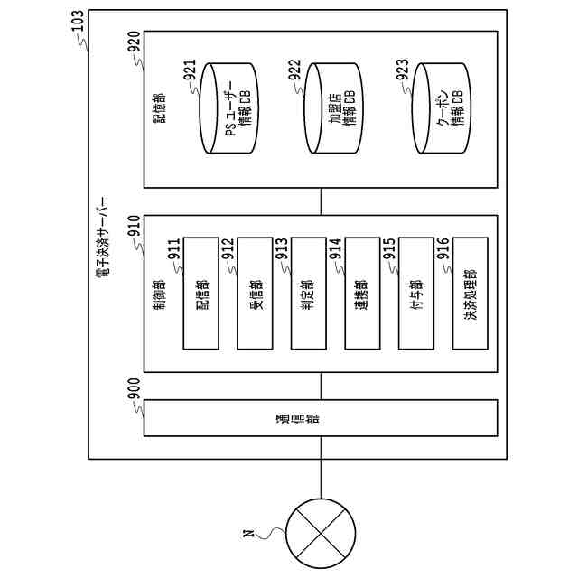
電子決済サーバーのソフトウェア構成の一例を示す図である。
PSユーザー情報データベースに記憶されたPSユーザー情報の一例を示す図である。
加盟店情報データベースに記憶された加盟店情報の一例を示す図である。
クーポン情報データベースに記憶されたクーポン情報の一例を示す図である。
電子決済サーバーが管理する連携済み情報の一例を示す図である。
PSユーザーのクーポンの獲得状況を示す図である。
情報処理の流れの一例を示すシーケンス図である。
端末装置に表示される画面の一例を示す図である。
電子決済サーバーが実行する処理の一例を示すフローチャートである。
クーポン配信元の店舗のOAユーザーを友だち登録している場合の情報処理の一例を示す図である。
【発明を実施するための形態】
【0010】
以下に、本開示に係る情報処理装置、情報処理方法、プログラム及び情報処理システムの好適な実施形態について図面を参照しつつ詳細に説明する。なお、この実施形態により本開示に係る情報処理装置、情報処理方法、プログラム及び情報処理システムが限定されるものではない。また、以下の実施形態において同一の構成には同一の符号を付し、重複する説明は省略する。
(【0011】以降は省略されています)
この特許をJ-PlatPat(特許庁公式サイト)で参照する
関連特許
個人
詐欺保険
1か月前
個人
縁伊達ポイン
1か月前
個人
職業自動販売機
25日前
個人
5掛けポイント
1か月前
個人
RFタグシート
1か月前
個人
ペルソナ認証方式
1か月前
個人
QRコードの彩色
2か月前
個人
情報処理装置
1か月前
個人
自動調理装置
1か月前
個人
立体グラフの利用方法
4日前
個人
農作物用途分配システム
1か月前
個人
残土処理システム
2か月前
個人
インターネットの利用構造
1か月前
個人
サービス情報提供システム
27日前
個人
知的財産出願支援システム
2か月前
NISSHA株式会社
入力装置
5日前
個人
タッチパネル操作指代替具
1か月前
個人
スケジュール調整プログラム
1か月前
個人
学習用データ生成装置
6日前
個人
携帯端末障害問合せシステム
1か月前
個人
エリアガイドナビAIシステム
1か月前
株式会社キーエンス
受発注システム
2か月前
キヤノン株式会社
情報処理装置
19日前
株式会社ワコム
電子ペン
1か月前
個人
音声・通知・再配達UX制御構造
2か月前
個人
帳票自動生成型SaaSシステム
2か月前
キラル株式会社
顧客体験提供システム
7日前
キヤノン株式会社
情報処理装置
1か月前
キヤノン株式会社
画像認識装置
19日前
株式会社ケアコム
項目選択装置
1か月前
株式会社ケアコム
項目選択装置
1か月前
トヨタ自動車株式会社
通知装置
1か月前
株式会社ワコム
電子ペン
1か月前
キヤノン株式会社
印刷システム
1か月前
キヤノン株式会社
情報処理装置
19日前
エッグス株式会社
情報処理装置
1か月前
続きを見る
他の特許を見る