TOP
|
特許
|
意匠
|
商標
特許ウォッチ
Twitter
他の特許を見る
公開番号
2025139417
公報種別
公開特許公報(A)
公開日
2025-09-26
出願番号
2024038333
出願日
2024-03-12
発明の名称
遊技機
出願人
サミー株式会社
代理人
弁理士法人サンネクスト国際特許事務所
主分類
A63F
7/02 20060101AFI20250918BHJP(スポーツ;ゲーム;娯楽)
要約
【課題】更なる技術的な改善がなされた遊技機を提供する。
【解決手段】
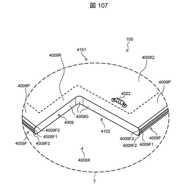
遊技に係る制御を行う基板として、複数の電子部品が実装されるプリント基板を備え、前記プリント基板の側面は、基板製造時に切り出される一側面の一部に相当する第1の側面部と、前記一側面の別の一部を切り欠いて形成された第2の側面部と、を含んで構成され、前記プリント基板において前記第1の側面部から所定範囲内には、電子部品及び配線パターンの何れも配置されない禁止領域が設けられ、前記第1の側面部は、前記第2の側面部とは異なる断面形状を有し、かつ、前記第2の側面部とは面粗度が異なる。
【選択図】図107
特許請求の範囲
【請求項1】
遊技に係る制御を行う基板として、複数の電子部品が実装されるプリント基板を備え、
前記プリント基板の側面は、基板製造時に切り出される一側面の一部に相当する第1の側面部と、前記一側面の別の一部を切り欠いて形成された第2の側面部と、を含んで構成され、
前記プリント基板において前記第1の側面部から所定範囲内には、電子部品及び配線パターンの何れも配置されない禁止領域が設けられ、
前記第1の側面部は、前記第2の側面部とは異なる断面形状を有し、かつ、前記第2の側面部とは面粗度が異なる
ことを特徴とする遊技機。
発明の詳細な説明
【技術分野】
【0001】
本発明は、弾球式遊技機(「パチンコ遊技機」、「パチンコ機」とも称される)、あるいは回胴式遊技機(「パチスロ機」、「スロットマシン」とも称される。)等の遊技機に関するものである。
続きを表示(約 4,500 文字)
【背景技術】
【0002】
一般的な遊技機においては、所定の事象を契機とした内部抽選の結果に応じて遊技が制御される。遊技機は、遊技を制御する主制御基板及び演出を制御する演出制御基板の他にも様々な制御基板を搭載している。例えば制御基板は、その基板面に多数の電子部品が実装されているとともに多数の配線パターンが形成されており、日々技術的な改善がなされている(例えば特許文献1)。
【先行技術文献】
【特許文献】
【0003】
特開2000-189634号公報
【発明の概要】
【発明が解決しようとする課題】
【0004】
しかし、遊技機においては、更なる技術的な改善の余地が存在する。
【0005】
そこで、本発明は、上述した課題に鑑みて、更なる技術的な改善がなされた遊技機を提供することを目的とする。
【課題を解決するための手段】
【0006】
かかる課題を解決するため本発明においては、遊技に係る制御を行う基板として、複数の電子部品が実装されるプリント基板を備え、前記プリント基板の側面は、基板製造時に切り出される一側面の一部に相当する第1の側面部と、前記一側面の別の一部を切り欠いて形成された第2の側面部と、を含んで構成され、前記プリント基板において前記第1の側面部から所定範囲内には、電子部品及び配線パターンの何れも配置されない禁止領域が設けられ、前記第1の側面部は、前記第2の側面部とは異なる断面形状を有し、かつ、前記第2の側面部とは面粗度が異なる、ことを特徴とする遊技機が提供される。
【発明の効果】
【0007】
本発明によれば、更なる技術的な改善がなされた遊技機を提供することができる。
【図面の簡単な説明】
【0008】
本発明の第1の実施形態に係るパチンコ機の正面図である。
パチンコ機の右側面図である。
パチンコ機を前方から見た斜視図である。
パチンコ機を後方から見た斜視図である。
前枠からガラス枠を開放させるとともに、外枠から前枠を開放させた状態のパチンコ機を前方から見た斜視図である。
ガラス枠、遊技盤、前枠、及び外枠に分解したパチンコ機を前方から見た分解斜視図である。
ガラス枠、遊技盤、前枠、及び外枠に分解したパチンコ機を後方から見た分解斜視図である。
遊技盤の正面図である。
遊技盤を右前から見た斜視図である。
遊技盤の背面図である。
遊技盤の背面を左後ろから見た斜視図である。
遊技盤の背面を右後ろから見た斜視図である。
遊技盤を主な構成毎に分解して前から見た分解斜視図である。
遊技盤を主な構成毎に分解して後ろから見た分解斜視図である。
パチンコ機の背面図(その1)である。
パチンコ機の背面図(その2)である。
パチンコ機の背面図(その3)である。
図17の状態におけるパチンコ機の斜視図である。
遊技機の電気的な構成例を示す制御ブロック図である。
図19に示す主制御基板の機能の一例を示すブロック図である。
図19に示す演出制御基板の機能の一例を示すブロック図である。
特別図柄当否抽選テーブルの一例を示す図である。
特別図柄当り図柄テーブルの一例を示す図である。
当り用の特別図柄変動パターンテーブルの一例を示す図である。
はずれ用の特別図柄変動パターンテーブルの一例を示す図である。
変動パターン先読み判定テーブルの一例を示す図である。
主制御側メイン処理の一例を示すフローチャートである。
図27に続く主制御側メイン処理の一例を示すフローチャートである。
図28に続く主制御側メイン処理の一例を示すフローチャートである。
設定変更処理の一例を示すフローチャートである。
設定確認処理の一例を示すフローチャートである。
主制御側タイマ割込み処理の一例を示すフローチャートである。
図32に連続する主制御側タイマ割込み処理の一例を示すフローチャートである。
始動口監視制御処理の一例を示すフローチャートである。
図34に続く始動口監視制御処理の一例を示すフローチャートである。
特別図柄変動開始監視制御処理の一例を示すフローチャートである。
図36に示す特別図柄変動開始監視処理の一例を示すフローチャートである。
図37に続く特別図柄変動開始監視処理の一例を示すフローチャートである。
特別図柄制御処理の一例を示すフローチャートである。
図39に示す特別図柄制御汎用処理の一例を示すフローチャートである。
図40に示す特別図柄変動開始処理の一例を示すフローチャートである。
図40に示す特別図柄変動中処理の一例を示すフローチャートである。
図40に示す特別図柄停止図柄表示中処理の一例を示すフローチャートである。
図43に続く特別図柄停止図柄表示中処理の一例を示すフローチャートである。
図44に続く特別図柄停止図柄表示中処理の一例を示すフローチャートである。
特別電動役物制御処理の一例を示すフローチャートである。
図46に続く特別電動役物制御処理の一例を示すフローチャートである。
図47に続く特別電動役物制御処理の一例を示すフローチャートである。
リセット開始処理の一例を示すフローチャートである。
演出制御側メイン処理の一例を示すフローチャートである。
図50に示すコマンド解析処理の一例を示すフローチャートである。
図51に示す演出状態移行処理の一例を示すフローチャートである。
図51に示す変動演出内容決定処理の一例を示すフローチャートである。
図51に示す大当り演出内容決定処理の一例を示すフローチャートである。
図54に続く大当り演出内容決定処理の一例を示すフローチャートである。
演出制御側タイマ割込み処理の一例を示すフローチャートである。
画像制御コマンド送信割込み処理の一例を示すフローチャートである。
演出表示装置における装飾図柄等の表示を説明するための図である。
遊技待機中デモ演出の開始前の画面遷移例を示す図である。
MYカウンタの計数方法を説明するための図である。
事前報知演出の表示例(その1)を示す図である。
事前報知演出の表示例(その2)を示す図である。
抑制報知演出の表示例を示す図である。
本発明の第2の実施形態に係るパチンコ機における電気的な構成例を示す図である。
図64に示した副制御基板の機能の一例を示すブロック図である。
描画処理の処理手順例を示すフローチャートである。
ウォッチドッグタイマのクリア処理の処理手順例を示すフローチャートである。
コマンド解析の処理手順例を示すフローチャートである。
遊技機2000の外観斜視図である。
遊技機2000の正面外観図である。
遊技機2000の一部分の上面図である。
遊技機2000における制御の概略を示すブロック図である。
図柄表示装置2038の斜視図である。
バックランプ2310の一例を示す斜視図である。
左リール2039aの斜視図である。
左リール2039aの分解斜視図である。
各リールの図柄の配列を説明するための図である。
リール停止時の図柄の表示について説明するための図である。
リールテープ2320の端部付近を説明するための図である。
所定のリール図柄のデザイン例を説明するための図である。
アタッカユニットの一例を示す図である。
デザイン部と遊技球との重なりを説明するための図である。
デザインが印刷された遊技盤の基材の構造の一例を示す断面図である。
縮み加工が施されたパネル部材を遊技者が視認した際のイメージを説明するための図である。
障害釘の植設構造を説明するためのイメージ図である。
障害釘と電子部品との位置関係の一例を示す図である。
図86に示した障害釘3301AとLED3341Aとの位置関係を模式的に示す側面図である。
障害釘と電子部品との位置関係の別例を示す図である。
装飾役物の構造例を示す断面図である。
プリント基板の基板面のうち表面の構成例を示す平面図である。
プリント基板の基板面のうち表面の構成例を示す平面図である。
プリント基板の基板面のうち裏面の構成例を示す平面図である。
図90に示す基板面の領域Sに複数のテストポイントが形成されている構成例を示す平面図である。
リードにクリンチ処理が施される様子の一例を示す断面図である。
リードにクリンチ処理が施された一例を示す断面図、及び、リードにクリンチ処理が施されていない一例を示す断面図である。
図92に示す基板面の領域Uを拡大した構成例を示す平面図である。
電子部品のリードの端部の形状を指で確認する様子の一例を示す部分断面図である。
基板面に実装された電子部品及びその配置目印等の一例を示す平面図である。
図90に示す基板面の領域Oに部品を組付けした様子の一例を示す斜視図である。
基板面に部品を組付けしていない様子の一例を示す斜視図である。
【発明を実施するための形態】
【0009】
以下に、本発明の実施形態に係る遊技機について、図面を参照しながら説明する。
【0010】
<1.第1の実施形態>
<パチンコ機の構造>
図1は、本発明の第1の実施形態に係るパチンコ機の正面図である。また、図2以降には、図1に示したパチンコ機1について、他方向から見た様子や分解した様子等が示されている。図2は、パチンコ機の右側面図であり、図3は、パチンコ機を前方から見た斜視図であり、図4は、パチンコ機を後方から見た斜視図である。また、図5は、前枠からガラス枠を開放させるとともに、外枠から前枠を開放させた状態のパチンコ機を前方から見た斜視図であり、図6は、ガラス枠、遊技盤、前枠、及び外枠に分解したパチンコ機を前方から見た分解斜視図であり、図7は、ガラス枠、遊技盤、前枠、及び外枠に分解したパチンコ機を後方から見た分解斜視図である。
(【0011】以降は省略されています)
この特許をJ-PlatPat(特許庁公式サイト)で参照する
関連特許
サミー株式会社
遊技機
今日
サミー株式会社
遊技機
1か月前
サミー株式会社
遊技機
1か月前
サミー株式会社
遊技機
1か月前
サミー株式会社
遊技機
1か月前
サミー株式会社
遊技機
1か月前
サミー株式会社
遊技機
1か月前
サミー株式会社
遊技機
1か月前
サミー株式会社
遊技機
1か月前
サミー株式会社
遊技機
1か月前
サミー株式会社
遊技機
1か月前
サミー株式会社
遊技機
1か月前
サミー株式会社
遊技機
1か月前
サミー株式会社
遊技機
1か月前
サミー株式会社
遊技機
1か月前
サミー株式会社
遊技機
1か月前
サミー株式会社
遊技機
1か月前
サミー株式会社
遊技機
1か月前
サミー株式会社
遊技機
1か月前
サミー株式会社
遊技機
1か月前
サミー株式会社
遊技機
1か月前
サミー株式会社
遊技機
1か月前
サミー株式会社
遊技機
1か月前
サミー株式会社
遊技機
1か月前
サミー株式会社
遊技機
1か月前
サミー株式会社
遊技機
1か月前
サミー株式会社
遊技機
1か月前
サミー株式会社
遊技機
1か月前
サミー株式会社
遊技機
1か月前
サミー株式会社
遊技機
1か月前
サミー株式会社
遊技機
1か月前
サミー株式会社
遊技機
1か月前
サミー株式会社
遊技機
1か月前
サミー株式会社
遊技機
1か月前
サミー株式会社
遊技機
1か月前
サミー株式会社
遊技機
1か月前
続きを見る
他の特許を見る