TOP
|
特許
|
意匠
|
商標
特許ウォッチ
Twitter
他の特許を見る
公開番号
2025139393
公報種別
公開特許公報(A)
公開日
2025-09-26
出願番号
2024038309
出願日
2024-03-12
発明の名称
難燃性熱橋ボルトキャップ
出願人
個人
代理人
個人
主分類
F16B
37/14 20060101AFI20250918BHJP(機械要素または単位;機械または装置の効果的機能を生じ維持するための一般的手段)
要約
【課題】耐火性や耐熱性を高めて防火機能を向上させた高機能なプレミアムな難燃性熱橋ボルトキャップ及び難燃性熱橋ボルトキャップの製造方法を提案することを目的とする。
【解決手段】軸部が骨材に嵌挿されて骨材を連結するボルトの頭部に嵌合する第一の凹部を形成する内壁と、第一の凹部の周囲に円環状の第二の凹部を形成する外壁と、内壁と外壁とが凸設される底面と、を備え、難燃材が配合された樹脂で形成され、好ましくは第一の凹部の底面の少なくとも一部が、難燃材が配合された異なる種類の樹脂が積層された積層二重構造を有する難燃性熱橋ボルトキャップとする。
【選択図】図1
特許請求の範囲
【請求項1】
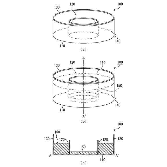
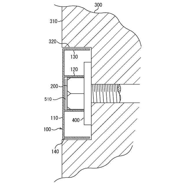
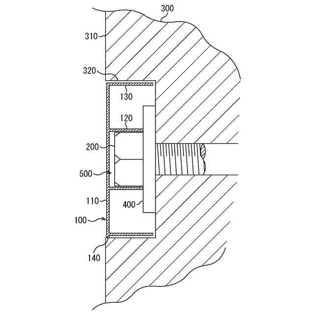
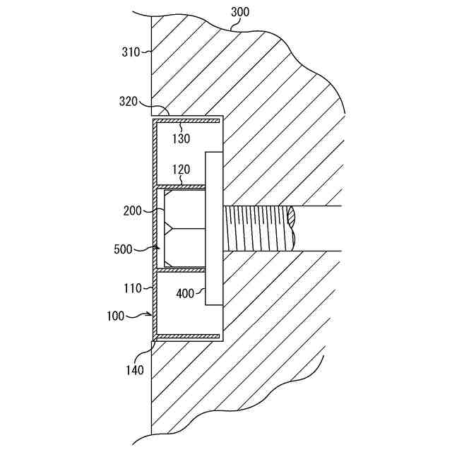
軸部が骨材に嵌挿されて骨材を連結するボルトの頭部に嵌合する第一の凹部を形成する内壁と、
前記第一の凹部の周囲に円環状の第二の凹部を形成する外壁と、
前記内壁と前記外壁とが凸設される底面と、を備え、
難燃材が配合された樹脂で形成される
ことを特徴とする難燃性熱橋ボルトキャップ。
続きを表示(約 1,100 文字)
【請求項2】
請求項1に記載の難燃性熱橋ボルトキャップにおいて、
前記第一の凹部の底面の少なくとも一部は、難燃材が配合された異なる種類の樹脂が積層された積層二重構造を有する
ことを特徴とする難燃性熱橋ボルトキャップ。
【請求項3】
請求項2に記載の難燃性熱橋ボルトキャップにおいて、
前記異なる種類の樹脂は、難燃性ABS樹脂と難燃性アクリル樹脂である
ことを特徴とする難燃性熱橋ボルトキャップ。
【請求項4】
請求項3に記載の難燃性熱橋ボルトキャップにおいて、
前記難燃性アクリル樹脂は、前記難燃性ABS樹脂上に塗布されたペーストまたはパテが硬化した難燃性アクリル樹脂である
ことを特徴とする難燃性熱橋ボルトキャップ。
【請求項5】
請求項3又は請求項4に記載の難燃性熱橋ボルトキャップにおいて、
前記難燃性アクリル樹脂は、前期ボルトの頭部に接着する
ことを特徴とする難燃性熱橋ボルトキャップ。
【請求項6】
軸部が骨材に嵌挿されて骨材を連結するボルトの頭部に嵌合する第一の凹部を形成する内壁と、前記第一の凹部の周囲に円環状の第二の凹部を形成する外壁と、前記内壁と前記外壁とが凸設される底面と、を備える難燃性熱橋ボルトキャップの製造方法において、
難燃材が配合されて混錬された樹脂を射出成型する工程を有する
ことを特徴とする難燃性熱橋ボルトキャップの製造方法。
【請求項7】
請求項6に記載の難燃性熱橋ボルトキャップの製造方法において、
前記第一の凹部の底面の少なくとも一部は、難燃材が配合された互いに異なる種類の樹脂が積層された積層二重構造を有する
ことを特徴とする難燃性熱橋ボルトキャップの製造方法。
【請求項8】
請求項7に記載の難燃性熱橋ボルトキャップの製造方法において、
前記異なる種類の樹脂は、難燃性ABS樹脂と難燃性アクリル樹脂である
ことを特徴とする難燃性熱橋ボルトキャップの製造方法。
【請求項9】
請求項8に記載の難燃性熱橋ボルトキャップの製造方法において、
前記難燃性アクリル樹脂は、前記難燃性ABS樹脂上に塗布されたペーストまたはパテが硬化した難燃性アクリル樹脂である
ことを特徴とする難燃性熱橋ボルトキャップの製造方法。
【請求項10】
請求項8又は請求項9に記載の難燃性熱橋ボルトキャップの製造方法において、
前記難燃性アクリル樹脂は、前期ボルトの頭部に接着する
ことを特徴とする難燃性熱橋ボルトキャップの製造方法。
(【請求項11】以降は省略されています)
発明の詳細な説明
【技術分野】
【0001】
本発明は、難燃性熱橋ボルトキャップ及び難燃性熱橋ボルトキャップの製造方法に関する。
続きを表示(約 1,500 文字)
【背景技術】
【0002】
従来、柱、梁、土台等の各骨材を連結し、これを骨格フレームとした木造家屋等が建築される。また、このような骨材、例えば柱と梁とを容易に連結するために、骨材に固定された板部の端部にボルトを突設した板部材と、対応するナットと、で構成される連結部材が使用される場合もある。
【0003】
板部材のボルトを柱の貫通孔に内側から挿通し、板部を梁に釘などで固定し、柱外面に突出したボルト端部にナットを螺着することで、柱と梁とを連結する羽子板ボルトと呼ばれる連結板部材が知られている。
【0004】
また、木造家屋に対する高機密性、高断熱性及び高耐久性の要求が増大するのに伴い、柱、梁、土台等の各骨材を連結板部材で連結した場合に生じる種々の問題点も無視できない解決課題となってきている。
【0005】
例えば、羽子板ボルトを使用して骨材を連結する場合、骨材に連結板部材のボルトを挿通させる貫通孔を設けるので、この貫通孔及びボルトを介して熱が伝導され、施工後(連結後)の家屋は機密性及び断熱性に欠けることが懸念される。
【0006】
すなわち、連結板部材を構成する金属製のボルトの両端部、または/およびナットが家屋の屋外側及び屋内側へ各々露出するので、特に家屋の屋外側と屋内側とで大きな寒暖の差が生じる冬場等の環境下においては、ボルトがそれを介して熱が伝導されるいわゆる熱橋となって、断熱効果が低減されることが懸念される
【0007】
また、例えば屋外側の冷たい空気で冷やされたボルトの屋内側端部が、屋内側で暖かい空気及び湿気に触れ、屋内側の端部に結露が生じ、生じた結露に起因してボルトが錆びたり、結露による水分が骨材に浸透・滴下して腐食等の好ましくない状態を招来することが懸念される。
【0008】
このため、特に気温差の激しい地域に建築される家屋の屋外側に位置する骨材の連結部等においては、骨材の老朽化や腐食が加速的に促進されたり、場合によっては家屋全体の耐久性を低下させる等の問題が生じる。
【0009】
また、カバー体を骨材の表面に露出する連結部材の端部内面に設けた凹部を嵌合止着させることで当該端部を覆うようにして付設することで、連結部材の端部を露出したままにしておいた場合に比して機密性及び断熱性が良好となり、例えば冬場などの家屋の外側が冷たく且つ内側が暖かい環境下においては、内側の暖かい空気と冷たい外気とがボルト部材で連結されることがなくなり断熱効果が劣化してしまうことがなく、この連結部材の端部が直接外気に触れることがないため結露の発生を可及的に防止することができる技術思想が、例えば下記特許文献1等に開示されている。
【0010】
また、木造建物の構成骨材(木材)の組付け、固定に用いられているボルトや釘或いは接合金物等の金属製物品は、その一部(例えば、ボルト頭部)が木材表面に露出し、かつ、露出したままの状態におかれているので結露し、多年に渉る該結露水によって当該物品が錆ついたり、木材部が腐食したりして当該物品の機能が劣化するとの問題点を解決するために、木造建物の木材表面に露出する金属製物品部分の表面を、該部分を取り囲んで木材表面に接着した、耐候性、断熱性および非透湿性のあるシート片で套装した構成とする技術思想が、例えば下記特許文献2に開示されている。一方、近年はさらなる安全・安心志向の高まりとともに防火対策や難燃対策をさらに向上させる必然性が生じている。
【先行技術文献】
【特許文献】
(【0011】以降は省略されています)
この特許をJ-PlatPat(特許庁公式サイト)で参照する
関連特許
個人
鍋虫ねじ
1か月前
個人
紛体用仕切弁
1か月前
個人
回転伝達機構
1か月前
個人
差動歯車用歯形
3か月前
個人
ジョイント
12日前
個人
地震の揺れ回避装置
2か月前
個人
ナット
13日前
株式会社不二工機
電磁弁
3か月前
個人
吐出量監視装置
29日前
カヤバ株式会社
ダンパ
3か月前
カヤバ株式会社
ダンパ
3か月前
カヤバ株式会社
緩衝器
2か月前
カヤバ株式会社
緩衝器
2か月前
柿沼金属精機株式会社
分岐管
1か月前
アズビル株式会社
回転弁
6日前
株式会社タカギ
水栓装置
1か月前
株式会社奥村組
制振機構
2日前
株式会社フジキン
ボールバルブ
3か月前
株式会社奥村組
制振機構
2日前
株式会社不二工機
電磁弁
1か月前
株式会社有恒商会
伸縮継手
2か月前
株式会社ケアコム
取付器具
2か月前
アイホン株式会社
電気機器
2日前
井関農機株式会社
作業車両
3か月前
株式会社オンダ製作所
識別リング
2か月前
株式会社不二越
転がり軸受
1か月前
個人
ワンウェイベアリング
2か月前
株式会社ブリヂストン
管継手
3か月前
株式会社オンダ製作所
長尺体保持具
2か月前
個人
無段変速可能なフリーホイール
今日
株式会社オンダ製作所
長尺体保護具
3か月前
個人
機械式固定スタッドボルト装置
3か月前
株式会社オンダ製作所
長尺体保持具
3か月前
前澤工業株式会社
弁箱
3か月前
株式会社荒井製作所
封止装置
2か月前
個人
交互ピッチ湾曲保持ばね構造体
1か月前
続きを見る
他の特許を見る