TOP
|
特許
|
意匠
|
商標
特許ウォッチ
Twitter
他の特許を見る
10個以上の画像は省略されています。
公開番号
2025137902
公報種別
公開特許公報(A)
公開日
2025-09-25
出願番号
2024028948
出願日
2024-02-28
発明の名称
太陽光発電システム構成方法
出願人
エクシオグループ株式会社
,
国立大学法人京都工芸繊維大学
代理人
弁理士法人鈴榮特許綜合事務所
主分類
H02J
7/35 20060101AFI20250917BHJP(電力の発電,変換,配電)
要約
【課題】太陽電池パネルで発電された電力を効率良くかつ適切に蓄電池側へ供給すること。
【解決手段】実施形態に係る太陽光発電システム構成方法は、太陽電池を構成する複数の太陽電池パネルで発電された電力を、パワーコンディショナーを用いることなく、半導体遮断器を経由して、蓄電池、電力系統、または負荷機器に供給する太陽光発電システムを構成する方法であって、前記太陽電池の開放電圧が前記蓄電池の満充電電圧以下にならないという第1の条件と、前記蓄電池の電圧が一定以上の充電効率を達成する電圧範囲内に収まるという第2の条件の両方を満たす太陽電池パネル直列数を決定するステップを含む。
【選択図】図4
特許請求の範囲
【請求項1】
太陽電池を構成する複数の太陽電池パネルで発電された電力を、パワーコンディショナーを用いることなく、半導体遮断器を経由して、蓄電池、電力系統、または負荷機器に供給する太陽光発電システムを構成する方法であって、
前記太陽電池の開放電圧が前記蓄電池の満充電電圧以下にならないという第1の条件と、前記蓄電池の電圧が一定以上の充電効率を達成する電圧範囲内に収まるという第2の条件の両方を満たす太陽電池パネル直列数を決定するステップを含む、
太陽光発電システム構成方法。
続きを表示(約 830 文字)
【請求項2】
前記ステップでは、前記第1の条件を満たす複数の太陽電池パネル直列数の候補のうち、最も数が小さい太陽電池パネル直列数を選定する、
請求項1に記載の太陽光発電システム構成方法。
【請求項3】
前記太陽電池の開放電圧は、1つの太陽電池パネルの設置環境下における最大日射強度かつ設置環境下における最大セル温度のときの開放電圧と、当該太陽電池パネルの直列数との積から求められる、
請求項1に記載の太陽光発電システム構成方法。
【請求項4】
前記1つの太陽電池パネルの開放電圧は、当該太陽電池パネルの温度と照度又は日射量とを含む関数から求められる、
請求項3に記載の太陽光発電システム構成方法。
【請求項5】
前記一定以上の充電効率を達成する電圧範囲は、MPPT(Maximum Power Point Tracking)制御を行う場合の効率よりも高い効率を達成する電圧の範囲である、
請求項1に記載の太陽光発電システム構成方法。
【請求項6】
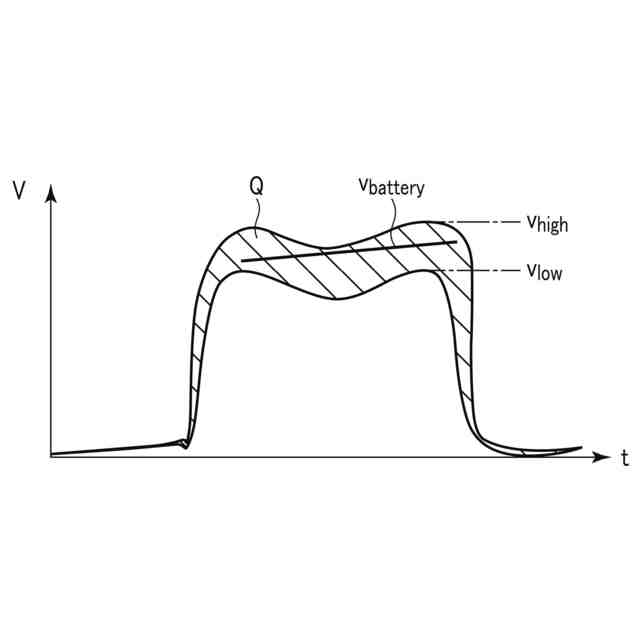
前記ステップでは、前記太陽電池のセル温度が最高かつ最大出力時の電圧と、前記蓄電池を定電流したときに電池電圧が平坦となる電圧領域の電圧とが、同等となるようにする、
請求項1に記載の太陽光発電システム構成方法。
【請求項7】
太陽電池を構成する複数の太陽電池パネルで発電された電力を、パワーコンディショナーを用いることなく、半導体遮断器を経由して、蓄電池、電力系統、または負荷機器に供給する太陽光発電システムであって、
前記太陽電池の開放電圧が前記蓄電池の満充電電圧以下にならないという第1の条件と、前記蓄電池の電圧が一定以上の充電効率を達成する電圧範囲内に収まるという第2の条件の両方を満たすように、太陽電池パネル直列数が設定されている、
太陽光発電システム。
発明の詳細な説明
【技術分野】
【0001】
本発明の実施形態は、太陽光発電システム構成方法および太陽光発電システムに関する。
続きを表示(約 1,600 文字)
【背景技術】
【0002】
一般に、太陽光発電システムにおいては、太陽電池パネルで発電された電力は、PCS(Power Conditioning System)もしくはパワコンと呼ばれるパワーコンディショナーに入力され、直流/交流変換器(DC/AC変換器)にて直流から交流に変換されて、負荷機器や電力系統に供給される。また、発電しない夜間に負荷装置を動作させるのに必要な電力は、蓄電池に蓄電される。
【0003】
図28に、一般的な太陽光発電システムの一例を示す。
【0004】
図28に示されるように、パワーコンディショナー100は、太陽電池10を構成する複数のPVパネル(太陽電池パネル)11に接続されるとともに、蓄電池13に接続され、さらに図示しない負荷機器や電力系統(以降、「電力系統等」と称す)に接続される。パワーコンディショナー100は、3つの電力変換器を有する。具体的には、MPPT(Maximum Power Point Tracking)制御に使用されるDC/DC変換器121と、蓄電池13の充放電制御に使用されるDC/DC変換器131と、電力系統等との間の直流交流変換のために使用されるDC/AC変換器(インバータ)14とを有する。
【0005】
PVパネル11で発電されたエネルギーは、パワーコンディショナー100にて複数の電力変換を受けるため、大きな損失が発生する。特に、蓄電池13に蓄電した電力を電力系統等の側で使用する場合、各電力変換器の効率が0.95と優れたものであっても、パワーコンディショナー100内の3つの電力変換器にて4回変換を受けることとなり、最高でも80%程度しか利用できない。実際には、各電力変換器が軽負荷で動作することも多く、この際には大幅に変換効率が低下する。このため、実際には発電されたエネルギーの60%程度しか使えないのが現状である。
【先行技術文献】
【特許文献】
【0006】
特許7304532号公報
【発明の概要】
【発明が解決しようとする課題】
【0007】
上述したように、パワーコンディショナーは大きな電力損失を生じさせることから、パワーコンディショナーに代わる何らかの手段もしくは方法により、太陽電池パネルで発電されるエネルギーをできるだけ効率良く使用できるようにすることが望まれる。また、そのようにした場合、日照量や温度によって電流や電圧が変わる太陽電池パネルの発電電力が、適切に蓄電池側へ供給されるようにすることも望まれる。
【0008】
本発明は上記事情に鑑みてなされたものであり、太陽電池パネルで発電された電力を効率良くかつ適切に蓄電池側へ供給することを可能にする、太陽光発電システム構成方法および太陽光発電システムを提供することを目的とする。
【課題を解決するための手段】
【0009】
実施形態に係る太陽光発電システム構成方法は、太陽電池を構成する複数の太陽電池パネルで発電された電力を、パワーコンディショナーを用いることなく、半導体遮断器を経由して、蓄電池、電力系統、または負荷機器に供給する太陽光発電システムを構成する方法であって、前記太陽電池の開放電圧が前記蓄電池の満充電電圧以下にならないという第1の条件と、前記蓄電池の電圧が一定以上の充電効率を達成する電圧範囲内に収まるという第2の条件の両方を満たす太陽電池パネル直列数を決定するステップを含む。
【発明の効果】
【0010】
本発明によれば、太陽電池パネルで発電された電力を、太陽電池パネルの電圧と蓄電池の電圧との関係を適切に保つことにより、効率良く蓄電池側へ供給することができる。
【図面の簡単な説明】
(【0011】以降は省略されています)
この特許をJ-PlatPat(特許庁公式サイト)で参照する
関連特許
エクシオグループ株式会社
献立作成支援装置、方法およびプログラム
18日前
個人
電気を重力で発電装置
1か月前
個人
高圧電気機器の開閉器
19日前
キヤノン電子株式会社
モータ
1か月前
キヤノン電子株式会社
モータ
1か月前
日星電気株式会社
ケーブル組立体
1か月前
コーセル株式会社
電源装置
1か月前
株式会社アイドゥス企画
減反モータ
19日前
トヨタ自動車株式会社
モータ
1か月前
株式会社デンソー
回転機
1か月前
株式会社デンソー
端子台
12日前
株式会社デンソー
回転電機
3日前
個人
二次電池繰返パルス放電器用印刷基板
1か月前
株式会社ダイヘン
送配電装置
3日前
本田技研工業株式会社
回転電機
5日前
株式会社不二越
空冷式油圧装置
3日前
富士電機株式会社
電力変換装置
3日前
ローム株式会社
半導体集積回路
10日前
富士電機株式会社
電力変換装置
3日前
株式会社デンソー
電力変換装置
1か月前
株式会社ミツバ
回転電機
1か月前
株式会社デンソー
電力変換装置
1か月前
株式会社日立製作所
回転電機
10日前
矢崎総業株式会社
電源回路
18日前
株式会社TMEIC
制御装置
11日前
矢崎総業株式会社
給電装置
11日前
株式会社ダイヘン
インバータ装置
1か月前
トヨタ自動車株式会社
固定子の加熱装置
1か月前
株式会社デンソー
非接触受電装置
1か月前
株式会社イノコンバンク
無線給電システム
3日前
トヨタ自動車株式会社
ステータの製造装置
1か月前
山洋電気株式会社
モータ
1か月前
日産自動車株式会社
ロータシャフト
26日前
日産自動車株式会社
ロータシャフト
26日前
ローム株式会社
モータドライバ回路
26日前
個人
非対称鏡像力を有する4層PWB電荷搬送体
26日前
続きを見る
他の特許を見る