TOP
|
特許
|
意匠
|
商標
特許ウォッチ
Twitter
他の特許を見る
10個以上の画像は省略されています。
公開番号
2025135094
公報種別
公開特許公報(A)
公開日
2025-09-18
出願番号
2024032693
出願日
2024-03-05
発明の名称
固体撮像素子
出願人
三星電子株式会社
,
Samsung Electronics Co.,Ltd.
代理人
IBC一番町弁理士法人
主分類
H10F
39/18 20250101AFI20250910BHJP()
要約
【課題】混色の低減と光電変換部における光吸収性の向上を可能にする固体撮像素子を提供する。
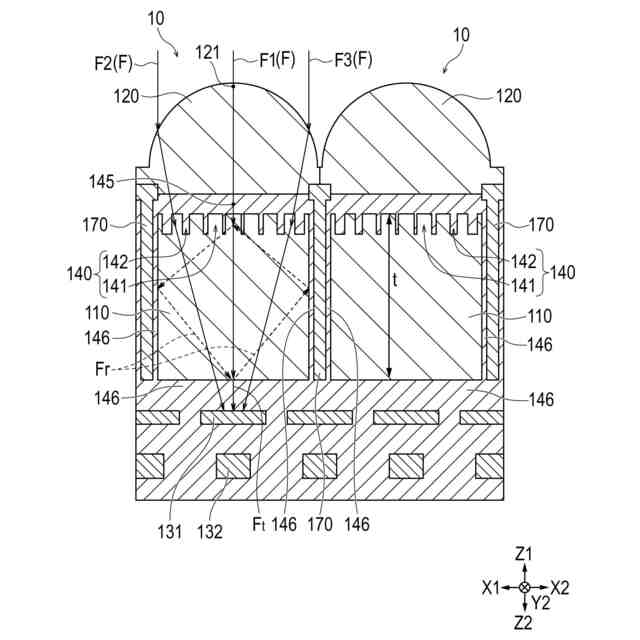
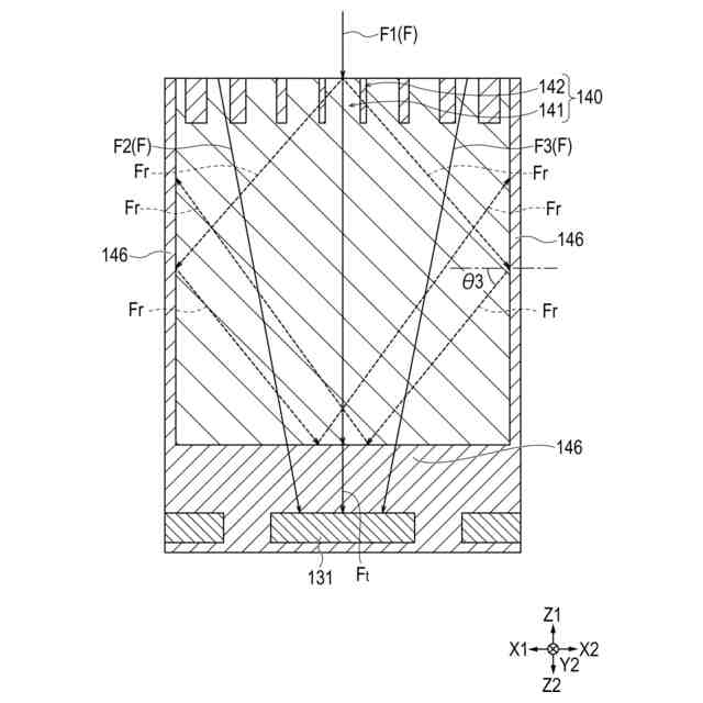
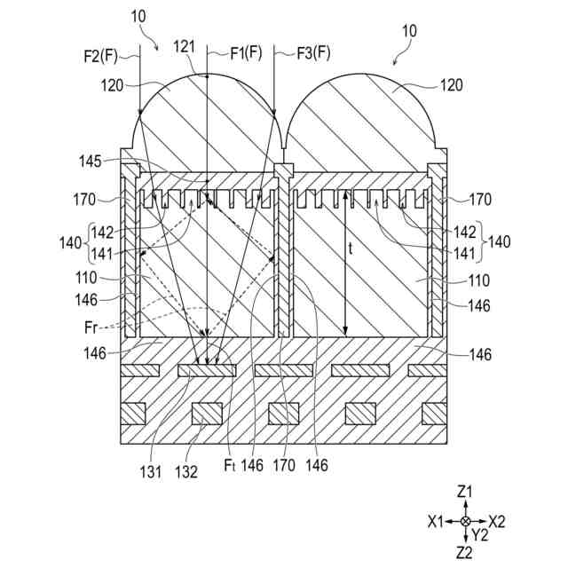
【解決手段】画素10は、光電変換部110のZ1側に設けられるとともに光電変換部の積層方向に対して垂直な2次元方向に周期性を有する第1の周期構造部140を備えており、第1の周期構造部は、第1の層141と、第1の層よりも光の屈折率の低い第2の層142と、をそれぞれ複数備え、複数の画素のうちの少なくとも一つにおいて、第1の周期構造部は、2次元方向における画素中央部11では第1の層の体積比率が第2の層の体積比率よりも大きく、かつ画素中央部から2次元方向における画素周辺部13に向かって第1の層の体積比率が減少するように第1の層と第2の層が配置されている。
【選択図】図3
特許請求の範囲
【請求項1】
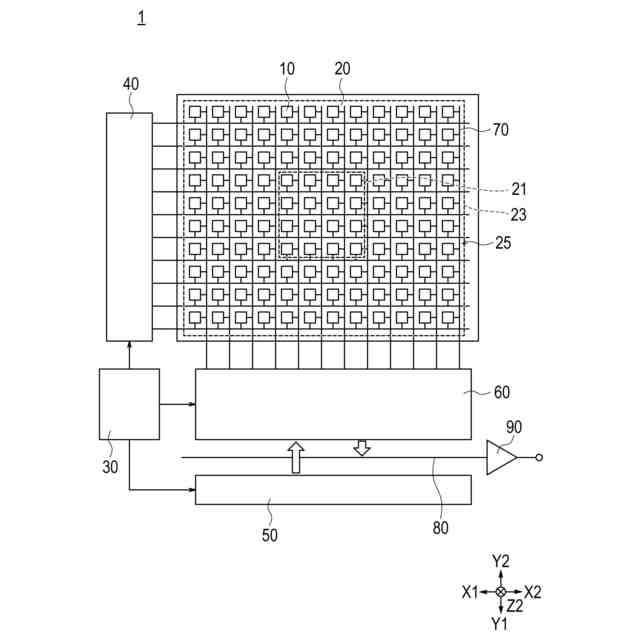
複数の画素からなる画素アレイを備えた固体撮像素子であって、
前記画素は、
光を電荷に変換する光電変換部と、
前記光電変換部の一方側に設けられるオンチップレンズと、
前記光電変換部の他方側に設けられる配線層と、
前記光電変換部の前記一方側に設けられるとともに前記光電変換部の積層方向に対して垂直な2次元方向に周期性を有する第1の周期構造部と、を備え、
前記第1の周期構造部は、
第1の層と、前記第1の層よりも光の屈折率の低い第2の層と、をそれぞれ複数備え、
前記複数の画素のうちの少なくとも一つにおいて、前記第1の周期構造部は、前記2次元方向における画素中央部では前記第1の層の体積比率が前記第2の層の体積比率よりも大きく、かつ前記画素中央部から前記2次元方向における画素周辺部に向かって前記第1の層の体積比率が減少するように前記第1の層と前記第2の層が配置されている、固体撮像素子。
続きを表示(約 1,100 文字)
【請求項2】
前記第1の周期構造部は、前記2次元方向における前記第2の層の幅が異なることで、前記画素中央部から前記画素周辺部に向かって前記第1の層の体積比率が減少するように構成される、請求項1に記載の固体撮像素子。
【請求項3】
前記第1の周期構造部は、前記積層方向における前記第2の層の深さが異なることで、前記画素中央部から前記画素周辺部に向かって前記第1の層の体積比率が減少するように構成される、請求項1に記載の固体撮像素子。
【請求項4】
前記第1の周期構造部の周期は、前記光電変換部で受光する光の波長と入射角に基づいた所定の大きさで構成されており、受光する光の波長よりも短く、かつ前記光電変換部で回折光を発生させることが可能な長さである、請求項1に記載の固体撮像素子。
【請求項5】
前記積層方向における前記第1の層の深さ及び前記第2の層の深さは、前記光電変換部で受光する光の波長と同程度であり、
前記光電変換部の厚さは、前記第1の層の深さ及び前記第2の層の深さよりも大きい、請求項1に記載の固体撮像素子。
【請求項6】
前記光電変換部は、前記第1の層よりも光の屈折率の低い誘電体層により少なくとも一部が覆われており、
前記第1の周期構造部の周期は、前記光電変換部で発生した回折光を前記光電変換部と前記誘電体層との境界で全反射させることが可能な長さである、請求項1に記載の固体撮像素子。
【請求項7】
前記積層方向において前記光電変換部に最も近接した位置に配置された前記配線層は、前記光電変換部を透過した光を反射する反射構造を有する、請求項1に記載の固体撮像素子。
【請求項8】
前記第1の周期構造部を備える前記画素は、前記光電変換部の前記他方側に設けられるとともに前記2次元方向に周期性を有する第2の周期構造部を備え、
前記第2の周期構造部は、
前記第1の層と同一の光の屈折率を備える第3の層と、前記第2の層と同一の光の屈折率を備える第4の層と、をそれぞれ複数備える、請求項1に記載の固体撮像素子。
【請求項9】
前記第2の周期構造部は、前記第1の周期構造部と同一の周期性を有する、請求項8に記載の固体撮像素子。
【請求項10】
前記第1の周期構造部における前記第1の層の体積比率の分布と前記第2の周期構造部における前記第3の層の体積比率の分布は同一であり、
前記第1の周期構造部における前記第2の層の体積比率の分布と前記第2の周期構造部における前記第4の層の体積比率の分布は同一である、請求項8に記載の固体撮像素子。
(【請求項11】以降は省略されています)
発明の詳細な説明
【技術分野】
【0001】
本発明は、固体撮像素子に関する。
続きを表示(約 1,400 文字)
【背景技術】
【0002】
固体撮像素子は、デジタルカメラや携帯電話などの各種のモバイル端末等に搭載されている。
【0003】
固体撮像素子は、入射光の量に応じて電荷を生成及び蓄積する光電変換部と、光電変換部の光が入射される一方側に設けられるオンチップレンズと、光電変換部の他方側に設けられる配線層と、を有する(例えば下記の特許文献1)。
【0004】
特許文献1の固体撮像素子では、光電変換部の一方側に、半導体領域(P型半導体領域の一部)で構成された第1環状部と、第1環状部を囲むように配置された固定電荷膜及び絶縁膜からなる第2環状部と、を備える凹凸形状の環状部(ゾーンプレート)を設けている。凹凸形状の環状部は、オンチップレンズを介して入射した光をレンズ効果により光電変換部に集光させる。そのため、特許文献1の固体撮像素子は、レンズ効果を発揮する凹凸形状の環状部を備えることにより、画素間における混色の発生を低減させることができる。
【先行技術文献】
【特許文献】
【0005】
特開2022-108744号公報
【発明の概要】
【発明が解決しようとする課題】
【0006】
固体撮像素子の性能評価を判断する指標の一つとして光電変換部における光吸収性が挙げられる。固体撮像素子は、光電変換部がより高い光吸収性を備えることにより、高い量子効率(光電変換効率)を発揮する。
【0007】
前述したように特許文献1の固体撮像素子は、凹凸形状の環状部のような付加的な構造を光電変換部に設けることにより混色の低減を図りうる。ただし、特許文献1の固体撮像素子は、光電変換部の構造に工夫を凝らすことによって光電変換部の量子効率の向上を図るといった点については特に言及していない。したがって、特許文献1の固体撮像素子は、光電変換部の量子効率の向上について更なる改善の余地があると言える。
【0008】
本発明は、上記の課題を解決するためになされたものであり、混色の低減及び光電変換部における光吸収性の向上を可能にする固体撮像素子を提供することを目的とする。
【課題を解決するための手段】
【0009】
本発明の上記目的は、下記のいずれかの手段によって達成される。
【0010】
(1)
複数の画素からなる画素アレイを備えた固体撮像素子であって、
前記画素は、
光を電荷に変換する光電変換部と、
前記光電変換部の一方側に設けられるオンチップレンズと、
前記光電変換部の他方側に設けられる配線層と、
前記光電変換部の前記一方側に設けられるとともに前記光電変換部の積層方向に対して垂直な2次元方向に周期性を有する第1の周期構造部と、を備え、
前記第1の周期構造部は、
第1の層と、前記第1の層よりも光の屈折率の低い第2の層と、をそれぞれ複数備え、
前記複数の画素のうちの少なくとも一つにおいて、前記第1の周期構造部は、前記2次元方向における画素中央部では前記第1の層の体積比率が前記第2の層の体積比率よりも大きく、かつ前記画素中央部から前記2次元方向における画素周辺部に向かって前記第1の層の体積比率が減少するように前記第1の層と前記第2の層が配置されている、固体撮像素子。
(【0011】以降は省略されています)
この特許をJ-PlatPat(特許庁公式サイト)で参照する
関連特許
他の特許を見る