TOP
|
特許
|
意匠
|
商標
特許ウォッチ
Twitter
他の特許を見る
公開番号
2025133065
公報種別
公開特許公報(A)
公開日
2025-09-10
出願番号
2025028114
出願日
2025-02-25
発明の名称
エンドエフェクタおよびそれを使用する基材処理装置
出願人
エーエスエム・アイピー・ホールディング・ベー・フェー
代理人
個人
,
個人
,
個人
主分類
B25J
15/08 20060101AFI20250903BHJP(手工具;可搬型動力工具;手工具用の柄;作業場設備;マニプレータ)
要約
【課題】基材処理システムで基材を搬送するために使用されるエンドエフェクタが提示される。
【解決手段】エンドエフェクタは、基材を支持するように構成されたパドルであって、平坦である、パドルと、前記パドルの第1の端において前記パドルに接続されているブレード部品であって、その遠位端に、前記基材を位置付けるための前方突出部が設けられている、ブレード部品と、複数の穴の各々に配置された複数のパッドであって、前記基材を搬送する時に前記基材に接触し、前記複数の穴は前記パドルおよび前記ブレード部品内に配置されている、複数のパッドと、を備えている。エンドエフェクタは、基材が付着しないように、パッドの傾斜を可能にし得る。
【選択図】図1
特許請求の範囲
【請求項1】
基材を輸送するために使用されるエンドエフェクタであって、
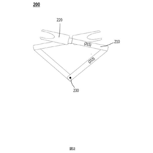
基材を支持するように構成されたパドルであって、平坦である、パドルと、
前記パドルの第1の端において前記パドルに接続されているブレード部品であって、その遠位端に、前記基材を位置付けるための前方突出部が設けられている、ブレード部品と、
複数の穴の各々に配置された複数のパッドであって、前記基材を搬送する時に前記基材に接触し、前記複数の穴は前記パドルおよび前記ブレード部品内に配置されている、複数のパッドと、
を備える、エンドエフェクタ。
続きを表示(約 890 文字)
【請求項2】
前記パドルの第2の端において前記パドルに接続されており、ロボットアームに取り付けられるように構成されたジョイントセクションをさらに備えている、請求項1に記載のエンドエフェクタ。
【請求項3】
前記穴の数が3つ(3)以上である、請求項2に記載のエンドエフェクタ。
【請求項4】
前記ブレード部品が少なくとも1つのブレードを備えている、請求項2に記載のエンドエフェクタ。
【請求項5】
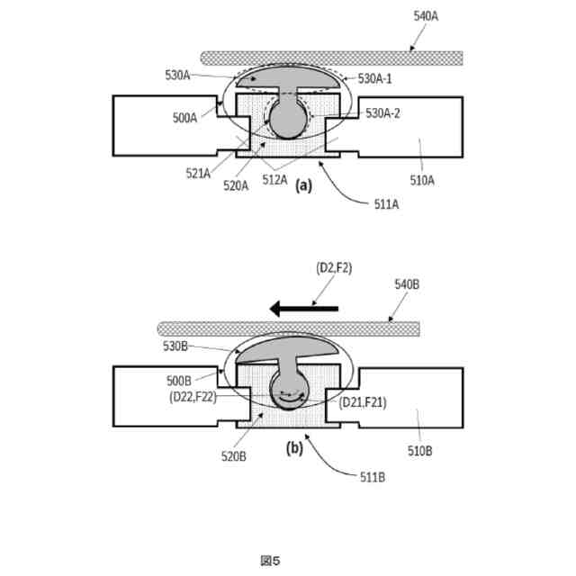
前記複数のパッドの各々が、
前記基材を搬送する時に、前記基材をその上面上に支持するように構成された支持ユニットと、
前記支持ユニットの下側を取り囲み、穴に嵌合されるように構成された吸収ユニットと、
を備え、
前記吸収ユニットが、衝撃を吸収し、前記支持ユニットおよび前記穴を封止することができるように弾性および可撓性を有する、請求項2に記載のエンドエフェクタ。
【請求項6】
前記吸収ユニットがOリングであり、前記穴の内側が凹形状を有し、前記Oリングが前記穴の前記内側の前記凹形状に適合するように構成されている、請求項5に記載のエンドエフェクタ。
【請求項7】
前記吸収ユニットが、その側面の周りに凹形状を有し、前記穴の内側が突出部を有し、
前記穴の内側の前記突出部が、前記吸収ユニットの凹形状に適合するように構成されている、請求項5に記載のエンドエフェクタ。
【請求項8】
前記支持ユニットが、前記基材が摺動する時に、基材移動の方向と同じ方向にある程度傾斜するように構成されている、請求項6または7に記載のエンドエフェクタ。
【請求項9】
前記支持ユニットが丸い上部形状を有するように構成されている、請求項5に記載のエンドエフェクタ。
【請求項10】
前記支持ユニットがセラミックで作製され、前記吸収ユニットがエラストマーで作製されている、請求項5に記載のエンドエフェクタ。
(【請求項11】以降は省略されています)
発明の詳細な説明
【技術分野】
【0001】
本開示は、概して、エンドエフェクタに関する。より具体的には、本開示の例示的な実施形態は、基材を移送するためのエンドエフェクタ、及び該エンドエフェクタを含む基材処理装置に関する。
続きを表示(約 1,200 文字)
【背景技術】
【0002】
基材処理システム内の(ロボットアームに取り付けられる)ロボットで現在使用されている裏面接触タイプのエンドエフェクタのパッドは、a)基材の付着や、b)長時間使用された時の摩耗などの問題の影響を受ける場合がある。パッドの寿命は比較的短い(すなわち、通常は6ヵ月など)ため、メンテナンスが適時に行われない場合、パッドの上部の基材接触領域が摩耗することになる。
【0003】
また、ロボットを用いてシリコン基材を取り扱う時、基材がエンドエフェクタのパッド上で跳ね返ることや、基材が接触時にバランスを崩したことに起因して正しい位置に配置されないことがある。
【0004】
したがって、本開示は、基材が跳ねることを防止し、基材の接触面積の状態を改善するために、衝撃を吸収し、パッドの傾斜を自動的に補正する能力を有する新しいエンドエフェクタ構造を提示する。
【発明の概要】
【0005】
この概要は、一部の概念を簡略化した形態で紹介するために提供される。これらの概念は、下記の本開示の例示の実施形態の詳細な説明において、さらに詳細に記載される。この概要は、特許請求される主題の主要な特徴または本質的な特徴を特定することを意図するものではなく、特許請求される主題の範囲を限定するために使用されることも意図するものではない。
【0006】
一実施形態によれば、基材を輸送するために使用されるエンドエフェクタであって、基材を支持するように構成されたパドルであって、平坦である、パドルと、前記パドルの第1の端において前記パドルに接続されているブレード部品であって、その遠位端に、前記基材を位置付けるための前方突出部が設けられている、ブレード部品と、複数の穴の各々に配置された複数のパッドであって、前記基材を搬送する時に前記基材に接触し、前記複数の穴は前記パドルおよび前記ブレード部品内に配置されている、複数のパッドと、を備える、エンドエフェクタを提供し得る。
【0007】
一態様では、エンドエフェクタは、前記パドルの第2の端において前記パドルに接続されており、ロボットアームに取り付けられるように構成されたジョイントセクションをさらに備えている。
【0008】
一態様では、穴の数は、3以上である。
【0009】
一態様では、ブレード部品は少なくとも1つのブレードを備えている。
【0010】
一態様では、前記複数のパッドの各々は、前記基材を搬送する時に、前記基材をその上面上に支持するように構成された支持ユニットと、前記支持ユニットの下側を取り囲み、穴に嵌合されるように構成された吸収ユニットと、を備え、前記吸収ユニットは、衝撃を吸収し、前記支持ユニットおよび前記穴を封止することができるように弾性および可撓性である。
(【0011】以降は省略されています)
この特許をJ-PlatPat(特許庁公式サイト)で参照する
関連特許
他の特許を見る