TOP
|
特許
|
意匠
|
商標
特許ウォッチ
Twitter
他の特許を見る
公開番号
2025130202
公報種別
公開特許公報(A)
公開日
2025-09-08
出願番号
2024027211
出願日
2024-02-27
発明の名称
飛行体
出願人
インダストリーネットワーク株式会社
代理人
めぶき弁理士法人
主分類
B64U
30/12 20230101AFI20250901BHJP(航空機;飛行;宇宙工学)
要約
【課題】従来の飛行体よりも固定翼の翼構造を単純化することが可能な飛行体を提供する。
【解決手段】胴体10と、第1右翼32及び第1左翼34からなる一対の第1主翼30と、第1主翼30よりも下側に配置され、第2右翼42及び第2左翼44からなる一対の第2主翼40と、それぞれ可動式の第1右翼支持部材50、第1左翼支持部材52、第2右翼支持部材54及び第2左翼支持部材56とを備える飛行体1。飛行体1においては、第1右翼支持部材50、第2右翼支持部材52、第1左翼支持部材54及び第2左翼支持部材56のうち少なくとも1つの動作により生じる、第1右翼32、第1左翼34、第2右翼42及び第2左翼44のうち少なくとも1つの変形により、機体制御がなされる。
【選択図】図1
特許請求の範囲
【請求項1】
胴体と、
第1右翼及び第1左翼からなる一対の第1主翼と、
前記第1主翼よりも下側に配置され、第2右翼及び第2左翼からなる一対の第2主翼とを備える飛行体であって、
前記第1右翼と接続されている可動式の第1右翼支持部材と、前記第1左翼と接続されている可動式の第1左翼支持部材と、前記第2右翼と接続されている可動式の第2右翼支持部材と、前記第2左翼と接続されている可動式の第2左翼支持部材とをさらに備え、
前記第1右翼支持部材、前記第2右翼支持部材、前記第1左翼支持部材及び前記第2左翼支持部材のうち少なくとも1つの動作により生じる、前記第1右翼、前記第1左翼、前記第2右翼及び前記第2左翼のうち少なくとも1つの変形により、機体制御がなされることを特徴とする飛行体。
発明の詳細な説明
【技術分野】
【0001】
本発明は飛行体、特に固定翼を備える飛行体に関する。
続きを表示(約 1,600 文字)
【背景技術】
【0002】
従来、飛行体を用いた人や荷物の輸送が広く行われている。近年においては比較的小型の無人飛行体の普及が著しく進んでおり、世界中のメーカーやベンチャー企業が開発に鎬を削る状況となっている。
【0003】
ところで、上記した小型の無人飛行体としては、複数の回転翼を備えるもの(いわゆるドローン、マルチコプター、マルチローター等と呼称されるもの)が広く知られている。一方、上記したような小型の無人飛行体に対する関心の高まりや周辺技術の進歩に応じて、固定翼を備える飛行体に関する研究及び開発も進んでいる(例えば、特許文献1参照。)。一般的に、回転翼機よりも固定翼機の方が、速度、航続距離、燃費といった点で有利となる。
【先行技術文献】
【特許文献】
【0004】
特開2023-76742号公報
【発明の概要】
【発明が解決しようとする課題】
【0005】
ところで、固定翼を有する飛行体においては、固定翼に機体制御のための可動部(エルロン、エレボン等)を設けることが多い。しかしながら、固定翼に上記のような可動部及びその制御機構を組み込むと、翼構造が複雑化する。特に、近年研究が進んでいる小型の飛行体において、固定翼に複雑な構造を組み込むことは比較的難しく、構造が脆弱となる、コスト低減が困難となる等といった問題が顕在化する。
【0006】
そこで、本発明は上記課題に鑑みてなされたものであり、従来の飛行体よりも固定翼の翼構造を単純化することが可能な飛行体を提供することを目的とする。
【課題を解決するための手段】
【0007】
本発明の飛行体は、胴体と、第1右翼及び第1左翼からなる一対の第1主翼と、前記第1主翼よりも下側に配置され、第2右翼及び第2左翼からなる一対の第2主翼とを備える飛行体であって、前記第1右翼と接続されている可動式の第1右翼支持部材と、前記第1左翼と接続されている可動式の第1左翼支持部材と、前記第2右翼と接続されている可動式の第2右翼支持部材と、前記第2左翼と接続されている可動式の第2左翼支持部材とをさらに備え、前記第1右翼支持部材、前記第2右翼支持部材、前記第1左翼支持部材及び前記第2左翼支持部材のうち少なくとも1つの動作により生じる、前記第1右翼、前記第1左翼、前記第2右翼及び前記第2左翼のうち少なくとも1つの変形により、機体制御がなされることを特徴とする。
【発明の効果】
【0008】
本発明の飛行体においては、可動式の第1右翼支持部材、第1左翼支持部材、第2右翼支持部材及び第2左翼支持部材のうち少なくとも1つの動作により生じる、第1右翼、第1左翼、第2右翼及び第2左翼のうち少なくとも1つの変形により機体制御がなされる。したがって、固定翼に機体制御のための複雑な構造を組み込む必要がないため、本発明の飛行体は、従来の飛行体よりも固定翼の翼構造を単純化することが可能な飛行体となる。
【図面の簡単な説明】
【0009】
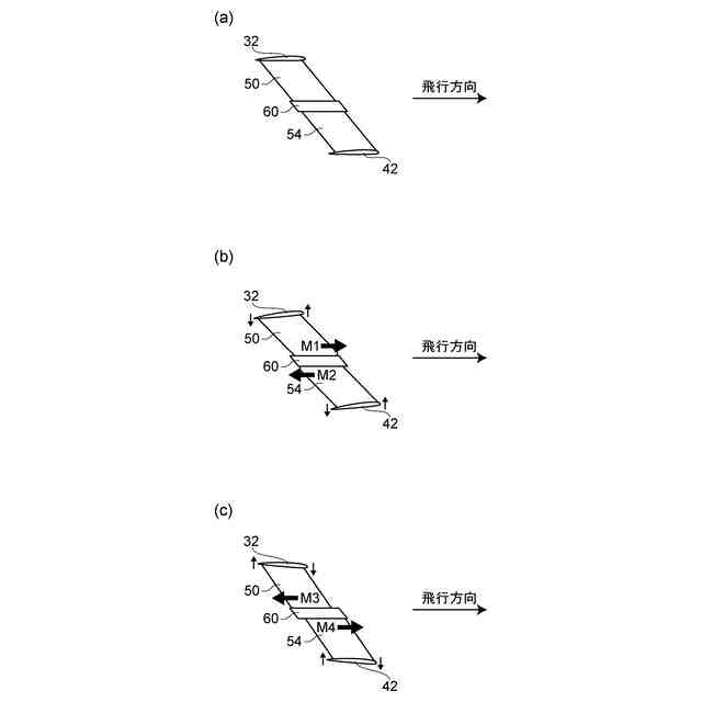
実施形態に係る飛行体1を説明するために示す図である。
実施形態に係る飛行体1における機体制御を説明するために示す図である。
変形例に係る飛行体2を説明するために示す図である。
【発明を実施するための形態】
【0010】
以下、本発明の飛行体について、図に示す実施形態に基づいて説明する。以下に説明する実施形態は、特許請求の範囲に係る発明を限定するものではない。また、実施形態の中で説明されている諸要素及びその組み合わせの全てが本発明の解決手段に必須であるとは限らない。
(【0011】以降は省略されています)
この特許をJ-PlatPat(特許庁公式サイト)で参照する
関連特許
個人
飛行体
20日前
個人
ドローン
9か月前
個人
人工台風
4か月前
個人
着火ドローン
6か月前
個人
救難消防飛行艇
6か月前
個人
ドローンシステム
10か月前
個人
AERO JET
1か月前
東レ株式会社
中空回転翼
5か月前
個人
動力原付きグライダー
2か月前
個人
無人空中移動体
2か月前
個人
飛行自動車vol.2
27日前
個人
導風板付き垂直離着陸機
4か月前
個人
連続回転可能な飛行機翼
6か月前
個人
陸海空用の乗り物
7か月前
東レ株式会社
プロペラブレード
5か月前
東レ株式会社
プロペラブレード
5か月前
個人
垂直離着陸機用エンジン改
10か月前
東レ株式会社
飛翔体用ブレード
1か月前
東レ株式会社
プロペラブレード
5か月前
個人
空飛ぶクルマ
5か月前
個人
空中移動システム
11か月前
個人
ドローンを自動離着陸する方法
10か月前
個人
エアライナー全自動パラシュート
9か月前
トヨタ自動車株式会社
ドローン
8か月前
個人
ヘリコプター駆動装置
6か月前
株式会社ACSL
システム
9か月前
個人
搬送方法および搬送システム
6か月前
株式会社ACSL
システム
9か月前
合同会社アドエア
飛行体の落下補助装置
11か月前
合同会社アドエア
パラシュート射出装置
9か月前
株式会社小糸製作所
飛行体ポート
6か月前
個人
飛行体
5か月前
個人
パラボラ型スペースデブリカタパルト
5か月前
株式会社SUBARU
移動体
11か月前
個人
飛行体
2か月前
個人
飛行体
5か月前
続きを見る
他の特許を見る