TOP
|
特許
|
意匠
|
商標
特許ウォッチ
Twitter
他の特許を見る
10個以上の画像は省略されています。
公開番号
2025130045
公報種別
公開特許公報(A)
公開日
2025-09-05
出願番号
2025025053
出願日
2025-02-19
発明の名称
太陽光パネル、太陽光パネル支持部材、太陽光パネル設置支援システム及び太陽光パネル設置方法
出願人
株式会社電巧社
代理人
個人
主分類
E04D
13/18 20180101AFI20250829BHJP(建築物)
要約
【課題】太陽光パネルを設置する施工者の作業負担を軽減化させる。
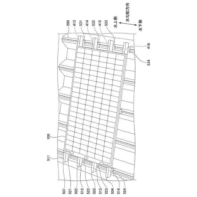
【解決手段】水勾配を有する設置対象物200に設置される太陽光パネル100は、太陽光パネル100と設置対象物200との間には、太陽光パネル100と設置対象物200とを接着する接着部材として、太陽光パネル100の水勾配方向の水上側の端縁部にて水勾配方向に対して直交する方向に延在する帯状の第1接着部材411と、水勾配方向に延在する複数の帯状の第2接着部材421~426とが配置されており、第1接着部材411及び第2接着部材421~426により、太陽光パネル100の水勾配方向の水下側の端縁部と設置対象物200との間の隙間が保持される。
【選択図】図6
特許請求の範囲
【請求項1】
水勾配を有する設置対象物に設置された太陽光パネルであって、
前記太陽光パネルと前記設置対象物との間には、前記太陽光パネルと前記設置対象物とを接着する接着部材として、
前記太陽光パネルの水勾配方向の水上側の端縁部にて水勾配方向に対して直交する方向に延在する帯状の第1接着部材と、
水勾配方向に延在する複数の帯状の第2接着部材と、
が配置されており、
前記第1接着部材及び前記第2接着部材により、前記太陽光パネルの水勾配方向の水下側の端縁部と前記設置対象物との間に隙間が保持される、
太陽光パネル。
続きを表示(約 1,400 文字)
【請求項2】
前記第1接着部材と前記第2接着部材の少なくとも一方は、少なくとも一部が両面テープにより構成される、
請求項1に記載の太陽光パネル。
【請求項3】
水勾配を有する設置対象物に設置される太陽光パネルと面接触する2以上の太陽光パネル支持部材であって、
前記太陽光パネルと前記太陽光パネル支持部材との間の隙間を塞ぐ帯状の接着部材と、
前記太陽光パネル支持部材と前記設置対象物とを接合する接合部材と、
を備える太陽光パネル支持部材。
【請求項4】
水勾配を有する設置対象物に設置される太陽光パネルの大きさに関する情報を少なくとも含む、当該太陽光パネルの仕様に関するパネル仕様情報を取得するパネル仕様取得手段と、
取得された前記パネル仕様情報に基づいて、前記太陽光パネルと前記設置対象物との間で水勾配方向に延在するように配置される複数の帯状の接着部材の施工の態様に関する施工態様情報を生成する生成手段と、
を有する太陽光パネル設置支援システム。
【請求項5】
前記パネル仕様取得手段は、前記太陽光パネルの重さに関する情報を前記パネル仕様情報としてさらに取得する、
請求項4に記載の太陽光パネル設置支援システム。
【請求項6】
前記パネル仕様取得手段は、前記太陽光パネルと前記設置対象物との間に配置される、当該太陽光パネルを支持する太陽光パネル支持部材の剛性に関する情報を、前記パネル仕様情報としてさらに取得する、
請求項4に記載の太陽光パネル設置支援システム。
【請求項7】
前記パネル仕様取得手段は、前記パネル仕様情報として、前記太陽光パネルの最大曲げ角度を少なくとも含む、当該太陽光パネルの柔軟性に関する情報を取得し、
前記生成手段は、前記柔軟性に関する情報から特定される、前記太陽光パネルの設置場所の耐積雪量を含む前記施工態様情報を生成する、
請求項4に記載の太陽光パネル設置支援システム。
【請求項8】
前記太陽光パネルを前記設置対象物に設置する施工の施工条件に関する施工条件情報を取得する施工条件取得手段をさらに有し、
前記生成手段は、取得された前記施工条件情報にさらに基づいて、前記施工態様情報を生成する、
請求項4に記載の太陽光パネル設置支援システム。
【請求項9】
前記施工条件取得手段は、前記施工条件情報として、前記設置対象物の形状を少なくとも含む当該設置対象物の仕様に関する設置対象物仕様情報をさらに取得し、
前記生成手段は、前記施工条件情報として取得された前記設置対象物仕様情報に基づいて、前記設置対象物の仕様を考慮した前記施工態様情報を生成する、
請求項8に記載の太陽光パネル設置支援システム。
【請求項10】
前記太陽光パネルのユーザが希望する、当該太陽光パネルを利用した太陽光発電の最大発電量に関する希望発電量情報を取得する希望発電量取得手段をさらに有し、
前記生成手段は、取得された前記希望発電量情報にさらに基づいて、前記施工態様情報を生成する、
請求項4に記載の太陽光パネル設置支援システム。
(【請求項11】以降は省略されています)
発明の詳細な説明
【技術分野】
【0001】
本発明は、太陽光パネル、太陽光パネル支持部材、太陽光パネル設置支援システム及び太陽光パネル設置方法に関する。
続きを表示(約 1,400 文字)
【背景技術】
【0002】
太陽電池パネルを屋根に接着するための帯状の接着剤が、屋根の水上から水下の方向に沿って延在し、屋根の水平方向に間隔をおいて複数配置されている太陽電池パネルが提案されている(特許文献1参照)。
【先行技術文献】
【特許文献】
【0003】
特開2022-76585号公報
【発明の概要】
【発明が解決しようとする課題】
【0004】
水勾配方向の水上側から水下側に流れる雨水を、太陽光パネルと屋根との隙間に侵入させないようにする仕組みは提案されていない。水勾配とは、水が流れるように設けられた傾斜である。また、構造上、太陽光パネルと屋根との隙間が大きくなってしまう屋根や、ビニルハウスなど十分な広さの接着面を確保することが困難な構造物に、太陽光パネルを安定的に設置する仕組みは提案されていない。
【0005】
本発明は、このような状況に鑑みてなされたものであり、太陽光パネルを設置する施工者の作業負担を軽減化させることを目的とする。
【課題を解決するための手段】
【0006】
上記目的を達成するため、本発明の一態様は、水勾配を有する設置対象物に設置される太陽光パネルであって、前記太陽光パネルと前記設置対象物との間には、当該太陽光パネルと当該設置対象物とを接着する接着部材として、前記太陽光パネルの水勾配方向の水上側の端縁部にて水勾配方向に対して直交する方向に延在する帯状の第1接着部材と、水勾配方向に延在する複数の帯状の第2接着部材と、が配置されており、前記第1接着部材及び前記第2接着部材により、前記太陽光パネルの水勾配方向の水下側の端縁部と前記設置対象物との間の隙間が保持される、太陽光パネルである。
【0007】
また、上記目的を達成するため、本発明の一態様は、水勾配を有する設置対象物に設置される太陽光パネルと面接触する2以上の太陽光パネル支持部材であって、前記太陽光パネルと前記太陽光パネル支持部材との間の隙間を塞ぐ帯状の接着部材と、前記太陽光パネル支持部材と前記設置対象物とを接合する接合部材と、を備える太陽光パネル支持部材である。
【0008】
また、上記目的を達成するため、本発明の一態様は、水勾配を有する設置対象物に設置される太陽光パネルの大きさに関する情報を少なくとも含む、当該太陽光パネルの仕様に関するパネル仕様情報を取得するパネル仕様取得手段と、取得された前記パネル仕様情報に基づいて、前記太陽光パネルと前記設置対象物との間で水勾配方向に延在するように配置される複数の帯状の接着部材の施工の態様に関する施工態様情報を生成する生成手段と、を有する太陽光パネル設置支援システムである。
【0009】
また、本発明の一態様の上記太陽光パネル及び太陽光パネル支持部材の各々に対応する太陽光パネル設置方法も、本発明の一態様の太陽光パネル及び太陽光パネル支持部材の各々に対応する太陽光パネル設置方法として提供される。
【発明の効果】
【0010】
本発明によれば、太陽光パネルを設置する施工者の作業負担を軽減化できる。
【図面の簡単な説明】
(【0011】以降は省略されています)
この特許をJ-PlatPat(特許庁公式サイト)で参照する
関連特許
株式会社電巧社
試験装置及び試験方法
25日前
株式会社電巧社
太陽光パネル、太陽光パネル支持部材、太陽光パネル設置支援システム及び太陽光パネル設置方法
2か月前
個人
接合構造
1か月前
個人
タッチミー
1か月前
個人
屋台
2か月前
個人
野良猫ハウス
2か月前
個人
安心補助てすり
1か月前
個人
転落防止用手摺
2か月前
個人
フェンス
3か月前
個人
居住車両用駐車場
2か月前
ニチハ株式会社
建築板
3か月前
個人
ベンリナアングル
1か月前
積水樹脂株式会社
柵体
2か月前
個人
筋交自動設定装置
2か月前
個人
熱抵抗多層断熱建材
2か月前
個人
補強部材
2か月前
個人
柵
3か月前
鹿島建設株式会社
壁体
3か月前
個人
身体用シェルター
2か月前
個人
身体用シェルター
2か月前
株式会社シンケン
住宅
1か月前
個人
防災建築物
1か月前
成友建設株式会社
建物
2か月前
株式会社大林組
接合構造
1か月前
三洋工業株式会社
床構造
1か月前
株式会社熊谷組
床構成材
1か月前
三協立山株式会社
構造体
22日前
株式会社熊谷組
吊り治具
1か月前
個人
可搬型供養墓
1か月前
イワブチ株式会社
組立柱
2か月前
株式会社熊谷組
木質材料
2か月前
三協立山株式会社
構造体
17日前
三協立山株式会社
構造体
1か月前
三協立山株式会社
構造体
2か月前
インターマン株式会社
天井構造
3か月前
三協立山株式会社
構造体
2か月前
続きを見る
他の特許を見る