TOP
|
特許
|
意匠
|
商標
特許ウォッチ
Twitter
他の特許を見る
10個以上の画像は省略されています。
公開番号
2025127115
公報種別
公開特許公報(A)
公開日
2025-09-01
出願番号
2024023647
出願日
2024-02-20
発明の名称
測定装置、測定方法及びプログラム
出願人
日置電機株式会社
代理人
弁理士法人後藤特許事務所
主分類
G01N
15/08 20060101AFI20250825BHJP(測定;試験)
要約
【課題】粉体の特性評価を適切に行う。
【解決手段】測定装置100は、粉体Pのインピーダンスと粉体Pの空隙率との関係を示す情報を保持する保持部として記憶部61を備える。そして測定装置100は、粉体Pが収容される収容孔31aが設けられるダイ30と、収容孔31aに挿入され粉体Pを挟む一対の電極部40a,40bと、一対の電極部40a,40bに粉体Pを圧縮する高負荷の加圧力を付与する加圧部50と、一対の電極に対し交流又は直流の電気信号を供給して粉体Pのインピーダンスを測定する測定部60と、を備える。さらに測定装置100は、測定部60が粉体Pのインピーダンスを測定すると、記憶部60に保持された情報を参照して、測定されたインピーダンスに関係付けられた空隙率を演算する処理部70を備える。
【選択図】図9
特許請求の範囲
【請求項1】
粉体を測定する測定装置であって、
粉体のインピーダンスと前記粉体の空隙率との関係を示す情報を保持する保持部と、
前記粉体が収容される収容孔が設けられるダイと、
前記収容孔に挿入され前記粉体を挟む一対の電極部と、
前記一対の電極部に前記粉体を圧縮する高負荷の加圧力を付与する加圧部と、
前記一対の電極部に対して交流又は直流の電気信号を供給して前記粉体のインピーダンスを測定する測定部と、
前記測定部が前記粉体のインピーダンスを測定すると、前記情報を参照して、測定されたインピーダンスに関係付けられた前記空隙率を演算する処理部と、
を備える測定装置。
続きを表示(約 1,700 文字)
【請求項2】
請求項1に記載の測定装置であって、
前記一対の電極部の相対変位を測定する変位測定部をさらに備え、
前記処理部は、前記相対変位に基づいて取得される粉体の厚さと前記収容孔の内径とから前記粉体の体積を演算する、
測定装置。
【請求項3】
請求項2に記載の測定装置であって、
前記処理部は、前記粉体の質量及び真密度と演算した前記体積とに基づいて前記粉体の空隙率を算出し、
前記情報は、前記加圧部が前記一対の電極部に付与される圧力を徐々に上げている状態で前記測定部により順次測定される前記インピーダンスと、前記状態で前記処理部により順次算出される前記空隙率と、に基づいて生成される、
測定装置。
【請求項4】
請求項3に記載の測定装置であって、
前記状態において前記インピーダンスと前記空隙率との関係を表示する表示部をさらに備える測定装置。
【請求項5】
請求項1に記載の測定装置であって、
前記加圧部は、前記粉体に対して750Mpa以上の圧力を付与可能に構成される、
測定装置。
【請求項6】
請求項1に記載の測定装置であって、
前記粉体は、固体電解質を含む、
測定装置。
【請求項7】
請求項1に記載の測定装置であって、
前記一対の電極部の相対変位を測定する変位測定部と、
前記処理部は、
前記変位測定部の測定結果を取得するとともに、前記測定部の作動を制御し、
前記粉体を圧縮する前記一対の電極部の相対変位の単位時間あたりの変化量が予め定められる閾値以下となると、前記インピーダンスの測定を開始する信号を前記測定部に送信する、
測定装置。
【請求項8】
測定装置によって粉体を測定する測定方法であって、
粉体のインピーダンスと前記粉体の空隙率との関係を示す情報を保持する工程と、
前記粉体が収容されるダイに設けられる収容孔に前記粉体を収容する工程と、
前記粉体を挟む一対の電極部に高負荷の加圧力を付与して前記粉体を圧縮する工程と、
前記一対の電極部に対して電気信号を供給して前記粉体のインピーダンスを測定する工程と、
前記粉体のインピーダンスが測定されると、前記情報を参照して、測定されたインピーダンスに関係付けられた前記空隙率を演算する工程と、
を備える測定方法。
【請求項9】
請求項8に記載の測定方法であって、
前記一対の電極部の相対変位を測定する変位測定部を補正する工程と、
前記一対の電極部の相対変位から取得される前記粉体の体積と前記粉体の質量及び真密度とから前記粉体の空隙率を演算する工程をさらに備え、
前記情報は、前記一対の電極部に付与される圧力が徐々に上げられている状態で順次測定される前記インピーダンスと、前記状態で順次演算される前記空隙率と、に基づいて生成され、
前記変位測定部を補正する工程では、
前記粉体を挟まずに前記一対の電極部が直接接触した状態において所定の第一荷重を付与した際の前記一対の電極部の相対変位を第一測定結果として取得し、
前記粉体を挟まずに前記一対の電極部が直接接触した状態において前記第一荷重よりも大きい第二荷重を付与した際の前記一対の電極部の相対変位を第二測定結果として取得し、
前記第一測定結果及び前記第二測定結果に基づいて、前記一対の電極部に付与される荷重と前記測定装置の変形量との関係を取得し、
前記空隙率を演算する工程では、前記変位測定部の測定結果から前記荷重が付与された際の前記測定装置の変形量を除いて取得した前記粉体の厚さに基づいて前記粉体の空隙率を演算する、
測定方法。
【請求項10】
請求項8又は請求項9に記載の測定方法を実行するためのプログラム。
発明の詳細な説明
【技術分野】
【0001】
本発明は、測定装置、測定方法及びプログラムに関するものである。
続きを表示(約 2,000 文字)
【背景技術】
【0002】
特許文献1には、各種粉体の体積抵抗率を測定する粉体の抵抗率測定装置が開示されている。この測定装置では、シリンダー内の粉体を漸次圧縮し、各圧縮状態における粉体の厚さを高さゲージによって計測し且つ抵抗値をプローブユニットによって計測することにより、各圧縮状態の粉体の嵩密度に対する体積抵抗率を測定している。
【先行技術文献】
【特許文献】
【0003】
特開2021-179352号公報
【発明の概要】
【発明が解決しようとする課題】
【0004】
上述した粉体の測定装置では、粉体の体積を計測して粉体の体積抵抗率の測定は行われるものの、粉体の空隙率の測定は行われていなかった。また、粉体の特性評価を適切に行うには、製品として利用するために粉体が成形される成形圧が粉体に作用した状態で電気的特性を測定することが望ましい。
【0005】
本発明は、上記の問題点に鑑みてなされたものであり、様々な粉体の空隙率の測定を適切に行うための測定装置、測定方法及びプログラムを提供することを目的とする。
【課題を解決するための手段】
【0006】
本発明のある態様によれば、粉体を測定する測定装置は、粉体のインピーダンスと前記粉体の空隙率との関係を示す情報を保持する保持部と、前記粉体が収容される収容孔が設けられるダイと、前記収容孔に挿入され前記粉体を挟む一対の電極部と、前記一対の電極部に前記粉体を圧縮する高負荷の加圧力を付与する加圧部と、を含む。さらに測定装置は、前記一対の電極部に対して交流又は直流の電気信号を供給して前記粉体のインピーダンスを測定する測定部と、前記測定部が前記粉体のインピーダンスを測定すると、前記情報を参照して、測定されたインピーダンスに関係付けられた空隙率を演算する処理部と、
を備える。
【0007】
また、本発明のある態様によれば、測定装置によって粉体を測定する測定方法は、粉体のインピーダンスと前記粉体の空隙率との関係を示す情報を保持する工程と、前記粉体が収容されるダイに設けられる収容孔に前記粉体を収容する工程と、前記粉体を挟む一対の電極部に高負荷の加圧力を付与して前記粉体を圧縮する工程と、を含む。さらに測定方法は、前記一対の電極部に対して電気信号を供給して前記粉体のインピーダンスを測定する工程と、前記粉体のインピーダンスが測定されると、前記情報を参照して、測定されたインピーダンスに関係付けられた空隙率を演算する工程と、を備える。
【発明の効果】
【0008】
これらの態様では、粉体を圧縮しながらインピーダンス測定を行うことによって粉体の空隙率を取得することができる。また、粉体に対して高負荷の加圧力を付与するため、製品としての成形圧が高い粉体に対しても実際の製品状態に即した状態で電気的特性を測定することができる。したがって、様々な粉体の空隙率の測定を適切に行うことができる。
【図面の簡単な説明】
【0009】
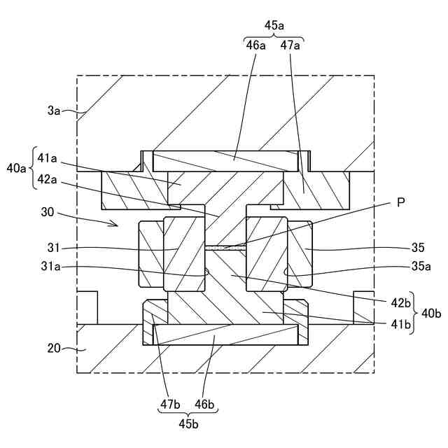
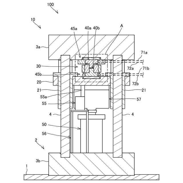
図1は、本発明の実施形態に係る測定装置を示す断面図である。
図2は、本実施形態の測定装置を示すブロック図である。
図3は、本実施形態の測定装置のダイ周辺を示す拡大図である。
図4は、本実施形態の測定方法における補正工程を説明するための測定装置の部分拡大図である。
図5は、本実施形態の測定方法における補正工程を説明するための図であり、横軸にスライダへの荷重、縦軸にスライダの変位を表したグラフ図である。
図6は、本実施形態の測定方法における収容工程を説明するための測定装置の部分拡大図である。
図7は、本実施形態の測定方法におけるトリガー工程を説明するための図であり、横軸に時間、縦軸にスライダの変位を表したグラフ図である。
図8は、本実施形態の測定方法における演算工程を説明するための図であり、横軸に粉体Pの空隙率、縦軸に粉体Pのインピーダンスを表したグラフ図である。
図9は、本実施形態の測定方法を示すフローチャートである。
図10は、本実施形態におけるインピーダンスと空隙率との関係を示す情報の生成方法を示すフローチャートである。
図11は、本実施形態の生成方法を説明するための図であり、横軸に粉体Pの空隙率、縦軸に粉体Pのインピーダンスを表したグラフ図である。
図12は、本実施形態の測定装置の変形例を示す拡大断面図である。
【発明を実施するための形態】
【0010】
以下、図面を参照して、本発明の実施形態に係る測定装置100及び測定方法について説明する。
(【0011】以降は省略されています)
この特許をJ-PlatPat(特許庁公式サイト)で参照する
関連特許
日置電機株式会社
校正方法、測定装置、及びインダクタの検査方法
25日前
日置電機株式会社
測定装置、認証装置、情報処理装置、および認証方法
10日前
日置電機株式会社
分圧回路、測定装置及び基板回路、並びに分圧回路の製造方法
12日前
個人
メジャー文具
26日前
個人
採尿及び採便具
3日前
個人
高精度同時多点測定装置
18日前
個人
アクセサリー型テスター
19日前
日本精機株式会社
位置検出装置
1か月前
株式会社ミツトヨ
測定器
9日前
ユニパルス株式会社
ロードセル
25日前
日本精機株式会社
位置検出装置
1か月前
日本精機株式会社
位置検出装置
1か月前
アズビル株式会社
電磁流量計
12日前
アズビル株式会社
圧力センサ
1か月前
株式会社チノー
放射光測温装置
25日前
エイブリック株式会社
磁気センサ回路
1か月前
ダイキン工業株式会社
監視装置
23日前
株式会社ヨコオ
ソケット
24日前
トヨタ自動車株式会社
監視装置
24日前
株式会社ヨコオ
ソケット
25日前
TDK株式会社
ガスセンサ
25日前
TDK株式会社
ガスセンサ
1か月前
大和製衡株式会社
組合せ計量装置
6日前
愛知電機株式会社
軸部材の外観検査装置
6日前
個人
システム、装置及び実験方法
12日前
株式会社東芝
重量測定装置
1か月前
ローム株式会社
半導体装置
17日前
愛知時計電機株式会社
ガスメータ
9日前
ローム株式会社
半導体装置
17日前
TDK株式会社
磁気センサ
24日前
大和製衡株式会社
組合せ計量装置
6日前
TDK株式会社
ガスセンサ
1か月前
長崎県
形状計測方法
19日前
日本特殊陶業株式会社
センサ
23日前
TDK株式会社
電磁波センサ
25日前
日本特殊陶業株式会社
センサ
23日前
続きを見る
他の特許を見る