TOP
|
特許
|
意匠
|
商標
特許ウォッチ
Twitter
他の特許を見る
10個以上の画像は省略されています。
公開番号
2025119337
公報種別
公開特許公報(A)
公開日
2025-08-14
出願番号
2024014187
出願日
2024-02-01
発明の名称
壁体の構築方法
出願人
鹿島建設株式会社
代理人
個人
主分類
E04H
7/18 20060101AFI20250806BHJP(建築物)
要約
【課題】目地の充填材を充填する際の型枠を固定でき、且つ壁体の片側における工事等との干渉を極力避けることのできる壁体の構築方法等を提供する。
【解決手段】コンクリート製のブロック本体11と、ブロック本体11の片面に設けられ、ブロック本体11から上方に突出するプレート12と、を具備するプレキャストブロック10を上下に積層し、プレート12を型枠として用い、上下のプレキャストブロック10の間に充填材を充填して目地2を形成することで下から上へと順に防液堤を構築する。上段のプレキャストブロック10は、ブロック本体11の片面に埋設した取付部13に固定治具20の上部を取り付けた状態で吊り降ろして下段のプレキャストブロック10の上に配置され、充填材の充填時に、プレート12を固定治具20の下部によって固定し、目地2の形成後に、構築済みの防液堤の上から固定治具20を引き上げて撤去する。
【選択図】図3
特許請求の範囲
【請求項1】
コンクリート製のブロック本体と、前記ブロック本体の片面に設けられ、前記ブロック本体から上方に突出するプレートと、を具備するプレキャストブロックを上下に積層し、前記プレートを型枠として用い、上下のプレキャストブロックの間に充填材を充填して目地を形成することで下から上へと順に壁体を構築する壁体の構築方法であって、
上段のプレキャストブロックは、前記ブロック本体の前記片面に埋設した取付部に固定治具の上部を取り付けた状態で吊り降ろして下段のプレキャストブロックの上に配置され、
前記充填材の充填時に、前記プレートを前記固定治具によって固定し、
前記目地の形成後に、構築済みの前記壁体の上から前記固定治具を引き上げて撤去することを特徴とする壁体の構築方法。
続きを表示(約 1,300 文字)
【請求項2】
前記プレートを前記固定治具によって固定する際、押付具を用いて前記固定治具を前記プレート側に押し付け、
前記目地の形成後に、構築済みの前記壁体の上から前記押付具を引き上げて撤去することを特徴とする請求項1に記載の壁体の構築方法。
【請求項3】
前記取付部は箱状の部材であり、前記ブロック本体の前記片面側に位置する前面に凸状の開口を有し、
前記固定治具は、
前記開口の上部に通して配置される水平部と、前記プレートを固定するための鉛直部と、を有する上下反転L字状の治具本体と、
前記水平部の先端に前記水平部と平面視で直交するように設けられ、前記取付部の内部空間に配置されて前記前面に係止する係止部と、
前記治具本体から上方に突出する突出部と、
を有し、
前記押付具は前記突出部と前記ブロック本体の間に配置されることを特徴とする請求項2記載の壁体の構築方法。
【請求項4】
前記押付具はくさびであり、
前記突出部は、上方に行くにつれ前記ブロック本体から離れるように傾斜することを特徴とする請求項3記載の壁体の構築方法。
【請求項5】
前記押付具は弾性体であり、その復元力により前記固定治具を前記プレート側に押し付けることを特徴とする請求項3記載の壁体の構築方法。
【請求項6】
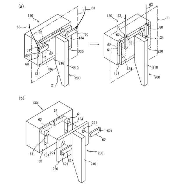
前記固定治具は、取付具を用いて前記取付部に取り付けられ、
前記目地の形成後に、構築済みの前記壁体の上から前記取付具を引き上げて撤去することを特徴とする請求項1に記載の壁体の構築方法。
【請求項7】
前記取付部は箱状の部材であり、前記ブロック本体の前記片面側に位置する前面に長孔を有し、
前記固定治具は、前記前面に沿って配置される鉛直板を上部に有し、
前記取付具は、前記長孔と前記鉛直板の孔に通される軸部の両端に、前記軸部と直交する方向に延びるアームを設けた部材であり、
前記取付部側のアームが前記前面に係止され、前記鉛直板が前記鉛直板側の前記アームに係止されることで、前記固定治具が前記取付部に取り付けられ、
前記取付具を撤去する際、構築済みの前記壁体の上から前記鉛直板側の前記アームを引き上げて前記軸部の両端のアームを鉛直面内で回転させ、前記取付部側のアームの延伸方向を前記長孔に合わせて当該アームを前記長孔から抜き取ることを特徴とする請求項6記載の壁体の構築方法。
【請求項8】
前記取付部は箱状の部材の内部空間にブラケットを設けたものであり、前記ブロック本体の前記片面側に位置する前面に開口を有し、
前記固定治具は、前記開口から前記内部空間に挿入されてブラケットと重なるように配置される張出部を有し、
前記取付具は、前記張出部と前記ブラケットに通されたピンであり、
前記取付具を撤去する際、構築済みの前記壁体の上から前記ピンを引っ張って当該ピンを前記張出部と前記ブラケットから抜き取ることを特徴とする請求項6記載の壁体の構築方法。
発明の詳細な説明
【技術分野】
【0001】
本発明は、壁体の構築方法に関する。
続きを表示(約 1,600 文字)
【背景技術】
【0002】
コンクリート製のプレキャストブロックを上下に配置して壁体を構築することがある。例えば特許文献1、2には、LNG(Liquefied Natural Gas;液化天然ガス)タンクの防液堤の施工の例として、コンクリート製のプレキャストブロックを上下に配置し、上下のプレキャストブロックの間に充填材を充填して目地を形成するものが記載されている。
【先行技術文献】
【特許文献】
【0003】
特許5837118号
特許5837130号
【発明の概要】
【発明が解決しようとする課題】
【0004】
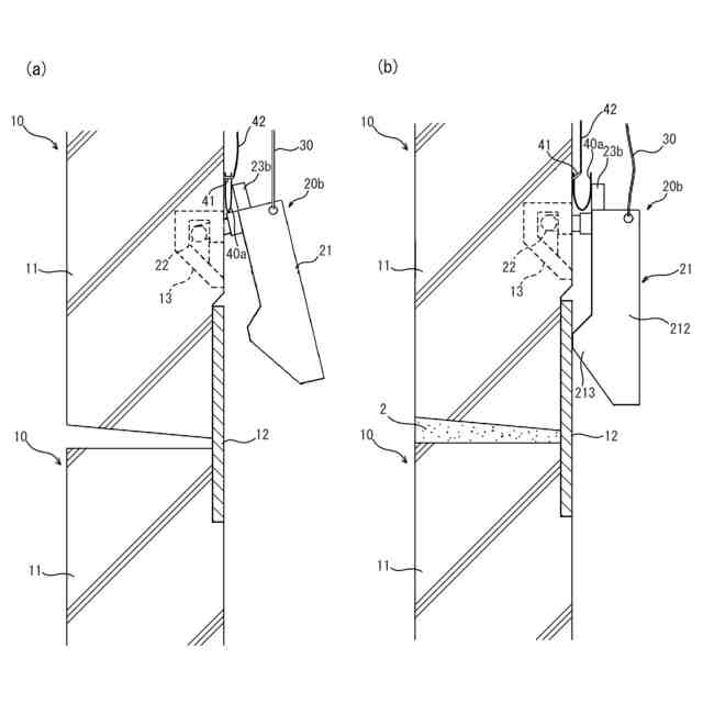
特許文献1、2では、充填材を充填する際の内型枠として、プレキャストブロックに予め取り付けたプレートを用いている。このプレートが充填材の充填時に防液堤の内側にたわむと、充填材の内側への漏れが生じる恐れがある。
【0005】
これを防止するため、防液堤の内側にプレートの固定治具を設けることが考えられる。しかしながら、固定治具は防液堤の内面の凸部となり、防液堤の内側での設備工事(例えば鋼製屋根のエアレイジング)の支障となる。
【0006】
固定治具を目地の形成後に撤去するとしても、通常、固定治具の撤去のためには防液堤の内側に足場設備が必要となり、防液堤の内側での設備工事と干渉する。当該設備工事は機械工事となり、防液堤の工事(土木工事)とは工種が異なるため、工期短縮の観点からは、固定治具に関する作業を、防液堤の内側での設備工事と極力干渉しないように行うことが望ましい。
【0007】
本発明は上記の課題に鑑みてなされたものであり、目地の充填材を充填する際の型枠を固定でき、且つ壁体の片側における工事等との干渉を極力避けることのできる壁体の構築方法等を提供することを目的とする。
【課題を解決するための手段】
【0008】
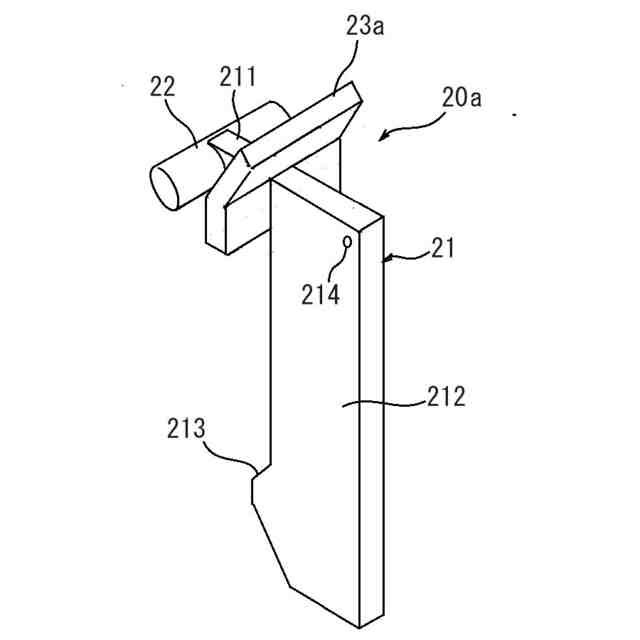
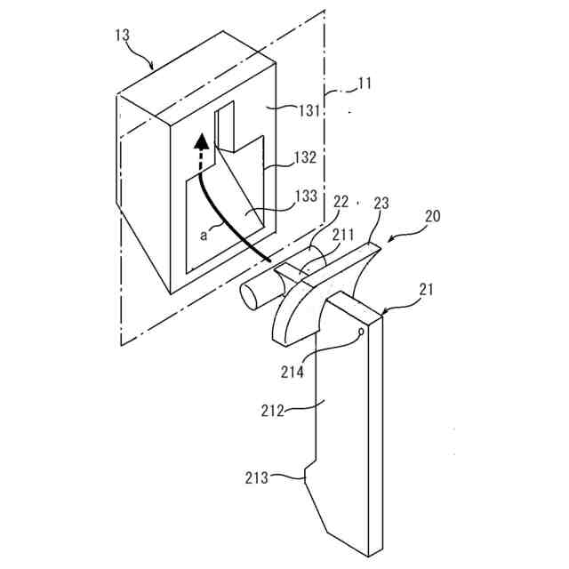
前述した課題を解決するための本発明は、コンクリート製のブロック本体と、前記ブロック本体の片面に設けられ、前記ブロック本体から上方に突出するプレートと、を具備するプレキャストブロックを上下に積層し、前記プレートを型枠として用い、上下のプレキャストブロックの間に充填材を充填して目地を形成することで下から上へと順に壁体を構築する壁体の構築方法であって、上段のプレキャストブロックは、前記ブロック本体の前記片面に埋設した取付部に固定治具の上部を取り付けた状態で吊り降ろして下段のプレキャストブロックの上に配置され、前記充填材の充填時に、前記プレートを前記固定治具によって固定し、前記目地の形成後に、構築済みの前記壁体の上から前記固定治具を引き上げて撤去することを特徴とする壁体の構築方法である。
【0009】
本発明によれば、プレートを片側の型枠として用い、上下のブロックの間に充填材を充填して目地を形成する際に、固定治具を用いてプレートを固定し、充填材の充填時の変形を防止することができる。また固定治具は目地の形成後に撤去することで、固定治具が壁体の片側での工事等の支障となるのを防止できる。固定治具の撤去作業は構築済みの壁体の上から固定治具を引き上げることで行われるので、壁体の片側での工事等と干渉することもない。
【0010】
前記プレートを前記固定治具によって固定する際、押付具を用いて前記固定治具を前記プレート側に押し付け、前記目地の形成後に、構築済みの前記壁体の上から前記押付具を引き上げて撤去することが望ましい。
上記の押付具によりプレートの変形を確実に防止することができる。また押付具も、固定治具と同様に、構築済みの壁体の上から引き上げて撤去できる。
(【0011】以降は省略されています)
この特許をJ-PlatPat(特許庁公式サイト)で参照する
関連特許
他の特許を見る