TOP
|
特許
|
意匠
|
商標
特許ウォッチ
Twitter
他の特許を見る
10個以上の画像は省略されています。
公開番号
2025111999
公報種別
公開特許公報(A)
公開日
2025-07-31
出願番号
2024005988
出願日
2024-01-18
発明の名称
フォークリフトの荷役制御装置
出願人
株式会社豊田自動織機
代理人
個人
,
個人
,
個人
,
個人
主分類
B66F
9/24 20060101AFI20250724BHJP(巻上装置;揚重装置;牽引装置)
要約
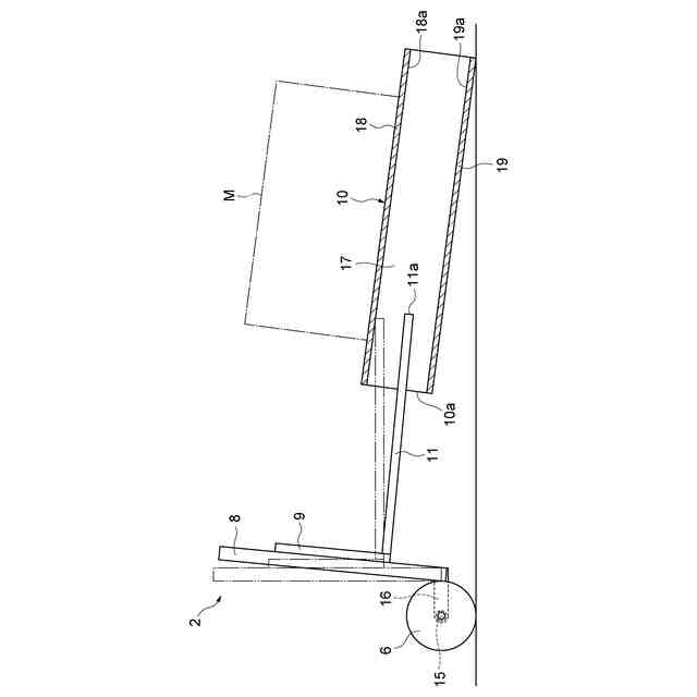
【課題】カウンタ式のフォークリフトにおいて、パレットの傾斜の有無に関わらず、パレットのパレット孔にフォークを適切に差し込むことができるフォークリフトの荷役制御装置を提供する。
【解決手段】荷役制御装置1は、フォーク11をパレット10のパレット孔17に差し込むように走行用駆動部28を制御する差込走行制御部36と、フォーク11の先端11aがパレット孔17に差し込まれた後、先端11aがパレット10の上壁部18及び下壁部19に近接したかどうかを検知する近接判定部39と、先端11aが上壁部18及び下壁部19に近接したことが検知されたときに、フォーク11が内壁面18a,19aに倣う方向にマスト8と一緒に傾動するようにティルトシリンダ13を制御すると共に、マスト8の傾動によりマスト8が上下動する方向とは反対の方向にフォーク11が昇降するようにリフトシリンダ12を制御するフォーク動作制御部40とを備える。
【選択図】図1
特許請求の範囲
【請求項1】
マストに取り付けられたフォークを昇降させるリフトシリンダと前記マストを傾動させることで前記フォークを傾動させるティルトシリンダとを有するフォークリフトの荷役制御装置であって、
前記フォークリフトを走行させることで前記フォークをパレットのパレット孔に差し込むように前記フォークリフトの走行用駆動部を制御する差込走行制御部と、
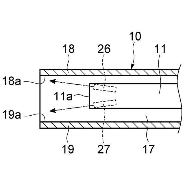
前記フォークの先端が前記パレット孔に差し込まれた後、前記フォークの先端が前記パレットにおいて前記パレット孔を形成する上壁部及び下壁部の何れかに近接したかどうかを検知する近接検知部と、
前記近接検知部により前記フォークの先端が前記上壁部及び前記下壁部の何れかに近接したことが検知されたときに、前記フォークが前記上壁部及び前記下壁部の何れかの内壁面に倣う方向に前記マストと一緒に傾動するように前記ティルトシリンダを制御すると共に、前記マストの傾動により前記マストが上下動する方向とは反対の方向に前記フォークが昇降するように前記リフトシリンダを制御するフォーク動作制御部とを備えるフォークリフトの荷役制御装置。
続きを表示(約 2,500 文字)
【請求項2】
前記フォーク動作制御部は、前記近接検知部により前記フォークの先端が前記上壁部に近接したことが検知されたときは、前記フォークが前記マストと一緒に前傾するように前記ティルトシリンダを制御すると共に、前記マストの前傾により前記マストが下降する距離よりも長い距離だけ前記フォークが上昇するように前記リフトシリンダを制御し、前記近接検知部により前記フォークの先端が前記下壁部に近接したことが検知されたときは、前記フォークが前記マストと一緒に後傾するように前記ティルトシリンダを制御すると共に、前記マストの後傾により前記マストが上昇する距離よりも長い距離だけ前記フォークが下降するように前記リフトシリンダを制御する請求項1記載のフォークリフトの荷役制御装置。
【請求項3】
前記差込走行制御部は、前記近接検知部により前記フォークの先端が前記上壁部及び前記下壁部の何れかに近接したことが検知されたときに、前記フォークリフトの走行を一時停止させるように前記走行用駆動部を制御し、
前記フォーク動作制御部は、前記近接検知部により前記フォークの先端が前記上壁部に近接したことが検知されたときは、前記フォークリフトの走行が一時停止した状態で、前記フォークが前記マストと一緒に前傾するように前記ティルトシリンダを制御すると共に、前記マストの前傾により前記マストが下降する距離よりも長い距離だけ前記フォークが上昇するように前記リフトシリンダを制御し、前記近接検知部により前記フォークの先端が前記下壁部に近接したことが検知されたときは、前記フォークリフトの走行が一時停止した状態で、前記フォークが前記マストと一緒に後傾するように前記ティルトシリンダを制御すると共に、前記マストの後傾により前記マストが上昇する距離よりも長い距離だけ前記フォークが下降するように前記リフトシリンダを制御し、
前記差込走行制御部は、前記フォーク動作制御部の処理が実行された後、前記フォークリフトの走行を再開させるように前記走行用駆動部を制御する請求項2記載のフォークリフトの荷役制御装置。
【請求項4】
前記差込走行制御部は、前記近接検知部により前記フォークの先端が前記上壁部及び前記下壁部の何れかに近接したことが検知されたときに、前記フォークリフトを減速させるように前記走行用駆動部を制御し、
前記フォーク動作制御部は、前記近接検知部により前記フォークの先端が前記上壁部に近接したことが検知されたときは、前記フォークリフトが減速した状態で、前記フォークが前記マストと一緒に前傾するように前記ティルトシリンダを制御すると共に、前記マストの前傾により前記マストが下降する距離よりも長い距離だけ前記フォークが上昇するように前記リフトシリンダを制御し、前記近接検知部により前記フォークの先端が前記下壁部に近接したことが検知されたときは、前記フォークリフトが減速した状態で、前記フォークが前記マストと一緒に後傾するように前記ティルトシリンダを制御すると共に、前記マストの後傾により前記マストが上昇する距離よりも長い距離だけ前記フォークが下降するように前記リフトシリンダを制御し、
前記差込走行制御部は、前記フォーク動作制御部の処理が実行された後、前記フォークリフトの減速を解除するように前記走行用駆動部を制御する請求項2記載のフォークリフトの荷役制御装置。
【請求項5】
前記フォーク動作制御部は、前記近接検知部により前記フォークの先端が前記上壁部に近接したことが検知されたときは、前記フォークリフトが減速した状態で、前記フォークが前記マストと一緒に前傾するように前記ティルトシリンダを制御する処理と、前記マストの前傾により前記マストが下降する距離よりも長い距離だけ前記フォークが上昇するように前記リフトシリンダを制御する処理とを同時に実行し、前記近接検知部により前記フォークの先端が前記下壁部に近接したことが検知されたときは、前記フォークリフトが減速した状態で、前記フォークが前記マストと一緒に後傾するように前記ティルトシリンダを制御する処理と、前記マストの後傾により前記マストが上昇する距離よりも長い距離だけ前記フォークが下降するように前記リフトシリンダを制御する処理とを同時に実行する請求項4記載のフォークリフトの荷役制御装置。
【請求項6】
前記フォークリフトの走行距離を検知する走行距離検知部を更に備え、
前記差込走行制御部は、前記フォークリフトが減速した後の前記フォークリフトの走行距離が予め決められた閾値よりも長いかどうかを判断し、前記フォークリフトが減速した後の前記フォークリフトの走行距離が前記閾値よりも長いときは、前記フォークリフトの走行を一時停止させるように前記走行用駆動部を制御し、前記フォーク動作制御部の処理が実行された後、前記フォークリフトの走行を再開させるように前記走行用駆動部を制御する請求項4記載のフォークリフトの荷役制御装置。
【請求項7】
前記フォーク動作制御部は、前記近接検知部により前記フォークの先端が前記上壁部に近接したことが検知されたときは、前記近接検知部により前記フォークの先端が前記上壁部に近接していないことが検知されるまで、前記フォークが前記マストと一緒に一定量ずつ前傾するように前記ティルトシリンダを制御すると共に、前記フォークが一定量ずつ上昇するように前記リフトシリンダを制御し、前記近接検知部により前記フォークの先端が前記下壁部に近接したことが検知されたときは、前記近接検知部により前記フォークの先端が前記下壁部に近接していないことが検知されるまで、前記フォークが前記マストと一緒に一定量ずつ後傾するように前記ティルトシリンダを制御すると共に、前記フォークが一定量ずつ下降するように前記リフトシリンダを制御する請求項2記載のフォークリフトの荷役制御装置。
発明の詳細な説明
【技術分野】
【0001】
本発明は、フォークリフトの荷役制御装置に関する。
続きを表示(約 2,800 文字)
【背景技術】
【0002】
フォークリフトの荷役制御装置としては、例えば特許文献1に記載されている技術が知られている。特許文献1に記載の荷役制御装置は、フォークの差込部とパレットの差込孔の対向面との距離が所定値以下であるかどうかを検出するセンサと、このセンサにより差込部と差込孔の対向面との距離が所定値以下となるまで差込部が対向面に近づいたことが検出されると、移動装置を停止させる停止処理を実行した後、傾動装置及び昇降装置を制御することにより、差込孔の入口に対する差込部の高さ位置が変化しないように差込孔の対向面から差込部を離す回避処理を実行する制御装置とを備えている。
【先行技術文献】
【特許文献】
【0003】
特開2023-57735号公報
【発明の概要】
【発明が解決しようとする課題】
【0004】
上記従来技術においては、パレットの荷取りを行う際に、パレットの差込孔(パレット孔)の入口におけるフォークの高さ位置を変化させないように、フォークの傾動(ティルト)制御によるフォークの高さ位置の変動をフォークの昇降制御により相殺している。しかし、上記従来技術のフォークリフトは、フォークがマストに対して傾動するリーチ式のフォークリフトである。マスト自体が傾動するカウンタ式のフォークリフトにおいても、パレットの傾斜の有無に関わらず、パレットのパレット孔にフォークを適切に差し込むことが望まれている。
【0005】
本発明の目的は、カウンタ式のフォークリフトにおいて、パレットの傾斜の有無に関わらず、パレットのパレット孔にフォークを適切に差し込むことができるフォークリフトの荷役制御装置を提供することである。
【課題を解決するための手段】
【0006】
(1)本発明の一態様は、マストに取り付けられたフォークを昇降させるリフトシリンダとマストを傾動させることでフォークを傾動させるティルトシリンダとを有するフォークリフトの荷役制御装置であって、フォークリフトを走行させることでフォークをパレットのパレット孔に差し込むようにフォークリフトの走行用駆動部を制御する差込走行制御部と、フォークの先端がパレット孔に差し込まれた後、フォークの先端がパレットにおいてパレット孔を形成する上壁部及び下壁部の何れかに近接したかどうかを検知する近接検知部と、近接検知部によりフォークの先端が上壁部及び下壁部の何れかに近接したことが検知されたときに、フォークが上壁部及び下壁部の何れかの内壁面に倣う方向にマストと一緒に傾動するようにティルトシリンダを制御すると共に、マストの傾動によりマストが上下動する方向とは反対の方向にフォークが昇降するようにリフトシリンダを制御するフォーク動作制御部とを備える。
【0007】
このような荷役制御装置においては、フォークリフトを走行させることでフォークをパレットのパレット孔に差し込むようにフォークリフトの走行用駆動部が制御される。そして、フォークの先端がパレット孔に差し込まれた後、フォークの先端がパレットの上壁部及び下壁部の何れかに近接したかどうかが検知される。フォークの先端がパレットの上壁部及び下壁部の何れかに近接したことが検知されると、フォークがパレットの上壁部及び下壁部の何れかの内壁面に倣う方向にマストと一緒に傾動するようにティルトシリンダが制御されると共に、マストの傾動によりマストが上下動する方向とは反対の方向にフォークが昇降するようにリフトシリンダが制御される。このため、フォークの先端とパレットの上壁部及び下壁部の何れかとの干渉が抑制される。また、マストの傾動に起因してマストが上下動しても、フォークの高さ位置がパレットの高さ方向の中心側に補正されることとなる。これにより、カウンタ式のフォークリフトにおいて、パレットの傾斜の有無に関わらず、パレットのパレット孔にフォークが適切に差し込まれる。
【0008】
(2)上記の(1)において、フォーク動作制御部は、近接検知部によりフォークの先端が上壁部に近接したことが検知されたときは、フォークがマストと一緒に前傾するようにティルトシリンダを制御すると共に、マストの前傾によりマストが下降する距離よりも長い距離だけフォークが上昇するようにリフトシリンダを制御し、近接検知部によりフォークの先端が下壁部に近接したことが検知されたときは、フォークがマストと一緒に後傾するようにティルトシリンダを制御すると共に、マストの後傾によりマストが上昇する距離よりも長い距離だけフォークが下降するようにリフトシリンダを制御してもよい。
【0009】
このような構成では、フォークの先端がパレットの上壁部に近接したことが検知されると、フォークがマストと一緒に前傾すると共に、マストの前傾によりマストが下降する距離よりも長い距離だけフォークが上昇する。フォークの先端がパレットの下壁部に近接したことが検知されると、フォークがマストと一緒に後傾すると共に、マストの後傾によりマストが上昇する距離よりも長い距離だけフォークが下降する。このため、フォークの先端がパレットの上壁部及び下壁部の何れに近接しても、フォークの高さ位置がパレットの高さ方向の中心側に補正されることとなる。従って、パレットの傾斜の有無に関わらず、パレットのパレット孔にフォークがより適切に差し込まれる。
【0010】
(3)上記の(2)において、差込走行制御部は、近接検知部によりフォークの先端が上壁部及び下壁部の何れかに近接したことが検知されたときに、フォークリフトの走行を一時停止させるように走行用駆動部を制御し、フォーク動作制御部は、近接検知部によりフォークの先端が上壁部に近接したことが検知されたときは、フォークリフトの走行が一時停止した状態で、フォークがマストと一緒に前傾するようにティルトシリンダを制御すると共に、マストの前傾によりマストが下降する距離よりも長い距離だけフォークが上昇するようにリフトシリンダを制御し、近接検知部によりフォークの先端が下壁部に近接したことが検知されたときは、フォークリフトの走行が一時停止した状態で、フォークがマストと一緒に後傾するようにティルトシリンダを制御すると共に、マストの後傾によりマストが上昇する距離よりも長い距離だけフォークが下降するようにリフトシリンダを制御し、差込走行制御部は、フォーク動作制御部の処理が実行された後、フォークリフトの走行を再開させるように走行用駆動部を制御してもよい。
(【0011】以降は省略されています)
この特許をJ-PlatPat(特許庁公式サイト)で参照する
関連特許
株式会社豊田自動織機
解繊機
5日前
株式会社豊田自動織機
障害物検出装置
5日前
株式会社豊田自動織機
蓄電モジュール製造方法
1日前
株式会社豊田自動織機
内燃機関の制御装置および内燃機関の失火異常検出方法
5日前
株式会社豊田中央研究所
二酸化炭素回収システム
1日前
個人
自走手摺
4か月前
個人
転落防止階段
1か月前
個人
小型クレーン
1か月前
ユニパルス株式会社
吊具
6か月前
個人
海上コンテナ昇降装置
12か月前
ユニパルス株式会社
荷役装置
11か月前
株式会社いうら
車椅子用昇降機
4か月前
株式会社豊田自動織機
荷役車両
11か月前
株式会社豊田自動織機
荷役車両
10か月前
株式会社豊田自動織機
産業車両
3か月前
ユニパルス株式会社
リフト装置
6か月前
水戸工業株式会社
吊り具
8か月前
愛知製鋼株式会社
受け架台
3か月前
ユニパルス株式会社
荷役助力装置
6か月前
大栄産業株式会社
クランプ
6か月前
ユニパルス株式会社
荷役助力装置
5か月前
ユニパルス株式会社
荷役助力装置
7か月前
株式会社大林組
安全支援システム
3か月前
個人
垂直自動搬送機
3か月前
白山工業株式会社
バランサ
8か月前
個人
エアバック式レスキュー用品
2か月前
株式会社伊藤
滑り止め装置
4か月前
岐阜工業株式会社
運搬台車
1か月前
株式会社ユピテル
システム等
8か月前
個人
アウトリガー用転倒防止ベース
1か月前
株式会社キトー
タイヤ用吊具
7か月前
大和ハウス工業株式会社
吊上具
3か月前
新英運輸株式会社
自動車用台車
7か月前
株式会社キトー
コンテナ吊り具
14日前
株式会社豊田自動織機
フォークリフト
9か月前
フジテック株式会社
エレベータ
10か月前
続きを見る
他の特許を見る