TOP
|
特許
|
意匠
|
商標
特許ウォッチ
Twitter
他の特許を見る
公開番号
2025111050
公報種別
公開特許公報(A)
公開日
2025-07-30
出願番号
2024005199
出願日
2024-01-17
発明の名称
情報処理装置
出願人
トヨタ自動車株式会社
代理人
弁理士法人秀和特許事務所
主分類
G01C
21/26 20060101AFI20250723BHJP(測定;試験)
要約
【課題】地元民に人気のある場所についての情報をより好適に提供する。
【解決手段】車両の目的地を取得することと、車両のユーザの自宅から目的地までの距離を取得することと、この距離が所定距離以下であることに応じて、車両のユーザが地元民であると判定し、この距離が前記所定距離よりも長いことに応じて、車両のユーザが地元民でないと判定し、判定結果を記憶部に記憶させることと、記憶部に記憶されている地元民であると判定した回数及び地元民でないと判定した回数に応じて、目的地が地元民に人気のある場所であるか否か判定することと、目的地が地元民に人気のある場所であると判定したことに応じて、目的地が地元民に人気のある場所であることに関する情報を出力することと、を実行するように構成された制御部を備える。
【選択図】図4
特許請求の範囲
【請求項1】
車両の目的地を取得することと、
前記車両のユーザの自宅から前記目的地までの距離を取得することと、
前記距離が所定距離以下であることに応じて、前記車両のユーザが地元民であると判定し、前記距離が前記所定距離よりも長いことに応じて、前記車両のユーザが前記地元民でないと判定し、判定結果を記憶部に記憶させることと、
前記記憶部に記憶されている前記地元民であると判定した回数及び前記地元民でないと判定した回数に応じて、前記目的地が前記地元民に人気のある場所であるか否か判定することと、
前記目的地が前記地元民に人気のある場所であると判定したことに応じて、前記目的地が前記地元民に人気のある場所であることに関する情報を出力することと、
を実行するように構成された制御部を備える情報処理装置。
続きを表示(約 1,000 文字)
【請求項2】
前記制御部は、
同一の前記地元民が同一の前記目的地を訪問した場合に、訪問した回数に応じた重み付けを行って、前記目的地に対応する前記地元民の訪問回数をカウントすることと、
前記地元民でないユーザが前記目的地を訪問した場合に、訪問した回数に応じた前記重み付けを行わずに、前記目的地に対応する前記地元民以外の訪問回数をカウントすることと、
前記地元民及び前記地元民以外が、前記目的地を訪問した実際の回数をカウントすることと、
カウントした前記地元民の訪問回数とカウントした前記地元民以外の訪問回数との合計値を、カウントした前記実際の回数で除算することにより、前記目的地が前記地元民に人気のある場所である指数を算出することと、
前記指数が、所定値以上であることに応じて、前記目的地が前記地元民に人気のある場所であると判定することと、
を更に実行するように構成された、
請求項1に記載の情報処理装置。
【請求項3】
前記制御部は、
前記目的地に、飲食店が存在するか否か判定することと、
前記目的地に前記飲食店が存在すると判定したことに応じて、前記車両のユーザの自宅から前記目的地までの距離を取得することと、
を更に実行するように構成された、
請求項1に記載の情報処理装置。
【請求項4】
前記制御部は、
前記車両又は前記ユーザの端末からの要求に応じて、前記地元民に人気のある場所に関する情報を、要求のあった前記車両又は前記ユーザの端末に送信すること、
を更に実行するように構成された、
請求項1に記載の情報処理装置。
【請求項5】
前記制御部は、
前記車両のユーザの自宅から前記目的地までの第一ルートを生成することと、
前記距離が前記所定距離以下であることに応じて、前記車両のユーザの自宅から前記目的地まで前記車両が走行した実際のルートである第二ルートを取得することと、
前記第一ルートと、前記第二ルートと、の差を、抜け道として記憶部に記憶させることと、
前記車両に前記抜け道に関する情報を出力することと、
を更に実行するように構成された、
請求項1に記載の情報処理装置。
発明の詳細な説明
【技術分野】
【0001】
本開示は、情報処理装置に関する。
続きを表示(約 1,600 文字)
【背景技術】
【0002】
特許文献1には、ユーザが目的地として施設を設定すると、カーナビゲーション装置が、該施設固有名と、当該施設のジャンル名と、自車ナンバープレートの地域名とを関連付けたユーザ情報を、情報センタにアップロードすることが開示されている。情報センタは、蓄積されたユーザ情報を施設ジャンル名ごと及び地域名ごと分類し当該ジャンルにおける施設固有名と地元人気度とを関係付けて分類している。そして、ユーザは、指定したジャンルにおける施設固有名と当該施設の地元人気度とを含んだ施設情報を取得することができ、地元人気度の高いいわゆる「穴場」情報を容易に得ることができる。
【先行技術文献】
【特許文献】
【0003】
特開2009-092567号公報
【発明の概要】
【発明が解決しようとする課題】
【0004】
本開示の目的は、地元民に人気のある場所についての情報をより好適に提供することにある。
【課題を解決するための手段】
【0005】
本開示の態様の一つは、車両の目的地を取得することと、前記車両のユーザの自宅から前記目的地までの距離を取得することと、前記距離が所定距離以下であることに応じて、前記車両のユーザが地元民であると判定し、前記距離が前記所定距離よりも長いことに応じて、前記車両のユーザが前記地元民でないと判定し、判定結果を記憶部に記憶させることと、前記記憶部に記憶されている前記地元民であると判定した回数及び前記地元民でないと判定した回数に応じて、前記目的地が前記地元民に人気のある場所であるか否か判定することと、前記目的地が前記地元民に人気のある場所であると判定したことに応じて、前記目的地が前記地元民に人気のある場所であることに関する情報を出力することと、を実行するように構成された制御部を備える情報処理装置である。
【0006】
また、本開示の他の態様は、上記の情報処理をコンピュータに実行させる情報処理方法、この情報処理方法をコンピュータに実行させるためのプログラム、及びこのプログラムを非一時的に記憶したコンピュータ可読記憶媒体である。
【発明の効果】
【0007】
本開示によれば、地元民に人気のある場所についての情報をより好適に提供することができる。
【図面の簡単な説明】
【0008】
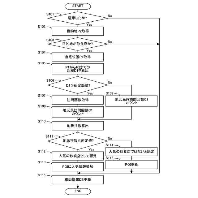
第1実施形態に係るシステムを構成する車両及びサーバのそれぞれの構成の一例を概略的に示すブロック図である。
車両情報DBのテーブル構成を例示した図である。
地元民の判定方法を説明するための図である。
第1実施形態におけるサーバにおいて実行される処理を示したフローチャートである。
第2実施形態におけるサーバにおいて実行される処理を示したフローチャートである。
【発明を実施するための形態】
【0009】
旅行客が観光地を訪れた際に、地元の人(地元民)が普段使う地元民に人気のある店舗に行きたいと望むことがある。例えばグルメサイトや観光情報誌で地元民に人気のある店舗の情報を収集しようとしても、広告料を支払っている店舗が目立つ個所に掲載される場合があり、目当ての店舗を探すことが困難な場合がある。
【0010】
かかる問題を解決するために、本開示では、車両のユーザの自宅から目的地までの距離に応じて、目的地を訪問したユーザが地元民であるか否かを判定する。そして、地元民が比較的多く訪問する目的地は、地元民に人気のある場所であると判定する。そのため、本開示の態様の一つである情報処理装置の制御部は、車両の目的地を取得する。目的地は、車両のナビゲーション装置に入力された目的地であってもよく、自宅以外で車両10が駐車された位置であってもよい。
(【0011】以降は省略されています)
この特許をJ-PlatPat(特許庁公式サイト)で参照する
関連特許
トヨタ自動車株式会社
電池
11日前
トヨタ自動車株式会社
車両
1か月前
トヨタ自動車株式会社
車両
1か月前
トヨタ自動車株式会社
治具
1か月前
トヨタ自動車株式会社
車両
1か月前
トヨタ自動車株式会社
車両
1か月前
トヨタ自動車株式会社
車両
1か月前
トヨタ自動車株式会社
電池
1か月前
トヨタ自動車株式会社
車両
1か月前
トヨタ自動車株式会社
車体
1か月前
トヨタ自動車株式会社
電池
1か月前
トヨタ自動車株式会社
方法
1か月前
トヨタ自動車株式会社
電池
25日前
トヨタ自動車株式会社
配管
20日前
トヨタ自動車株式会社
車両
20日前
トヨタ自動車株式会社
電池
19日前
トヨタ自動車株式会社
車両
19日前
トヨタ自動車株式会社
車両
5日前
トヨタ自動車株式会社
電池
11日前
トヨタ自動車株式会社
方法
1か月前
トヨタ自動車株式会社
方法
4日前
トヨタ自動車株式会社
方法
1か月前
トヨタ自動車株式会社
車両
1か月前
トヨタ自動車株式会社
車両
1か月前
トヨタ自動車株式会社
方法
1か月前
トヨタ自動車株式会社
方法
1か月前
トヨタ自動車株式会社
車両
1か月前
トヨタ自動車株式会社
電動機
1か月前
トヨタ自動車株式会社
電動車
20日前
トヨタ自動車株式会社
ロータ
20日前
トヨタ自動車株式会社
自動車
1か月前
トヨタ自動車株式会社
電動車
19日前
トヨタ自動車株式会社
モータ
1か月前
トヨタ自動車株式会社
蓄電池
1か月前
トヨタ自動車株式会社
タンク
4日前
トヨタ自動車株式会社
正極層
1か月前
続きを見る
他の特許を見る