TOP
|
特許
|
意匠
|
商標
特許ウォッチ
Twitter
他の特許を見る
公開番号
2025109500
公報種別
公開特許公報(A)
公開日
2025-07-25
出願番号
2024003429
出願日
2024-01-12
発明の名称
車両構造
出願人
トヨタ自動車株式会社
代理人
弁理士法人太陽国際特許事務所
主分類
B60N
2/07 20060101AFI20250717BHJP(車両一般)
要約
【課題】車室内の快適性を確保しつつ、車両用シートのスライド量を増加させることができる車両構造をえる。
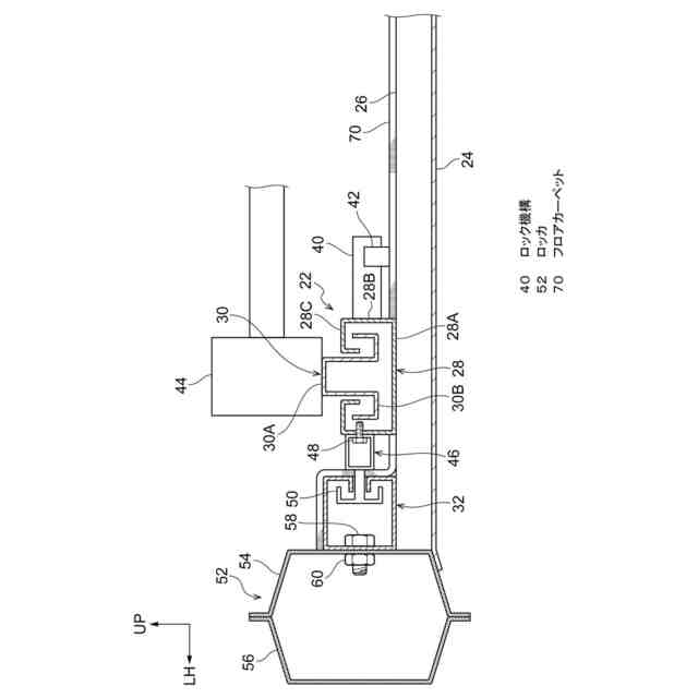
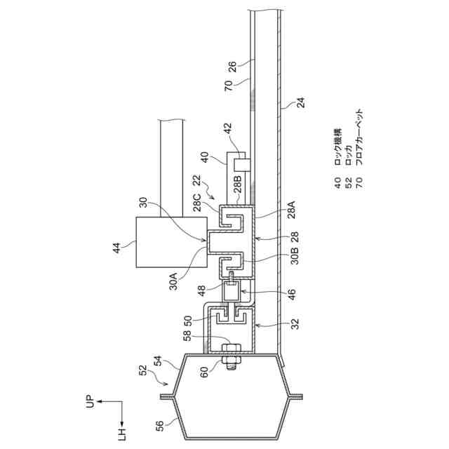
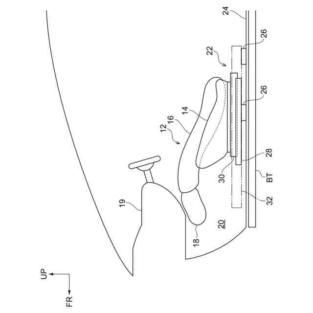
【解決手段】車両構造は、バッテリの上方に配設されて車室の床面を構成するフロアパネル24と、フロアパネル24上に設けられて車両幅方向に延在したクロスメンバ26と、クロスメンバ26上に設けられたロアレール28と、ロアレール28に対して車両前後方向にスライド可能に支持されたアッパレール30とを含んで構成されると共に車両用シートを支持するシートレール22と、シートレール22の車両幅方向外側に配設されると共に、シートレール22よりも車両前方まで延在し、ロアレール28が車両前後方向に移動可能に係合された延長レール30と、を有する。
【選択図】図3
特許請求の範囲
【請求項1】
バッテリの上方に配設されて車室の床面を構成するフロアパネルと、
前記フロアパネル上に設けられて車両幅方向に延在したクロスメンバと、
前記クロスメンバ上に設けられたロアレールと、当該ロアレールに対して車両前後方向にスライド可能に支持されたアッパレールとを含んで構成されると共に車両用シートを支持するシートレールと、
前記シートレールの車両幅方向外側に配設されると共に、前記シートレールよりも車両前方まで延在し、前記ロアレールが車両前後方向に移動可能に係合された延長レールと、
を有する車両構造。
続きを表示(約 350 文字)
【請求項2】
車両幅方向端部を車両前後方向に延在するロッカを備え、
前記延長レールが前記ロッカに固定されている、請求項1に記載の車両構造。
【請求項3】
前記ロアレールは、ロック機構を介して前記クロスメンバに固定されており、
前記車両用シートの非使用時に前記ロック機構によるロック状態が解除される、請求項1に記載の車両構造。
【請求項4】
前記クロスメンバ及び前記延長レールは、フロアカーペットによって覆われている、請求項1に記載の車両構造。
【請求項5】
前記シートレール及び前記延長レールは、助手席側に設けられており、
前記延長レールは、インストルメントパネルの下方まで延在している、請求項1に記載の車両構造。
発明の詳細な説明
【技術分野】
【0001】
本発明は、車両構造に関する。
続きを表示(約 1,400 文字)
【背景技術】
【0002】
特許文献1には、フロアパネルの下方にロングスライドレールを設けた構造が開示されている。具体的には、スライドレールを支持する第1フロアと、第1フロアよりも上方に設けられた第2フロアを備えたことで、スライドレールがフロアパネルに埋め込まれた構造となり、車室の床面を平坦にしている。また、スライドレールは、車室の前端から後端まで延在している。
【先行技術文献】
【特許文献】
【0003】
国際公開第2023/068307号
【発明の概要】
【発明が解決しようとする課題】
【0004】
しかしながら、フロアパネルの下方にバッテリが搭載された電動車の場合、スライドレールを埋め込む構造を採用すれば、車室内の空間が狭くなり、快適性を損なう可能性がある。
【0005】
本発明は、車室内の快適性を確保しつつ、車両用シートのスライド量を増加させることができる車両構造を得ることを目的とする。
【課題を解決するための手段】
【0006】
請求項1に係る車両構造は、バッテリの上方に配設されて車室の床面を構成するフロアパネルと、前記フロアパネル上に設けられて車両幅方向に延在したクロスメンバと、前記クロスメンバ上に設けられたロアレールと、当該ロアレールに対して車両前後方向にスライド可能に支持されたアッパレールとを含んで構成されると共に車両用シートを支持するシートレールと、前記シートレールの車両幅方向外側に配設されると共に、前記シートレールよりも車両前方まで延在し、前記ロアレールが車両前後方向に移動可能に係合された延長レールと、を有する。
【0007】
請求項1に係る車両構造では、バッテリの上方にフロアパネルが配設されており、フロアパネルによって車室の床面が構成されている。また、フロアパネル上には、車両幅方向に延在するクロスメンバが設けられている。さらに、クロスメンバ上には車両用シートを支持するシートレールが設けられており、シートレールは、ロアレールと、当該ロアレールに対して車両前後方向にスライド可能に支持されたアッパレールとを含んで構成されている。これにより、ロアレールに対してアッパレールをスライドさせることで、アッパレールと共に車両用シートを前後に移動させることができる。
【0008】
また、シートレールの車両幅方向外側には、シートレールよりも車両前方まで延在した延長レールが配設されており、延長レールには、ロアレールが車両前後方向に移動可能に係合されている。これにより、延長レールに沿ってロアレールを移動させることで、シートレール全体を前後に移動できる。また、延長レールをシートレールの車両幅方向外側に設けることで、シートレールの高さが高くならずに済み、車室内の空間が狭くなるのを抑制できる。
【0009】
請求項2に係る車両構造は、請求項1において、車両幅方向端部を車両前後方向に延在するロッカを備え、前記延長レールが前記ロッカに固定されている。
【0010】
請求項2に係る車両構造では、延長レールがロッカに固定されているため、車両用シートから入力された荷重をロッカへ伝達できる。また、車両の側面衝突時には、ロッカ及び延長レールによって衝突荷重を負担することができる。
(【0011】以降は省略されています)
この特許をJ-PlatPat(特許庁公式サイト)で参照する
関連特許
個人
上部一体型自動車
2か月前
個人
空間形成装置
1か月前
個人
マスタシリンダ
2か月前
日本精機株式会社
照明装置
1か月前
個人
常設収納型サンバイザー
1か月前
日本精機株式会社
車載表示装置
1か月前
日本精機株式会社
車載表示装置
1か月前
日本精機株式会社
車載表示装置
1か月前
日本精機株式会社
画像投映装置
2か月前
日本精機株式会社
車載表示装置
2か月前
個人
回転窓ワイパー装置
1か月前
株式会社豊田自動織機
産業車両
1か月前
日本精機株式会社
車両用表示装置
2か月前
井関農機株式会社
作業車両
2か月前
個人
聴覚と触覚を利用する速度計
4日前
株式会社SUBARU
車両
2か月前
日本精機株式会社
車両用報知装置
1か月前
日本精機株式会社
車両用投影装置
2か月前
個人
音による速度計とプログラム
1か月前
日本精機株式会社
車両用投射装置
2か月前
日本化薬株式会社
ガス発生器
4日前
日本化薬株式会社
ガス発生器
2か月前
日産自動車株式会社
伝動部材
2か月前
エムケー精工株式会社
車両処理装置
2か月前
日本化薬株式会社
ガス発生器
13日前
日本化薬株式会社
ガス発生器
1か月前
日本化薬株式会社
ガス発生器
2か月前
日本化薬株式会社
ガス発生器
2か月前
日本化薬株式会社
ガス発生器
6日前
日本化薬株式会社
ガス発生器
2か月前
豊田合成株式会社
乗員保護装置
4日前
株式会社ヨコオ
車載装置
1か月前
株式会社小糸製作所
車両用灯具
2か月前
豊田合成株式会社
乗員保護装置
2か月前
極東開発工業株式会社
タンク車
1か月前
株式会社小糸製作所
車両用灯具
11日前
続きを見る
他の特許を見る