TOP
|
特許
|
意匠
|
商標
特許ウォッチ
Twitter
他の特許を見る
10個以上の画像は省略されています。
公開番号
2025096555
公報種別
公開特許公報(A)
公開日
2025-06-26
出願番号
2025066164,2024035062
出願日
2025-04-14,2019-11-15
発明の名称
画像読取装置及び画像形成装置
出願人
キヤノン株式会社
代理人
弁理士法人近島国際特許事務所
主分類
B65H
31/36 20060101AFI20250619BHJP(運搬;包装;貯蔵;薄板状または線条材料の取扱い)
要約
【課題】狭い空間でも容易に姿勢変更可能な揺動部材によってシートの整合性を保つ。
【解決手段】シート排出装置は、シートを排出する排出手段と、シートが積載されるシート積載部(100,101)と、シートに当接可能な当接部(506)を有し、排出されるシートのシート排出方向への移動を当接部によって規制する第1位置と、第1位置に比べて当接部が下方に移動した第2位置との間で揺動する揺動部材(102)であって、第2位置にある状態で当接部よりもシート排出方向の上流に位置する揺動軸線を中心に揺動する揺動部材と、シート積載部に設けられた被係合部(602)と、揺動部材の当接部とは反対側の面に設けられ、揺動部材が第1位置にある状態で、被係合部に係合することで揺動部材の第1位置から第2位置への揺動が規制されるように構成された係合部(510)と、を備える。
【選択図】図7
特許請求の範囲
【請求項1】
シートが積載される給送トレイと、
前記給送トレイに積載されたシートを搬送する搬送手段と、
前記搬送手段により搬送されるシートの画像を読み取る読取手段と、
前記読取手段により読み取られたシートをシート排出方向に排出する排出手段と、
前記排出手段によって排出されたシートが積載されるシート積載部と、
を備えた画像読取装置であって、
前記シート積載部は、
鉛直方向において上側から見たときに前記給送トレイと重なるように前記給送トレイの下方に配置され、前記排出手段によって排出されたシートを支持する排出トレイと、
前記排出トレイに対して前記シート排出方向に移動可能、且つ、回動軸を中心に回動可能に設けられた回動部材であって、前記排出トレイに対して起立して、前記排出手段によって排出されるシートの前記シート排出方向への移動を規制する第1位置と、前記第1位置に比べて下方に退避した第2位置との間で回動する回動部材と、
前記排出トレイの上面に前記シート排出方向に延びるように設けられ、前記シート排出方向に直交する幅方向において前記回動部材の両側に配置されたリブと、を有し、
前記回動部材は、前記第1位置に位置するときに前記排出手段によって排出されるシートの先端が当接する当接部を有し、
前記当接部は、前記回動部材が前記シート排出方向に移動可能な範囲の最も上流側で前記第2位置に位置する状態において、前記回動部材の上面に位置し、且つ、前記幅方向から見て前記リブの上面よりも下方に位置する、
ことを特徴とする画像読取装置。
続きを表示(約 1,700 文字)
【請求項2】
前記回動部材は、前記回動部材を前記第2位置から前記第1位置へ移動させる際に下方から押圧される被押圧面を有し、
前記回動部材が前記第2位置に位置する状態において、前記被押圧面と、前記鉛直方向において前記被押圧面と対向する前記シート積載部の面との間に形成される空間を介して、前記シート排出方向の下流側に前記被押圧面が露出する、
ことを特徴とする請求項1に記載の画像読取装置。
【請求項3】
前記排出トレイは、前記鉛直方向において上側から見たときに、前記シート排出方向における前記排出トレイの下流端から上流側に向かって延びる凹形状を有し、
前記回動部材が前記シート排出方向に移動可能な範囲の最も上流側に位置し且つ前記回動部材が前記第2位置に位置する状態において、前記鉛直方向において上側から見たときに前記凹形状の内側に前記回動部材が露出しており、且つ、前記回動部材の全体が前記シート排出方向における前記排出トレイの前記下流端よりも上流側に位置している、
ことを特徴とする請求項1又は2に記載の画像読取装置。
【請求項4】
前記シート積載部は、前記回動部材が回動可能であるように前記回動軸を支持し、前記回動部材と共に前記シート排出方向に移動可能な移動部材を有する、
ことを特徴とする請求項1乃至3のいずれか1項に記載の画像読取装置。
【請求項5】
前記回動部材が前記第1位置に位置する場合に、前記回動部材が前記第2位置へ移動することを規制し、前記回動部材を前記第1位置に保持する保持手段を更に備え、
前記保持手段は、
前記回動部材に設けられ、少なくとも一部が弾性変形可能な材料からなる被当接体と、
前記移動部材に設けられ、前記回動部材が前記第1位置と前記第2位置との間で回動する際に前記被当接体に当接して前記被当接体の前記少なくとも一部を弾性変形させる受け部と、を有する、
ことを特徴とする請求項4に記載の画像読取装置。
【請求項6】
前記被当接体は、前記当接部とは反対側に設けられている、
ことを特徴とする請求項5に記載の画像読取装置。
【請求項7】
前記移動部材は、前記回動部材が前記シート排出方向に移動可能な範囲の最も上流側に位置する第3位置と、前記第3位置よりも前記シート排出方向における下流側の第4位置と、の間においてスライド可能であり、
前記回動部材は、前記移動部材が第3位置にある状態と、前記移動部材が第4位置にある状態と、の両方の状態において、前記第1位置と前記第2位置との間で回動可能である、
ことを特徴とする請求項4乃至6のいずれか1項に記載の画像読取装置。
【請求項8】
前記移動部材は、前記シート排出方向における下流に向かって上方に傾斜した傾斜面を有し、
前記回動部材が前記第1位置にあるときの前記当接部の下端である端部は、前記回動部材が前記第1位置にある状態及び前記第2位置にある状態のそれぞれにおいて、前記シート排出方向において前記傾斜面よりも下流、且つ前記幅方向に見たときに前記傾斜面の延長線よりも下方に位置している、
ことを特徴とする請求項4乃至7のいずれか1項に記載の画像読取装置。
【請求項9】
前記移動部材は、前記第2位置から前記第1位置へ向かう回動方向において前記回動部材が前記第1位置からさらに回動することを規制する回動規制部を有し、
前記回動規制部は、前記シート排出方向において前記傾斜面の下流側に設けられている、
ことを特徴とする請求項8に記載の画像読取装置。
【請求項10】
前記回動軸は、前記第1位置に位置する前記回動部材の下端であり、且つ、前記第2位置に位置する前記回動部材の前記シート排出方向における上流端である位置に設けられている、
ことを特徴とする請求項1乃至9のいずれか1項に記載の画像読取装置。
(【請求項11】以降は省略されています)
発明の詳細な説明
【技術分野】
【0001】
本発明は、シートから画像を読み取る画像読取装置及び記録材に画像を形成する画像形成装置に関する。
続きを表示(約 2,000 文字)
【背景技術】
【0002】
複写機や複合機等の画像形成装置に搭載される画像読取装置は、原稿となるシートを1枚ずつ自動的に給送する自動原稿給送装置(以下、ADF:Auto Document Feederと呼ぶ)を備えている。ADFによって給送されるシートは、イメージセンサによって画像情報を読み取られた後、排出トレイ等のシート積載部に積載される。特許文献1には、シートが排出される排出トレイと、排出トレイから引き出し可能な延長トレイと、延長トレイに回動可能に支持される回動トレイと、を有する複合機のシート排出部が記載されている。
【先行技術文献】
【特許文献】
【0003】
特開2015-67448号公報
【発明の概要】
【発明が解決しようとする課題】
【0004】
シート排出方向へのシートの移動を規制するように起立した位置と、シート排出方向へのシートの移動を許容するように下方に退避した位置と、の間で回動可能な回動部材を設けることが検討された。回動部材を設けるにあたり、回動部材によりシートの移動を規制しない場合に回動部材がシートの移動をより妨げにくくすることが求められていた。
【0005】
本発明は、回動部材によりシートの移動を規制しない場合に回動部材がシートの移動をより妨げにくい画像読取装置及び画像形成装置を提供することを目的とする。
【課題を解決するための手段】
【0006】
本発明の一態様は、シートが積載される給送トレイと、前記給送トレイに積載されたシートを搬送する搬送手段と、前記搬送手段により搬送されるシートの画像を読み取る読取手段と、前記読取手段により読み取られたシートをシート排出方向に排出する排出手段と、前記排出手段によって排出されたシートが積載されるシート積載部と、を備えた画像読取装置であって、前記シート積載部は、鉛直方向において上側から見たときに前記給送トレイと重なるように前記給送トレイの下方に配置され、前記排出手段によって排出されたシートを支持する排出トレイと、前記排出トレイに対して前記シート排出方向に移動可能、且つ、回動軸を中心に回動可能に設けられた回動部材であって、前記排出トレイに対して起立して、前記排出手段によって排出されるシートの前記シート排出方向への移動を規制する第1位置と、前記第1位置に比べて下方に退避した第2位置との間で回動する回動部材と、前記排出トレイの上面に前記シート排出方向に延びるように設けられ、前記シート排出方向に直交する幅方向において前記回動部材の両側に配置されたリブと、を有し、前記回動部材は、前記第1位置に位置するときに前記排出手段によって排出されるシートの先端が当接する当接部を有し、前記当接部は、前記回動部材が前記シート排出方向に移動可能な範囲の最も上流側で前記第2位置に位置する状態において、前記回動部材の上面に位置し、且つ、前記幅方向から見て前記リブの上面よりも下方に位置する、ことを特徴とする画像読取装置である。
【発明の効果】
【0007】
本発明によれば、回動部材によりシートの移動を規制しない場合に回動部材がシートの移動をより妨げにくい。
【図面の簡単な説明】
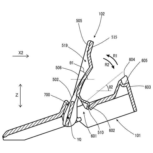
【0008】
実施例1に係る画像形成装置の概略図。
実施例1に係る画像読取装置の斜視図。
実施例1に係る画像読取装置の断面図。
実施例1に係る揺動ガイドを備えた排出トレイの斜視図。
実施例1に係る揺動ガイドの斜視図(a、b)。
実施例1に係る延長トレイの斜視図。
実施例1に係る揺動ガイド及び延長トレイの断面図。
実施例1に係る揺動ガイドの組み付け方法を説明するための図(a、b)。
実施例1に係る揺動ガイド及び延長トレイが取り得る状態について説明するための図(a、b)。
実施例1に係る揺動ガイド及び延長トレイが取り得る状態について説明するための図(a、b)。
実施例1に係る揺動ガイドと給送トレイとの位置関係を説明するための図。
実施例2に係る揺動ガイドの斜視図(a、b)。
実施例2に係る延長トレイの斜視図。
実施例2に係る揺動ガイド及び延長トレイの斜視図。
【発明を実施するための形態】
【0009】
以下、本発明を実施するための例示的な形態について、図面を参照しながら説明する。
【実施例】
【0010】
実施例1に係るシート排出装置を備えた画像読取装置及びこの画像読取装置を備えた画像形成装置について説明する。図1は本実施例の画像読取装置201を備えた画像形成装置200の概略図である。
(【0011】以降は省略されています)
この特許をJ-PlatPat(特許庁公式サイト)で参照する
関連特許
他の特許を見る