TOP
|
特許
|
意匠
|
商標
特許ウォッチ
Twitter
他の特許を見る
10個以上の画像は省略されています。
公開番号
2025096292
公報種別
公開特許公報(A)
公開日
2025-06-26
出願番号
2025049020,2020201257
出願日
2025-03-24,2020-12-03
発明の名称
情報処理装置、およびアプリケーション
出願人
キヤノン株式会社
代理人
個人
,
個人
,
個人
,
個人
,
個人
主分類
G06F
3/12 20060101AFI20250619BHJP(計算;計数)
要約
【課題】 本明細書に記載の情報処理装置は、クラウドプリントサーバに登録されたプリンターの構成情報が変わった場合に、クライアント端末に記憶される構成情報を更新することができるようにすることを目的とする。
【解決手段】 本明細書に記載の情報処理装置は、クラウドプリントサーバーシステムから印刷装置の構成情報を取得する取得手段と、取得した構成情報を記憶する記憶手段と、前記記憶手段に記憶された構成情報に基づき、印刷設定画面を表示手段に表示する制御手段と、前記記憶手段に構成情報が記憶されている状態で、構成情報の取得要求を送信する送信手段と、送信された前記取得要求に基づき取得された構成情報を用いて前記記憶手段に記憶されている前記構成情報を更新する更新手段と、を有することを特徴とする。
【選択図】 図7
特許請求の範囲
【請求項1】
印刷装置に印刷データを送信するクラウドプリントサーバーシステムに前記印刷データを送信する情報処理装置であって、
前記クラウドプリントサーバーシステムから前記印刷装置の構成情報を取得する取得手段と、
取得した前記印刷装置の構成情報を記憶する記憶手段と、
前記記憶手段に記憶された構成情報に基づき、印刷設定画面を表示手段に表示する制御手段と、
前記記憶手段に構成情報が記憶されている状態で、前記クラウドプリントサーバーシステムに構成情報の取得要求を送信する送信手段と、
送信された前記取得要求に基づき取得された構成情報を用いて前記記憶手段に記憶されている前記構成情報を更新する更新手段と、
を有することを特徴とする情報処理装置。
発明の詳細な説明
【技術分野】
【0001】
本発明は、情報処理装置および情報処理装置にて動作するアプリケーションに関する。
続きを表示(約 2,400 文字)
【背景技術】
【0002】
クライアント端末からクラウドサーバを経由して、印刷データをプリンターに送信する系が知られている。上記の系において、ユーザーはクライアント端末にインストールされたプリンタドライバーを操作して印刷設定を行い、印刷指示を行う。クライアント端末にインストールされたプリンタドライバーは、画像データと印刷設定に基づく印刷データをクラウドサーバに送信する。クラウドサーバが、受信した印刷データをプリンターに送信することで印刷を行うことができる。
【0003】
特許文献1では、クラウドサーバ上に仮想のプリンタキューを作り、当該仮想のプリンタキューを経由した印刷が記載されている。
【先行技術文献】
【特許文献】
【0004】
特開2013-238924号公報
【発明の概要】
【発明が解決しようとする課題】
【0005】
クラウドプリントサーバを利用する際には、クラウドプリントサーバ上の仮想キューに印刷データを送信するための印刷キューをクライアント端末に用意することが必要となる。クライアント端末は、クラウドプリントサービスからプリンターの構成情報や、クラウドプリントサービス上の仮想キューの情報を取得し、クラウドプリントサービスの仮想キューへの印刷データを送信する印刷キューを生成する。クライアント端末は印刷キュー生成時に取得したプリンターの構成情報や能力情報を使って印刷設定画面の表示を行う。
【0006】
クライアント端末は、印刷キュー生成時に取得した構成情報を利用する。そのため、プリンターに新しいフィニッシャーが接続されるなど、プリンターの実際の構成が変化しても、クライアント端末の構成情報が更新されず、新しく接続されたフィニッシャーを利用する印刷設定画面を表示することができない。
【0007】
本願に記載の情報処理装置は、上記の課題を鑑み、クラウドプリントサーバに登録されたプリンターの構成情報が変わった場合に、クライアント端末に記憶される構成情報を更新することができるようにすることを目的とする。
【課題を解決するための手段】
【0008】
本明細書に記載の情報処理装置は、印刷装置に印刷データを送信するクラウドプリントサーバーシステムに前記印刷データを送信する情報処理装置であって、前記クラウドプリントサーバーシステムから前記印刷装置の構成情報を取得する取得手段と、取得した前記印刷装置の構成情報を記憶する記憶手段と、前記記憶手段に記憶された構成情報に基づき、印刷設定画面を表示手段に表示する制御手段と、前記記憶手段に構成情報が記憶されている状態で、前記クラウドプリントサーバーシステムに構成情報の取得要求を送信する送信手段と、送信された前記取得要求に基づき取得された構成情報を用いて前記記憶手段に記憶されている前記構成情報を更新する更新手段と、を有することを特徴とする。
【発明の効果】
【0009】
本願に記載の情報処理装置は、上記の課題を鑑み、クラウドプリントサーバに登録されたプリンターの構成情報が変わった場合に、クライアント端末に記憶される構成情報を更新することができるようにすることができる。
【図面の簡単な説明】
【0010】
実施形態におけるシステム構成の一例を示す図である。
実施形態におけるクライアントコンピューターの構成の一例を示す図である。
実施形態におけるクラウドプリントサービス500のソフトウェア構成の一例を示す図である。
実施形態における印刷設定拡張アプリ300のソフトウェア構成の一例を示す図である。
実施形態に記載のクラウドプリント対応プリンター200のハードウェア構成の一例を示す図である。
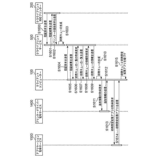
実施形態におけるクラウドプリント対応プリンター200をクラウドプリントサービス500に登録するシーケンスの一例を示す図である。
実施形形態1において、クライアントコンピューター100が記憶する構成情報を更新すうシーケンスの一例を示す図である。
実施形態において、クラウドプリントサービスに登録されるプリンタキューの情報を示すテーブルの一例を示す図である。
実施形態において、構成情報が更新された後のプリンタキューの情報を示すテーブルの一例を示す図である。
実施形態において、クライアントコンピューター100に表示される印刷設定画面の一例を示す図である。
実施形態において、クライアントコンピューター100に表示される拡張印刷設定画面の一例を示す図である。
実施形態において、クライアントコンピューター100に表示される構成情報更新のためのメッセージ表示の一例を示す図である。
実施形態において、クライアントコンピューター100に表示される構成情報の更新後の拡張印刷設定画面の一例を示す図である。
実施形態1において、クライアントコンピューター100で実行される処理の一例を示すフローチャートである。
実施形態2において、クライアントコンピューター100に記憶される構成情報を更新するための処理のシーケンスの一例を示す図である。
実施形態3において、クライアントコンピューター100に記憶されている構成情報を更新するための処理のシーケンスの一例を示す図である。
実施形態1において、クラウドプリントサービス500が管理するプリンタキューの情報の一例を示す情報である。
実施形態1において、更新後のプリンタキューの情報の一例を示す図である。
【発明を実施するための形態】
(【0011】以降は省略されています)
この特許をJ-PlatPat(特許庁公式サイト)で参照する
関連特許
他の特許を見る