TOP
|
特許
|
意匠
|
商標
特許ウォッチ
Twitter
他の特許を見る
10個以上の画像は省略されています。
公開番号
2025095941
公報種別
公開特許公報(A)
公開日
2025-06-26
出願番号
2023212343
出願日
2023-12-15
発明の名称
軸支ブラケットの設置構造及びその施工方法
出願人
文化シヤッター株式会社
代理人
弁理士法人英知国際特許商標事務所
主分類
E06B
9/17 20060101AFI20250619BHJP(戸,窓,シャッタまたはローラブラインド一般;はしご)
要約
【課題】 施工性に優れた軸支ブラケットの設置構造及びその施工方法を提供することを課題とする。
【解決手段】 躯体に固定される支持体30を備え、支持体30は、水平方向に延びる横枠材32と、横枠材32の左右の端部に連結された上下方向に延びる左右一対の縦枠材33と、を有し、縦枠材33は、横断面形状が略矩形状をなし、縦枠材の前面部33aには、軸支ブラケット50が取り付け固定され、前面部33aと直交する縦枠材33の外側面部33bには、軸支ブラケット50の取付作業用の作業孔33b1が形成されている。
【選択図】 図8
特許請求の範囲
【請求項1】
躯体の開口部を開閉する開閉体と、前記開閉体が巻装される巻取軸と、前記巻取軸を回転自在に支持する左右一対の軸支ブラケットとを備えた開閉装置における軸支ブラケットの設置構造において、
前記躯体に固定される支持体を備え、
前記支持体は、水平方向に延びる横枠材と、前記横枠材の左右の端部に連結された上下方向に延びる左右一対の縦枠材と、を有し、
前記縦枠材は、横断面形状が略矩形状をなし、
前記縦枠材の前面部には、前記軸支ブラケットが取り付け固定され、
前記前面部と直交する前記縦枠材の外側面部には、前記軸支ブラケットの取付作業用の作業孔が形成されている
ことを特徴とする軸支ブラケットの設置構造。
続きを表示(約 930 文字)
【請求項2】
前記軸支ブラケットは、前記縦枠材の前記前面部に取り付け固定される取付部を有するとともに、当該取付部には、上下方向に所定間隔離隔して複数の挿通孔が形成され、
前記作業孔は、前記複数の各挿通孔における固定部材の締結作業を可能とするように、前記各挿通孔に対応して上下方向に所定間隔離隔して複数配置されている
ことを特徴とする請求項1に記載の軸支ブラケットの設置構造。
【請求項3】
前記複数の前記作業孔は、上下に隣接する各作業孔同士が見込み方向にずれるように配置されている
ことを特徴とする請求項2に記載の軸支ブラケットの設置構造。
【請求項4】
前記複数の前記挿通孔は、前記取付部の上側に形成された上側挿通孔と、前記取付部の中央に形成された中央挿通孔と、前記取付部の下側に形成された下側挿通孔とを有するとともに、前記複数の前記作業孔は、前記上側挿通孔、前記中央挿通孔及び前記下側挿通孔のそれぞれに対応する、上側作業孔、中央作業孔及び下側作業孔を有し、
前記中央作業孔は、前記外側面部における見込み方向中央位置よりも前記前面部寄りの位置に形成され、
前記上側作業孔及び前記下側作業孔は、前記中央作業孔に対して見込み方向後面部側にずれるように位置して形成されている
ことを特徴とする請求項3に記載の軸支ブラケットの設置構造。
【請求項5】
請求項1に記載の軸支ブラケットの設置構造における施工方法であって、
前記縦枠材の前記前面部に、前記軸支ブラケットを仮配置する工程であって、前記軸支ブラケットに形成された挿通孔と、前記前面部に形成された貫通孔とに固定部材をなすボルトの軸部を挿通させて前記軸支ブラケットを前記縦枠材に仮配置する工程と、
前記縦枠材の前記外側面部に形成された前記作業孔に、前記固定部材をなすナット及び前記ナットを支持する工具を挿入し、前記ボルトと前記ナットとを組み付けた状態で締め付けて前記縦枠材に前記軸支ブラケットを固定する工程と、
を含むことを特徴とする軸支ブラケットの設置構造における施工方法。
発明の詳細な説明
【技術分野】
【0001】
本発明は、軸支ブラケットの設置構造及びその施工方法に関するものである。
続きを表示(約 2,100 文字)
【背景技術】
【0002】
従来の開閉装置として、例えば、特許文献1に記載されているように、建物躯体にボルト等の結合具で左右のブラケットが配置され、これらのブラケットに巻取軸の軸方向の両端部が回転自在に支持されている開閉装置が知られている。
【先行技術文献】
【特許文献】
【0003】
特開2010-189913号公報
【発明の概要】
【発明が解決しようとする課題】
【0004】
上記特許文献1に記載の開閉装置は、シャッターカーテンを巻き取り、繰り出すための巻取軸を備え、この巻取軸の軸方向の両端部に設けられた軸部は、軸受け部材を介して左右のブラケットに回転自在に支持されている。
ところで、近年、例えば鉄骨製等の頑強な支持体を木造等からなる躯体に固定して建物躯体を補強するとともに、この支持体に対し開閉装置のブラケットを止着することもあるが、支持体にブラケットを取り付け固定する場合、その取付作業に時間と手間がかかることもあり、改善の余地があった。
【0005】
本発明は、上述の事情に鑑みてなされたものであって、施工性に優れた軸支ブラケットの設置構造及びその施工方法を提供することを課題とする。
【課題を解決するための手段】
【0006】
このような課題に鑑みて、本発明の一つは、以下の構成を具備するものである。
躯体の開口部を開閉する開閉体と、前記開閉体が巻装される巻取軸と、前記巻取軸を回転自在に支持する左右一対の軸支ブラケットとを備えた開閉装置における軸支ブラケットの設置構造において、前記躯体に固定される支持体を備え、前記支持体は、水平方向に延びる横枠材と、前記横枠材の左右の端部に連結された上下方向に延びる左右一対の縦枠材と、を有し、前記縦枠材は、横断面形状が略矩形状をなし、前記縦枠材の前面部には、前記軸支ブラケットが取り付け固定され、前記前面部と直交する前記縦枠材の外側面部には、前記軸支ブラケットの取付作業用の作業孔が形成されていることを特徴とする軸支ブラケットの設置構造。
【発明の効果】
【0007】
本発明は、以上説明したように構成されているので、軸支ブラケットを容易かつ簡単に設置することができる。
【図面の簡単な説明】
【0008】
本発明に係る開閉装置の一例を示す概略正面図である。
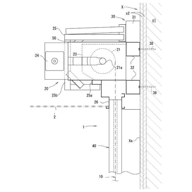
図1の(II)-(II)線に沿う概略縦断面図である。
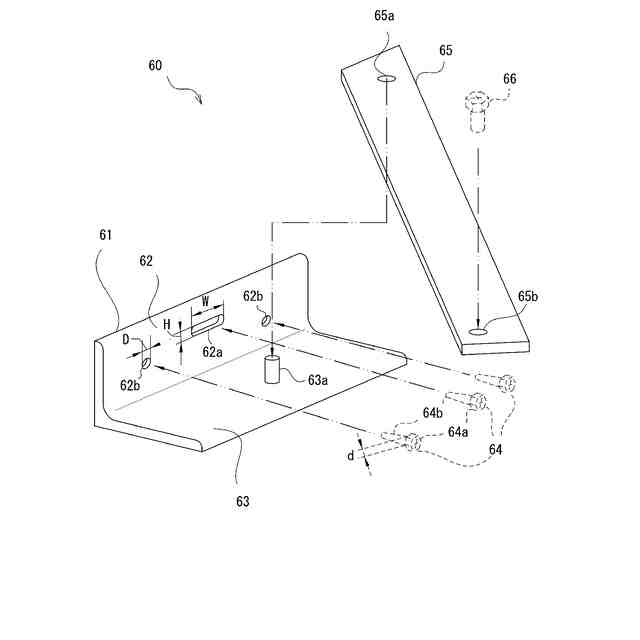
本発明に係る軸支ブラケットの振れ止め構造体を設置した設置態様の一例を示す概略斜視図である。
図4(a)は、本発明に係る支持体の一例を示す概略斜視図であり、図4(b)は、同支持体を構成する縦枠材の概略側面図である。
本発明に係る軸支ブラケットの一例を示す概略斜視図である。
図6(a)は、同軸支ブラケットの概略側面図であり、図6(b)は、同軸支ブラケットの概略平面図であり、図6(c)は、同軸支ブラケットの概略正面図である。
本発明に係る振れ止め構造体の一例(分解状態)を示す概略斜視図である。
本発明に係る軸支ブラケットの設置工程を示す説明図である。
本発明に係る振れ止め構造体の設置工程を示す説明図である。
本発明に係る振れ止め構造体の設置工程を示す説明図である。
【発明を実施するための形態】
【0009】
(実施形態)
次に、本発明に係る実施形態について、図面に基づいて詳細に説明する。
本明細書中、「開閉体幅方向」とは、開閉体の開閉方向と略直交する方向(図1の左右方向)であって、開閉体の厚さ方向ではない方向を意味し、「見付け方向」と同方向である。また、「見込み方向」とは、「見付け方向」に略直交する開閉体の厚さ方向(図2の左右方向)を意味する。
「開閉体幅方向内側」とは、開閉体幅方向に沿って開閉体の内側へ向かう方向側を意味し、「左右方向内側」と称することもある。例えば、図1における向かって左側のガイドレール40を基準にすると、開閉体幅方向内側(左右方向内側)は、右方向側になる。また、「開閉体幅方向外側」とは、開閉体幅方向に沿って開閉体の外側へ向かう方向側を意味し、「左右方向外側」と称することもある。例えば、図1における向かって左側のガイドレール40を基準にすると、開閉体幅方向外側(左右方向外側)は、左方向側になる。
【0010】
先ず、本発明に係る開閉装置の全体構成について説明する。図1は、本発明に係る開閉装置の一例を示す概略正面図である。図2は、図1の(II)-(II)線に沿う概略縦断面図である。図3は、本発明に係る軸支ブラケットの振れ止め構造体の設置態様の一例を示す概略斜視図である。
開閉装置1は、空間を仕切るようにして閉鎖動作する開閉体10と、開閉体10を閉鎖方向へ繰り出したり開放方向へ収納したりする収納部20と、開閉体10を閉鎖方向及び開放方向へ案内するガイドレール40とを備える。
(【0011】以降は省略されています)
この特許をJ-PlatPat(特許庁公式サイト)で参照する
関連特許
他の特許を見る